Качественные детали и логистика
Оригинальные и аналоговые запчасти с доставкой по России, Казахстану и Беларуси
©2022 PartSell ООО "Система" ИНН 2463123282 ОГРН 1212400004838
Центральный офис: г. Красноярск, Академика Киренского, д.87, пом.4
Телефон: 8 (800) 777-65-74 Email: zakaz@partsell.ru
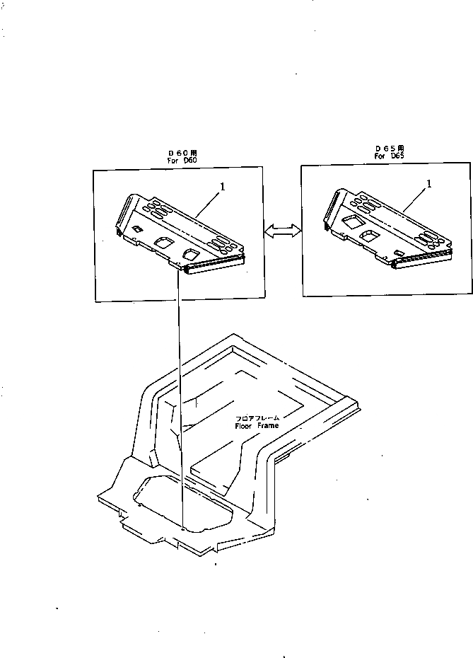
ПОКРЫТИЕ ПОЛА(С КАБИНОЙ)
№
Артикул
Название
Примечание
Количество
1
14X-54-16811
MAT,(D60)
SN: 60884-UP
1шт.
14X-54-16821
MAT,(D65E,P,EX,PX)
SN: 60884-65000
Выбрано товаров: 0