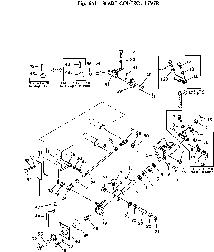
Запчасти Komatsu D65P-7 РЫЧАГ УПРАВЛЕНИЯ ОТВАЛОМ УПРАВЛ-Е РАБОЧИМ ОБОРУДОВАНИЕМ

Схема запчастей Komatsu D65P-7 - РЫЧАГ УПРАВЛЕНИЯ ОТВАЛОМ УПРАВЛ-Е РАБОЧИМ ОБОРУДОВАНИЕМ
FIT
1:1
100%

Артикул

Название

Примечание

Количество

1

144-43-16630

SHAFT

SN: 40001-UP

1шт.

2

01306-00616

SCREW

SN: 40001-UP

1шт.

3

04059-01012

WIRE

SN: 40001-UP

1шт.

4

144-43-16621

BRACKET

SN: 40001-UP

1шт.

5

06120-02016

BEARING

SN: 40001-UP

2шт.

6

06122-02004

SEAL

SN: 40001-UP

2шт.

7

07020-00900

FITTING

SN: 40001-UP

1шт.

8

01010-51230

BOLT

SN: 40001-UP

4шт.

9

01602-21236

WASHER

SN: 40001-UP

4шт.

10

144-43-16670

BRACKET,(FOR ANGLE DOZER)

SN: 40001-UP

1шт.

10

144-43-16640

LEVER,(FOR STRAIGHT TILT DOZER)

SN: 40001-UP

1шт.

11

04010-00519

KEY

SN: 40001-UP

1шт.

12

01010-50830

BOLT

SN: 40001-UP

1шт.

13

01602-20825

WASHER

SN: 40001-UP

1шт.

13A

01010-51020

BOLT

SN: 40001-UP

2шт.

13B

01602-21030

WASHER

SN: 40001-UP

2шт.

14

04250-41056

END,(FOR STRAIGHT TILT DOZER)

SN: 40001-UP

1шт.

15

04252-01061

END,(FOR STRAIGHT TILT DOZER)

SN: 40001-UP

1шт.

16

01582-11008

NUT,(FOR STRAIGHT TILT DOZER)

SN: 40001-UP

1шт.

17

01593-11008

NUT,(FOR STRAIGHT TILT DOZER)

SN: 40001-UP

2шт.

18

04050-12018

PIN,(FOR STRAIGHT TILT DOZER)

SN: 40001-UP

2шт.

19

144-43-16610

LEVER

SN: 40001-UP

1шт.

20

06120-01612

BEARING

SN: 40001-UP

2шт.

21

06122-01603

SEAL

SN: 40001-UP

2шт.

22

135-43-11171

SHAFT

SN: 40001-UP

1шт.

23

07020-00900

FITTING

SN: 40001-UP

1шт.

24

04250-41056

END

SN: 40001-UP

1шт.

25

04250-61056

END,L.H. THREAD

SN: 40001-UP

1шт.

26

04248-31032

ROD

SN: 40001-UP

1шт.

27

01582-11008

NUT

SN: 40001-UP

1шт.

28

01508-21006

NUT,L.H. THREAD

SN: 40001-UP

1шт.

29

01593-11008

NUT

SN: 40001-UP

2шт.

30

04050-12018

PIN

SN: 40001-UP

2шт.

31

144-43-16650

BRACKET

SN: 40001-UP

1шт.

32

01010-51025

BOLT

SN: 40001-UP

2шт.

33

01602-21030

WASHER

SN: 40001-UP

2шт.

34

131-60-42160

SPRING

SN: 40001-UP

1шт.

35

04260-01270

BALL

SN: 40001-UP

1шт.

36

120-43-37261

LEVER

SN: 40001-UP

1шт.

37

01010-50655

BOLT

SN: 40001-UP

1шт.

38

01602-20619

WASHER

SN: 40001-UP

1шт.

39

144-43-16660

SHAFT

SN: 40001-UP

1шт.

40

04205-10822

PIN

SN: 40001-UP

1шт.

41

04050-12012

PIN

SN: 40001-UP

1шт.

42

04025-00432

PIN

SN: 40001-UP

1шт.

43

125-43-34521

NOTCH,(FOR ANGLE AND STRAIGHT DOZER)

SN: 40001-UP

1шт.

43

120-43-37251

NOTCH,(FOR STRAIGHT TILT DOZER)

SN: 40001-UP

1шт.

44

144-43-16680

LEVER

SN: 40001-UP

1шт.

45

130-43-62140

COVER

SN: 40001-UP

1шт.

46

09340-10130

SPRING

SN: 40001-UP

1шт.

47

09304-01250

KNOB

SN: 40001-UP

1шт.

48

120-43-37292

COVER

SN: 40001-UP

1шт.

49

01010-50820

BOLT

SN: 40001-UP

4шт.

50

01602-20825

WASHER

SN: 40001-UP

4шт.

51

120-54-33272

COVER

SN: 40001-UP

1шт.

52

01010-50816

BOLT

SN: 40001-UP

2шт.

53

01602-20825

WASHER

SN: 40001-UP

2шт.

54

01640-20816

WASHER

SN: 40001-UP

2шт.

55

01010-50620

BOLT

SN: 40001-UP

4шт.

56

01602-20619

WASHER

SN: 40001-UP

4шт.

Выбрано товаров: 60