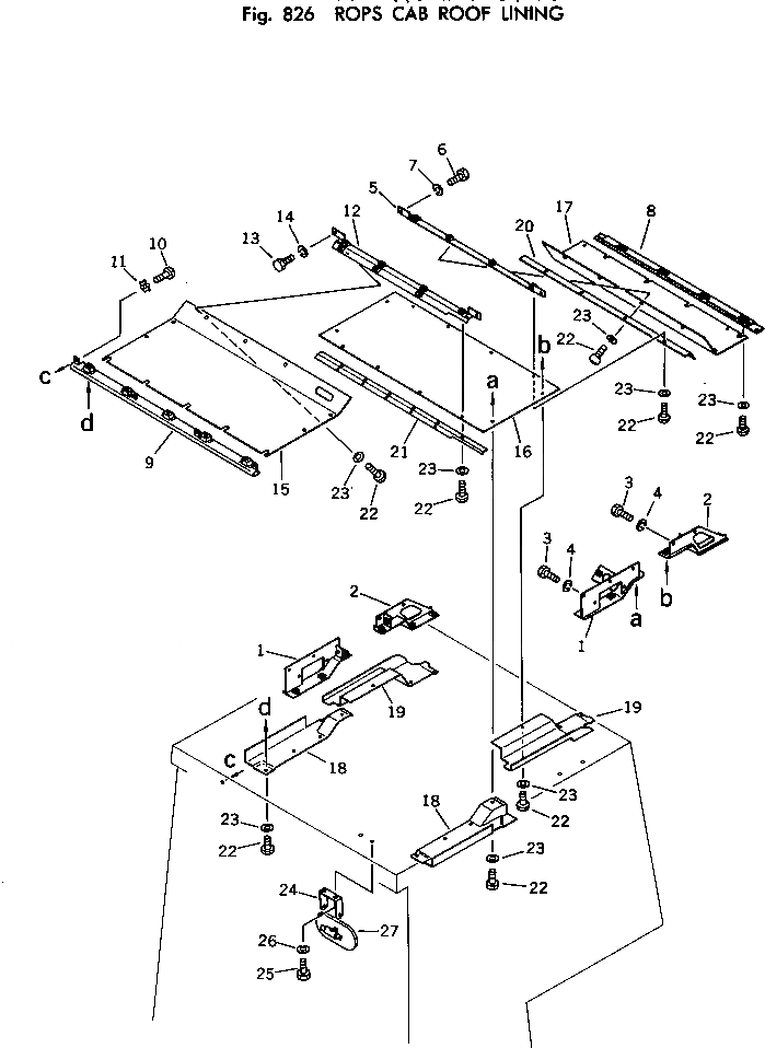
Запчасти Komatsu D65P-7 КАБИНА ROPS КРЫША LINING ОПЦИОННЫЕ КОМПОНЕНТЫ

Схема запчастей Komatsu D65P-7 - КАБИНА ROPS КРЫША LINING ОПЦИОННЫЕ КОМПОНЕНТЫ
FIT
1:1
100%

Артикул

Название

Примечание

Количество

1

120-Y79-5410

FRAME,L.H.

SN: 40001-UP

1шт.

1

120-Y79-5420

FRAME,R.H.

SN: 40001-UP

1шт.

2

120-Y79-5430

FRAME,L.H.

SN: 40001-UP

1шт.

2

120-Y79-5440

FRAME,R.H.

SN: 40001-UP

1шт.

3

01010-31025

BOLT

SN: 40001-UP

10шт.

4

01602-01030

WASHER

SN: 40001-UP

10шт.

5

120-Y79-5450

FRAME

SN: 40001-UP

1шт.

6

01010-31025

BOLT

SN: 40001-UP

2шт.

7

01602-01030

WASHER

SN: 40001-UP

2шт.

8

120-Y79-5680

FRAME

SN: 40001-UP

1шт.

9

120-Y79-5470

FRAME

SN: 40001-UP

1шт.

10

01220-40610

SCREW

SN: 40001-UP

4шт.

11

01611-06063

WASHER

SN: 40001-UP

4шт.

12

120-Y79-5650

FRAME

SN: 40001-UP

1шт.

13

01010-31025

BOLT

SN: 40001-UP

2шт.

14

01602-01030

WASHER

SN: 40001-UP

2шт.

15

120-Y79-5480

LINING

SN: 40001-UP

1шт.

16

120-Y79-5510

LINING

SN: 40001-UP

1шт.

17

120-Y79-5520

LINING

SN: 40001-UP

1шт.

18

120-Y79-5530

COVER,L.H.

SN: 40001-UP

1шт.

18

120-Y79-5550

COVER,R.H.

SN: 40001-UP

1шт.

19

120-Y79-5570

COVER,L.H.

SN: 40001-UP

1шт.

19

120-Y79-5590

COVER,R.H.

SN: 40001-UP

1шт.

20

120-Y79-5620

PLATE

SN: 40001-UP

1шт.

21

120-Y79-5660

PLATE

SN: 40001-UP

1шт.

22

01220-40620

SCREW

SN: 40001-UP

35шт.

23

144-873-8190

WASHER

SN: 40001-UP

35шт.

24

120-Y79-5370

BRACKET

SN: 40001-UP

1шт.

25

01010-31016

BOLT

SN: 40001-UP

2шт.

26

01602-01030

WASHER

SN: 40001-UP

2шт.

27

08174-13116

MIRROR

SN: 40001-UP

1шт.

Выбрано товаров: 31