Запчасти Komatsu D65P-7 СИСТЕМА ТРУБ РАДИАТОРА И COVER(№7-) КОМПОНЕНТЫ ДВИГАТЕЛЯ И ЭЛЕКТРИКА

Схема запчастей Komatsu D65P-7 - СИСТЕМА ТРУБ РАДИАТОРА И COVER(№7-) КОМПОНЕНТЫ ДВИГАТЕЛЯ И ЭЛЕКТРИКА
FIT
1:1
100%

Артикул

Название

Примечание

Количество

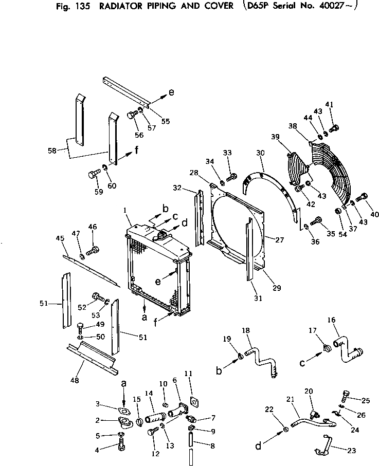
1

144-03-00301

RADIATOR ASS'Y

SN: 40001-UP

1шт.

2

144-03-15391

TUBE

SN: 40001-UP

1шт.

3

144-03-12170

PACKING

SN: 40001-UP

1шт.

4

01010-51235

BOLT

SN: 40001-UP

2шт.

5

01602-21236

WASHER

SN: 40001-UP

2шт.

6

144-03-15381

TUBE

SN: 40001-UP

1шт.

7

07730-30004

VALVE

SN: 40001-UP

1шт.

8

07270-01530

TUBE

SN: 40001-UP

1шт.

8

07270-31530

TUBE,(FOR COLD WEATHER)

SN: 40001-UP

1шт.

9

07281-00197

CLAMP

SN: 40001-UP

1шт.

10

07043-00415

PLUG

SN: 40001-UP

1шт.

11

144-03-12160

PACKING

SN: 40001-UP

1шт.

12

01010-31030

BOLT

SN: 40001-UP

4шт.

13

01602-01030

WASHER

SN: 40001-UP

4шт.

14

144-03-15430

HOSE

SN: 40001-UP

1шт.

15

07281-00809

CLAMP

SN: 40001-UP

2шт.

16

144-03-15360

HOSE

SN: 40001-UP

1шт.

17

07281-00809

CLAMP

SN: 40001-UP

2шт.

18

144-03-15420

HOSE

SN: 40001-UP

1шт.

19

07281-00419

CLAMP

SN: 40001-UP

2шт.

20

6631-11-6231

ELBOW

SN: 40001-UP

1шт.

21

07261-20910

HOSE

SN: 40001-UP

1шт.

22

07280-01920

CLAMP

SN: 40001-UP

2шт.

23

144-03-12211

BRACKET

SN: 40001-UP

1шт.

24

141-03-13380

CLIP

SN: 40001-UP

1шт.

25

01010-31225

BOLT

SN: 40001-UP

1шт.

26

01602-01236

WASHER

SN: 40001-UP

1шт.

27

144-03-15270

SHROUD,UPPER

SN: 40001-UP

1шт.

28

144-03-15280

SHROUD,UPPER

SN: 40001-UP

1шт.

29

144-03-15220

SHROUD,LOWER

SN: 40001-UP

1шт.

30

144-03-15440

COVER,UPPER

SN: 40027-UP

1шт.

31

14G-03-11171

PLATE

SN: 40001-UP

1шт.

32

14G-03-11181

PLATE

SN: 40001-UP

1шт.

33

01010-51230

BOLT

SN: 40027-UP

10шт.

34

01602-21236

WASHER

SN: 40027-UP

10шт.

35

01010-51240

BOLT

SN: 40027-UP

2шт.

36

01602-21236

WASHER

SN: 40027-UP

2шт.

37

144-03-15511

NET,L.H.

SN: 40001-UP

1шт.

38

144-03-15521

NET,CENTER

SN: 40027-UP

1шт.

39

144-03-15531

NET,R.H.

SN: 40001-UP

1шт.

40

01010-51030

BOLT

SN: 40027-UP

5шт.

41

01011-51020

BOLT

SN: 40027-UP

1шт.

42

01010-51020

BOLT

SN: 40001-UP

3шт.

43

01602-21030

WASHER

SN: 40001-UP

9шт.

44

01643-31232

WASHER

SN: 40027-UP

1шт.

45

144-03-15310

COVER

SN: 40001-UP

1шт.

46

01010-50820

BOLT

SN: 40001-UP

3шт.

47

01602-20825

WASHER

SN: 40001-UP

3шт.

48

14G-03-11190

COVER

SN: 40001-UP

1шт.

49

01010-50820

BOLT

SN: 40001-UP

3шт.

50

01602-20825

WASHER

SN: 40001-UP

3шт.

51

14G-03-11160

COVER

SN: 40001-UP

2шт.

52

01010-50820

BOLT

SN: 40001-UP

6шт.

53

01602-20825

WASHER

SN: 40001-UP

6шт.

54

6131-22-3760

BOSS

SN: 40027-UP

2шт.

55

144-03-16120

ANGLE

SN: 40027-UP

1шт.

56

01010-51025

BOLT

SN: 40027-UP

2шт.

57

01602-21030

WASHER

SN: 40027-UP

2шт.

58

144-03-16110

PLATE

SN: 40027-UP

2шт.

59

01010-51025

BOLT

SN: 40027-UP

8шт.

60

01602-21030

WASHER

SN: 40027-UP

8шт.

Выбрано товаров: 61