Запчасти Komatsu D65P-7 ТРУБКИ КОНДИЦИОНЕРА (/) ОПЦИОННЫЕ КОМПОНЕНТЫ

Схема запчастей Komatsu D65P-7 - ТРУБКИ КОНДИЦИОНЕРА (/) ОПЦИОННЫЕ КОМПОНЕНТЫ
FIT
1:1
100%

Артикул

Название

Примечание

Количество

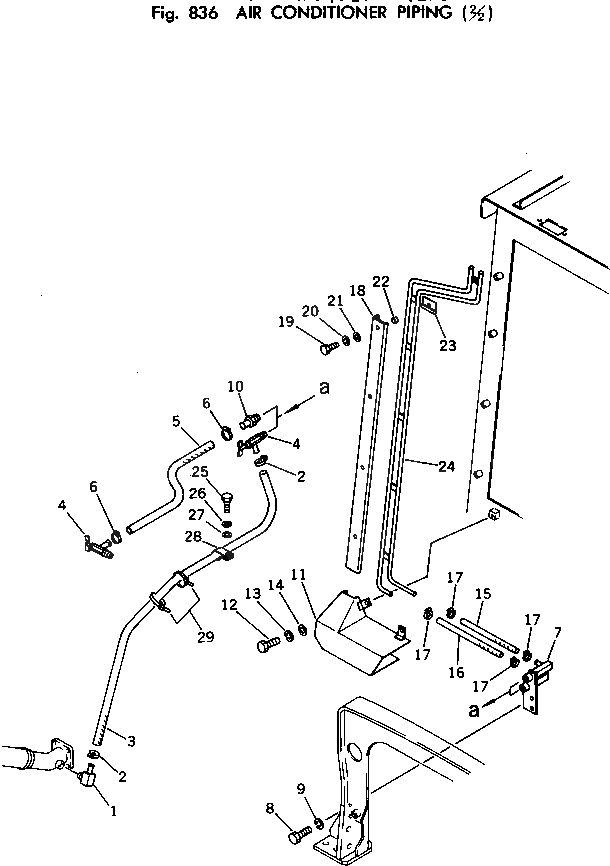
1

144-Z79-2490

TEE

SN: 40001-UP

1шт.

2

07281-00289

CLAMP

SN: 40001-UP

2шт.

3

09483-10522

HOSE

SN: 40001-UP

1шт.

4

09482-10000

VALVE

SN: 40001-UP

2шт.

5

09483-10507

HOSE

SN: 40001-UP

1шт.

6

07281-00289

CLAMP

SN: 40001-UP

2шт.

7

144-Z79-2510

BRACKET

SN: 40001-UP

1шт.

8

01010-51030

BOLT

SN: 40001-UP

2шт.

9

01602-21030

WASHER

SN: 40001-UP

2шт.

10

145-Z79-5610

JOINT

SN: 40001-UP

1шт.

11

144-Z79-2520

COVER

SN: 40001-UP

1шт.

12

01010-51020

BOLT

SN: 40001-UP

3шт.

13

01602-21030

WASHER

SN: 40001-UP

3шт.

14

01643-31032

WASHER

SN: 40001-UP

3шт.

15

09483-00503

HOSE

SN: 40001-UP

1шт.

16

09483-00502

HOSE

SN: 40001-UP

1шт.

17

07281-00289

CLAMP

SN: 40001-UP

4шт.

18

144-Z79-2530

COVER

SN: 40001-UP

1шт.

19

01010-50820

BOLT

SN: 40001-UP

4шт.

20

01602-20825

WASHER

SN: 40001-UP

4шт.

21

01643-30823

WASHER

SN: 40001-UP

4шт.

22

120-Y79-6550

TUBE

SN: 40001-UP

4шт.

23

120-Y79-6660

SHEET

SN: 40001-UP

4шт.

24

144-Z79-2540

TUBE

SN: 40001-UP

1шт.

25

01010-50820

BOLT

SN: 40001-UP

1шт.

26

01602-20825

WASHER

SN: 40001-UP

1шт.

27

01643-30823

WASHER

SN: 40001-UP

1шт.

28

08035-02510

CLIP

SN: 40001-UP

1шт.

29

08034-00519

BAND

SN: 40001-UP

2шт.

Выбрано товаров: 29