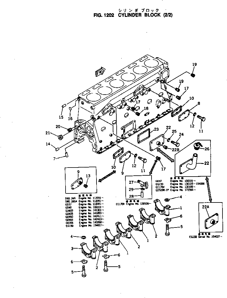
Запчасти Komatsu NH-220-CI-2KK БЛОК ЦИЛИНДРОВ (/) БЛОК ЦИЛИНДРОВ

Схема запчастей Komatsu NH-220-CI-2KK - БЛОК ЦИЛИНДРОВ (/) БЛОК ЦИЛИНДРОВ
FIT
1:1
100%

Артикул

Название

Примечание

Количество

|1

6643-21-1016

CYLINDER BLOCK A.

SN: 174428-UP

1шт.

|1

6643-21-1026

CYLINDER BLOCK A.

SN: 174428-UP

1шт.

1

6610-29-1210

CAP,MAIN METAL¤ NO.1¤3¤5

SN: 174428-UP

3шт.

|1

0

CAP,MAIN METAL¤ NO.1¤3¤5

SN: 174428-UP

3шт.

2

6610-29-1220

CAP,MAIN METAL¤ NO.2¤4¤6

SN: 174428-UP

3шт.

|2

0

CAP,MAIN METAL¤ NO.2¤4¤6

SN: 174428-UP

3шт.

3

6610-29-1231

CAP,MAIN METAL¤ NO.7

SN: 174428-UP

1шт.

|3

0

CAP,MAIN METAL¤ NO.7

SN: 174428-UP

1шт.

4

6610-21-1730

RING,DOWEL

SN: 174428-UP

7шт.

5

6610-21-1710

BOLT

SN: 174428-UP

14шт.

6

6610-21-1720

WASHER,LOCK (K2)

SN: 174428-UP

14шт.

7

6610-21-1270

PIN,DOWEL¤ MAIN METAL CAP

SN: 174428-UP

2шт.

|7

6610-29-1270

PIN,DOWEL (SERVICE PARTS) (OS)

SN: 174428-UP

2шт.

8

6631-21-6720

COVER,WATER HEADER

SN: 174428-UP

1шт.

9

6693-22-6710

COVER,WATER HEADER

SN: 174428-UP

1шт.

10

6610-21-6720

GASKET (K2)

SN: 174428-UP

2шт.

11

02010-20419

BOLT

SN: 174428-UP

12шт.

12

02310-10916

WASHER,SPRING

SN: 174428-UP

12шт.

13

02720-20607

PLUG

SN: 174428-UP

1шт.

14

6610-21-4570

PIN,DOWEL¤ FLYWHEEL HOUSING

SN: 174428-UP

2шт.

15

6610-21-2770

PIN,STOPPER

SN: 174428-UP

1шт.

16

6710-21-6130

PLUG,EXPANSION

SN: 174428-UP

2шт.

17

02720-20607

PLUG,WATER HEADER

SN: 174428-UP

3шт.

18

02720-21214

PLUG

SN: 174428-UP

1шт.

19

02720-20810

PLUG

SN: 174428-UP

2шт.

20

02720-20607

PLUG

SN: 174428-UP

1шт.

21

6710-21-1260

PLUG,WATER HEADER

SN: 174428-UP

1шт.

22

6691-22-6760

COVER,HAND HOLE

SN: 174428-UP

1шт.

22B

02720-20607

PLUG,COVER

SN: 174428-UP

1шт.

23

6623-21-6770

GASKET (K2)

SN: 174428-UP

1шт.

24

02010-70625

BOLT

SN: 174428-UP

4шт.

25

02310-11224

WASHER,SPRING

SN: 174428-UP

4шт.

|1

6643-21-1016

CYLINDER BLOCK A.

SN: 174428-UP

1шт.

|1

6643-21-1026

CYLINDER BLOCK A.

SN: 174428-UP

1шт.

1

6610-29-1210

CAP,MAIN METAL¤ NO.1¤3¤5

SN: 174428-UP

3шт.

|1

0

CAP,MAIN METAL¤ NO.1¤3¤5

SN: 174428-UP

3шт.

2

6610-29-1220

CAP,MAIN METAL¤ NO.2¤4¤6

SN: 174428-UP

3шт.

|2

0

CAP,MAIN METAL¤ NO.2¤4¤6

SN: 174428-UP

3шт.

3

6610-29-1231

CAP,MAIN METAL¤ NO.7

SN: 174428-UP

1шт.

|3

0

CAP,MAIN METAL¤ NO.7

SN: 174428-UP

1шт.

4

6610-21-1730

RING,DOWEL

SN: 174428-UP

7шт.

5

6610-21-1710

BOLT

SN: 174428-UP

14шт.

6

6610-21-1720

WASHER,LOCK (K2)

SN: 174428-UP

14шт.

7

6610-21-1270

PIN,DOWEL¤ MAIN METAL CAP

SN: 174428-UP

2шт.

|7

6610-29-1270

PIN,DOWEL (SERVICE PARTS) (OS)

SN: 174428-UP

2шт.

8

6631-21-6720

COVER,WATER HEADER

SN: 174428-UP

1шт.

9

6693-22-6710

COVER,WATER HEADER

SN: 174428-UP

1шт.

10

6610-21-6720

GASKET (K2)

SN: 174428-UP

2шт.

11

02010-20419

BOLT

SN: 174428-UP

12шт.

12

02310-10916

WASHER,SPRING

SN: 174428-UP

12шт.

13

02720-20607

PLUG

SN: 174428-UP

1шт.

14

6610-21-4570

PIN,DOWEL¤ FLYWHEEL HOUSING

SN: 174428-UP

2шт.

15

6610-21-2770

PIN,STOPPER

SN: 174428-UP

1шт.

16

6710-21-6130

PLUG,EXPANSION

SN: 174428-UP

2шт.

17

02720-20607

PLUG,WATER HEADER

SN: 174428-UP

3шт.

18

02720-21214

PLUG

SN: 174428-UP

1шт.

19

02720-20810

PLUG

SN: 174428-UP

2шт.

20

02720-20607

PLUG

SN: 174428-UP

1шт.

21

6710-21-1260

PLUG,WATER HEADER

SN: 174428-UP

1шт.

22

6691-22-6760

COVER,HAND HOLE

SN: 174428-UP

1шт.

22B

02720-20607

PLUG,COVER

SN: 174428-UP

1шт.

23

6623-21-6770

GASKET (K2)

SN: 174428-UP

1шт.

24

02010-70625

BOLT

SN: 174428-UP

4шт.

25

02310-11224

WASHER,SPRING

SN: 174428-UP

4шт.

Выбрано товаров: 64