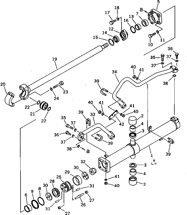
Запчасти Komatsu D65P-8 ЦИЛИНДР ПОДЪЕМА ОТВАЛА(№-8) УПРАВЛ-Е РАБОЧИМ ОБОРУДОВАНИЕМ

Схема запчастей Komatsu D65P-8 - ЦИЛИНДР ПОДЪЕМА ОТВАЛА(№-8) УПРАВЛ-Е РАБОЧИМ ОБОРУДОВАНИЕМ
FIT
1:1
100%

Артикул

Название

Примечание

Количество

|1

144-63-13503

CYLINDER ASS'Y,L.H.

SN: 45001-46181

1шт.

|1

144-63-13603

CYLINDER ASS'Y,R.H.

SN: 45001-46181

1шт.

1

144-817-8114

CYLINDER,L.H.

SN: 45001-46181

1шт.

|1

144-817-8124

CYLINDER,R.H.

SN: 45001-46181

1шт.

2

144-60-15431

BUSHING

SN: 45001-@

2шт.

3

07145-00055

SEAL,DUST

SN: 45001-@

2шт.

4

144-60-15450

BUSHING

SN: 45001-@

2шт.

5

144-63-12131

HEAD

SN: 45001-46181

1шт.

6

07177-06530

BUSHING

SN: 45001-46181

1шт.

7

707-51-65110

PACKING

SN: 45001-46181

1шт.

8

07000-12105

O-RING

SN: 45001-@

1шт.

9

07146-02106

RING,BACK-UP

SN: 45001-46181

1шт.

10

01010-52055

BOLT

SN: 45001-46181

4шт.

11

01602-22060

WASHER,SPRING

SN: 45001-46181

4шт.

12

144-63-12230

GLAND

SN: 45001-46181

1шт.

13

07177-06515

BUSHING

SN: 45001-46181

1шт.

14

144-63-92170

SEAL,DUST

SN: 45001-46181

1шт.

15

07179-00088

RING,SNAP

SN: 45001-46181

1шт.

16

07000-03078

O-RING

SN: 45001-46181

1шт.

17

01010-51450

BOLT

SN: 45001-46181

2шт.

18

01602-21442

WASHER,SPRING

SN: 45001-46181

2шт.

19

144-63-13320

ROD

SN: 45001-46181

1шт.

20

144-63-13370

CAP

SN: 45001-46181

1шт.

21

07137-04006

BUSHING

SN: 45001-@

1шт.

|21

07137-00040

SEAL,DUST

SN: 45001-@

2шт.

22

07000-03040

O-RING

SN: 45001-@

2шт.

23

01010-82085

BOLT

SN: 45001-@

4шт.

24

01602-22060

WASHER,SPRING

SN: 45001-@

4шт.

|25

144-63-13271

PISTON SUB ASS'Y

SN: 45001-46181

1шт.

25

0

PISTON

SN: 45001-46181

1шт.

26

0

VALVE

SN: 45001-46181

4шт.

27

0

SEAT

SN: 45001-46181

8шт.

28

707-44-11080

RING,PISTON

SN: 45001-46181

1шт.

29

07155-01125

RING,WEAR

SN: 45001-@

1шт.

30

144-63-13161

RETAINER

SN: 45001-46181

2шт.

31

130-63-12761

PIN

SN: 45001-46181

2шт.

32

144-63-12360

NUT

SN: 45001-46181

1шт.

33

144-63-13570

TUBE,L.H.

SN: 45001-46181

1шт.

|33

144-63-13670

TUBE,R.H.

SN: 45001-46181

1шт.

34

144-63-13580

TUBE,L.H.

SN: 45001-46181

1шт.

|34

144-63-13680

TUBE,R.H.

SN: 45001-46181

1шт.

35

01010-51055

BOLT

SN: 45001-46181

4шт.

36

01010-51050

BOLT

SN: 45001-46181

4шт.

37

01602-21030

WASHER,SPRING

SN: 45001-46181

8шт.

38

07000-13035

O-RING

SN: 45001-46181

2шт.

39

07283-13442

CLIP

SN: 45001-46181

4шт.

40

01599-01011

NUT

SN: 45001-46181

8шт.

41

01643-21032

WASHER

SN: 45001-46181

8шт.

42

144-817-8351

PLATE

SN: 45001-46181

1шт.

Выбрано товаров: 49