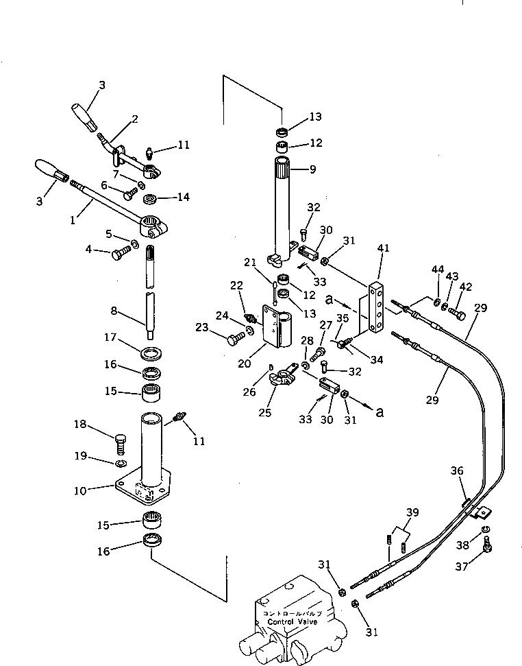
Запчасти Komatsu D65P-8 ГИДРАВЛ РЫЧАГ УПРАВЛ-Я (ДЛЯ ТЯГОВ. ЛЕБЕДКИ) УПРАВЛ-Е РАБОЧИМ ОБОРУДОВАНИЕМ

Схема запчастей Komatsu D65P-8 - ГИДРАВЛ РЫЧАГ УПРАВЛ-Я (ДЛЯ ТЯГОВ. ЛЕБЕДКИ) УПРАВЛ-Е РАБОЧИМ ОБОРУДОВАНИЕМ
FIT
1:1
100%

Артикул

Название

Примечание

Количество

1

144-916-7221

LEVER

SN: 45001-UP

1шт.

2

144-916-7132

LEVER

SN: 45001-UP

1шт.

3

09305-11400

KNOB

SN: 45001-UP

2шт.

4

01010-51245

BOLT

SN: 45001-UP

1шт.

5

01602-21236

WASHER,SPRING

SN: 45001-UP

1шт.

6

01010-50830

BOLT

SN: 45001-UP

1шт.

7

01602-20825

WASHER,SPRING

SN: 45001-UP

1шт.

8

144-916-7330

SHAFT

SN: 45001-UP

1шт.

9

144-916-7310

SHAFT

SN: 45001-UP

1шт.

10

144-916-7340

BRACKET

SN: 45001-UP

1шт.

11

07020-00000

FITTING,GREASE

SN: 45001-UP

2шт.

12

06120-02016

BEARING

SN: 45001-UP

2шт.

13

06122-02004

SEAL

SN: 45001-UP

2шт.

14

01643-32060

WASHER

SN: 45001-UP

1шт.

15

06120-03520

BEARING

SN: 45001-UP

2шт.

16

06122-03504

SEAL

SN: 45001-UP

2шт.

17

144-916-7190

WASHER

SN: 45001-UP

1шт.

18

01010-51230

BOLT

SN: 45001-UP

4шт.

19

01602-21236

WASHER,SPRING

SN: 45001-UP

4шт.

20

144-916-7112

BRACKET

SN: 45001-UP

1шт.

21

144-916-8160

PIN

SN: 45001-UP

1шт.

22

07020-00000

FITTING,GREASE

SN: 45001-UP

1шт.

23

01010-51025

BOLT

SN: 45001-UP

2шт.

24

01602-21030

WASHER,SPRING

SN: 45001-UP

2шт.

25

144-916-7350

LEVER

SN: 45001-UP

1шт.

26

04010-00519

KEY

SN: 45001-UP

1шт.

27

01010-50830

BOLT

SN: 45001-UP

1шт.

28

01602-20825

WASHER,SPRING

SN: 45001-UP

1шт.

29

144-916-7361

CABLE

SN: 45001-UP

2шт.

30

04211-20844

YOKE

SN: 45001-UP

2шт.

31

01580-10806

NUT

SN: 45001-UP

4шт.

32

04205-10822

PIN

SN: 45001-UP

2шт.

33

04050-12012

PIN,COTTER

SN: 45001-UP

2шт.

34

01300-20820

SCREW

SN: 45001-UP

2шт.

35

04059-01040

WIRE

SN: 45001-UP

1шт.

36

141-01-33250

CLIP

SN: 45001-UP

1шт.

37

144-916-7320

CLAMP

SN: 45001-UP

1шт.

38

01010-50820

BOLT

SN: 45001-UP

1шт.

39

144-916-1840

BOLT

SN: 45001-UP

1шт.

40

01320-20816

SCREW

SN: 45001-UP

2шт.

41

144-916-7370

BAR

SN: 45001-UP

1шт.

42

01010-51260

BOLT

SN: 45001-UP

2шт.

43

01602-21236

WASHER,SPRING

SN: 45001-UP

2шт.

44

01643-31232

WASHER

SN: 45001-UP

2шт.

45

144-916-3920

PLATE¤ CAUTION,(NOT SHOWN)

SN: 45001-UP

1шт.

46

09673-36071

PLATE¤ OPERATING,(NOT SHOWN)

SN: 45001-UP

1шт.

Выбрано товаров: 46