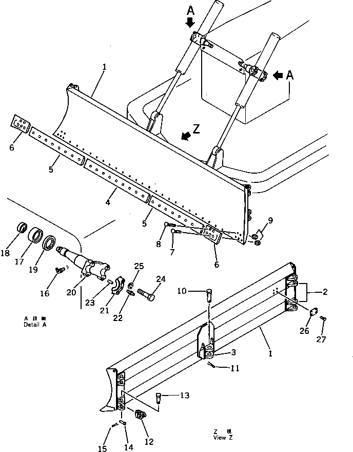
Запчасти Komatsu D65P-8 ОТВАЛ С ИЗМ. УГЛОМ ПОВОРОТА РАБОЧЕЕ ОБОРУДОВАНИЕ

Схема запчастей Komatsu D65P-8 - ОТВАЛ С ИЗМ. УГЛОМ ПОВОРОТА РАБОЧЕЕ ОБОРУДОВАНИЕ
FIT
1:1
100%

Артикул

Название

Примечание

Количество

1

14G-Z26-1110

BLADE

SN: 45001-UP

1шт.

2

144-70-11210

BRACKET (WELDED)

SN: 45001-UP

4шт.

3

144-854-1380

BRACKET (WELDED)

SN: 45001-UP

1шт.

4

130-70-51130

EDGE,CUTTING

SN: 45001-UP

1шт.

5

130-920-2180

EDGE,CUTTING

SN: 45001-UP

2шт.

6

13F-Z27-1581

BIT,END¤ L.H.

SN: 45001-UP

1шт.

|6

13F-Z27-1571

BIT,END¤ R.H.

SN: 45001-UP

1шт.

7

02090-11270

BOLT

SN: 45001-UP

31шт.

8

02091-11210

BOLT

SN: 45001-UP

4шт.

9

02290-11219

NUT

SN: 45001-UP

35шт.

10

144-70-11160

PIN

SN: 45001-UP

1шт.

11

04050-18085

PIN,COTTER

SN: 45001-UP

1шт.

12

144-70-12130

JOINT

SN: 45001-UP

4шт.

13

140-70-12110

PIN

SN: 45001-UP

4шт.

14

170-70-12120

BOSS

SN: 45001-UP

4шт.

15

04050-15030

PIN,COTTER

SN: 45001-UP

4шт.

16

07020-00675

FITTING,GREASE

SN: 45001-UP

2шт.

17

144-70-15181

BUSHING

SN: 45001-UP

2шт.

18

144-70-15171

BUSHING

SN: 45001-UP

2шт.

19

130-09-12370

SEAL,OIL

SN: 45001-UP

2шт.

|20

144-70-00051

YOKE ASS'Y

SN: 45001-UP

2шт.

20

0

YOKE

SN: 45001-UP

1шт.

21

144-70-15260

CAP

SN: 45001-UP

2шт.

22

07020-00000

FITTING,GREASE

SN: 45001-UP

2шт.

23

144-70-15251

PIN

SN: 45001-UP

2шт.

24

01010-51470

BOLT

SN: 45001-UP

4шт.

25

01602-21442

WASHER

SN: 45001-UP

4шт.

26

09601-00835

PLATE¤ NAME,(LIMITED SUPPLY)

SN: 45001-UP

1шт.

27

04418-13060

SCREW

SN: 45001-UP

4шт.

Выбрано товаров: 29