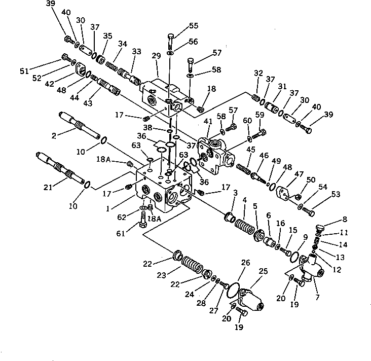
Запчасти Komatsu D65P-8 ГИДРАВЛ УПРАВЛЯЮЩ. КЛАПАН (ДЛЯ ТЯГОВ. ЛЕБЕДКИ) РАБОЧЕЕ ОБОРУДОВАНИЕ

Схема запчастей Komatsu D65P-8 - ГИДРАВЛ УПРАВЛЯЮЩ. КЛАПАН (ДЛЯ ТЯГОВ. ЛЕБЕДКИ) РАБОЧЕЕ ОБОРУДОВАНИЕ
FIT
1:1
100%

Артикул

Название

Примечание

Количество

|1

144-916-0210

CONTROL VALVE ASS'Y

SN: 45001-UP

1шт.

1

0

BODY

SN: 45001-UP

1шт.

2

175-916-4120

SPOOL

SN: 45001-UP

1шт.

3

175-916-4130

COLLAR

SN: 45001-UP

1шт.

4

175-916-4140

SPRING

SN: 45001-UP

1шт.

5

175-916-4150

STOPPER

SN: 45001-UP

1шт.

6

175-916-4160

STOPPER

SN: 45001-UP

1шт.

7

175-916-4170

COVER

SN: 45001-UP

1шт.

8

144-916-6520

PLUG

SN: 45001-UP

2шт.

9

07000-03035

O-RING

SN: 45001-UP

1шт.

10

07000-02020

O-RING

SN: 45001-UP

2шт.

11

07000-02015

O-RING

SN: 45001-UP

2шт.

12

130-60-42380

BALL

SN: 45001-UP

2шт.

13

130-60-42390

GUIDE

SN: 45001-UP

2шт.

14

140-60-12310

SPRING

SN: 45001-UP

2шт.

15

01010-30835

BOLT

SN: 45001-UP

1шт.

16

01602-00825

WASHER,SPRING

SN: 45001-UP

1шт.

17

07042-00108

PLUG

SN: 45001-UP

3шт.

18

07043-00415

PLUG

SN: 45001-UP

2шт.

18A

07043-00312

PLUG

SN: 45001-UP

4шт.

19

01010-31025

BOLT

SN: 45001-UP

4шт.

20

01602-01030

WASHER,SPRING

SN: 45001-UP

4шт.

21

175-916-4190

SPOOL

SN: 45001-UP

4шт.

22

175-916-4210

COLLAR

SN: 45001-UP

2шт.

23

175-916-4220

SPRING

SN: 45001-UP

1шт.

24

175-916-4230

WASHER

SN: 45001-UP

1шт.

25

175-916-4240

COVER

SN: 45001-UP

1шт.

26

07000-03048

O-RING

SN: 45001-UP

1шт.

27

01050-30816

BOLT

SN: 45001-UP

1шт.

28

01602-00825

WASHER,SPRING

SN: 45001-UP

1шт.

29

144-916-5220

BODY

SN: 45001-UP

1шт.

30

175-916-4320

PLATE

SN: 45001-UP

2шт.

31

175-916-4330

STOPPER

SN: 45001-UP

1шт.

32

175-916-4340

PISTON

SN: 45001-UP

1шт.

33

175-916-4350

VALVE

SN: 45001-UP

1шт.

34

175-916-4360

SPRING

SN: 45001-UP

1шт.

35

175-916-4370

STOPPER

SN: 45001-UP

1шт.

36

07000-03025

O-RING

SN: 45001-UP

4шт.

37

07000-02018

O-RING

SN: 45001-UP

4шт.

38

07000-02012

O-RING

SN: 45001-UP

1шт.

39

01010-30820

BOLT

SN: 45001-UP

4шт.

40

01602-00825

WASHER,SPRING

SN: 45001-UP

4шт.

41

144-916-5230

BODY

SN: 45001-UP

1шт.

42

175-916-4420

STOPPER

SN: 45001-UP

1шт.

43

175-916-4430

VALVE

SN: 45001-UP

1шт.

44

175-916-4440

PISTON

SN: 45001-UP

1шт.

45

175-916-4450

SPRING

SN: 45001-UP

1шт.

46

175-916-4460

BOLT

SN: 45001-UP

1шт.

47

175-916-4470

STOPPER

SN: 45001-UP

1шт.

48

07000-02020

O-RING

SN: 45001-UP

2шт.

49

07000-02010

O-RING

SN: 45001-UP

1шт.

50

01580-00806

NUT

SN: 45001-UP

1шт.

51

01010-30820

BOLT

SN: 45001-UP

2шт.

52

01602-00825

WASHER,SPRING

SN: 45001-UP

2шт.

53

01050-30830

BOLT

SN: 45001-UP

2шт.

54

01602-00825

WASHER,SPRING

SN: 45001-UP

2шт.

55

01010-31075

BOLT

SN: 45001-UP

2шт.

56

01602-01030

WASHER,SPRING

SN: 45001-UP

2шт.

57

01010-31030

BOLT

SN: 45001-UP

5шт.

58

01602-01030

WASHER,SPRING

SN: 45001-UP

5шт.

59

01010-31040

BOLT

SN: 45001-UP

1шт.

60

01602-01030

WASHER,SPRING

SN: 45001-UP

1шт.

61

01010-31245

BOLT

SN: 45001-UP

4шт.

62

01602-01236

WASHER,SPRING

SN: 45001-UP

4шт.

63

07000-02018

O-RING

SN: 45001-UP

3шт.

Выбрано товаров: 65