Запчасти Komatsu D65P-8 РУЛЕВ. УПРАВЛЕНИЕ ФИЛЬТР. СИСТЕМАУПРАВЛЕНИЯ ПОВОРОТОМ И КОНЕЧНАЯ ПЕРЕДАЧА

Схема запчастей Komatsu D65P-8 - РУЛЕВ. УПРАВЛЕНИЕ ФИЛЬТР. СИСТЕМАУПРАВЛЕНИЯ ПОВОРОТОМ И КОНЕЧНАЯ ПЕРЕДАЧА
FIT
1:1
100%

Артикул

Название

Примечание

Количество

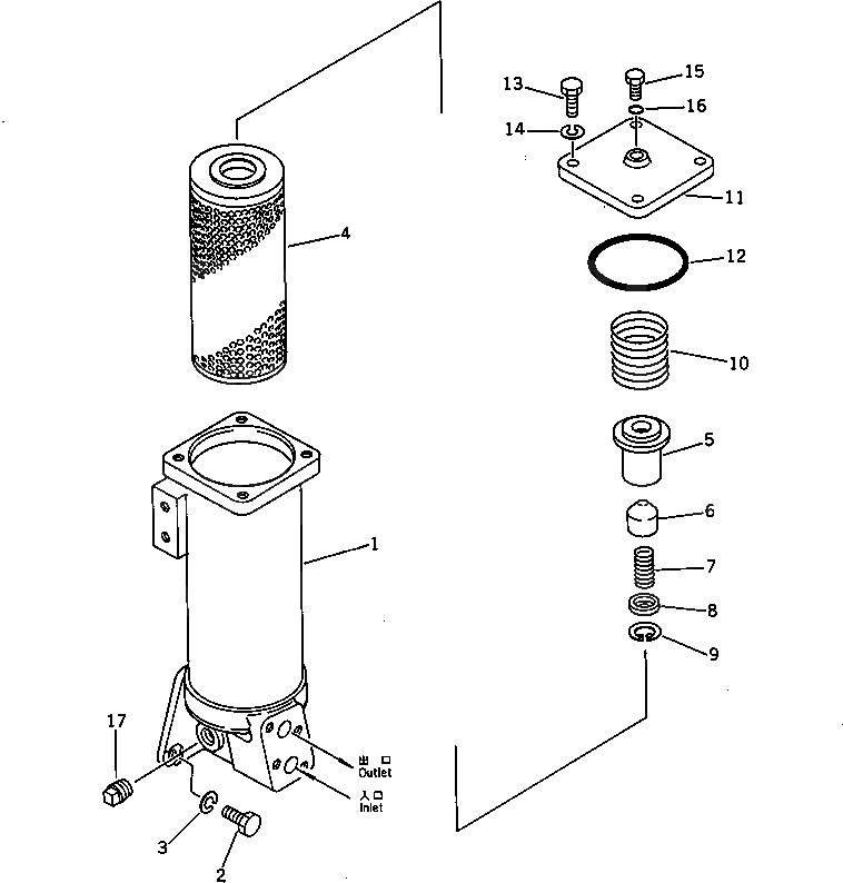
|1

145-49-00032

FILTER ASS'Y

SN: 45001-UP

1шт.

1

145-49-32411

CASE

SN: 45001-UP

1шт.

2

01010-51235

BOLT

SN: 45001-UP

3шт.

3

01602-21236

WASHER,SPRING

SN: 45001-UP

3шт.

4

281-16-11290

ELEMENT

SN: 45001-UP

1шт.

5

141-49-33990

CAGE

SN: 45001-UP

1шт.

6

141-49-33980

SLEEVE

SN: 45001-UP

1шт.

7

141-49-36172

SPRING

SN: 45001-UP

1шт.

8

141-49-33970

PLATE

SN: 45001-UP

1шт.

9

04065-03012

RING,SNAP

SN: 45001-UP

1шт.

10

6003200-4-40

SPRING

SN: 45001-UP

1шт.

11

145-49-12430

COVER

SN: 45001-UP

1шт.

12

07000-03098

O-RING

SN: 45001-UP

1шт.

13

01010-51230

BOLT

SN: 45001-UP

4шт.

14

01602-21236

WASHER,SPRING

SN: 45001-UP

4шт.

15

145-49-12440

BOLT

SN: 45001-UP

1шт.

16

07000-02008

O-RING

SN: 45001-UP

1шт.

17

07042-00415

PLUG

SN: 45001-UP

1шт.

Выбрано товаров: 18