Запчасти Komatsu D65P-8 СИСТЕМА ROPS¤ С SWEEPER И ЗАДН. NET ЧАСТИ КОРПУСА

Схема запчастей Komatsu D65P-8 - СИСТЕМА ROPS¤ С SWEEPER И ЗАДН. NET ЧАСТИ КОРПУСА
FIT
1:1
100%

Артикул

Название

Примечание

Количество

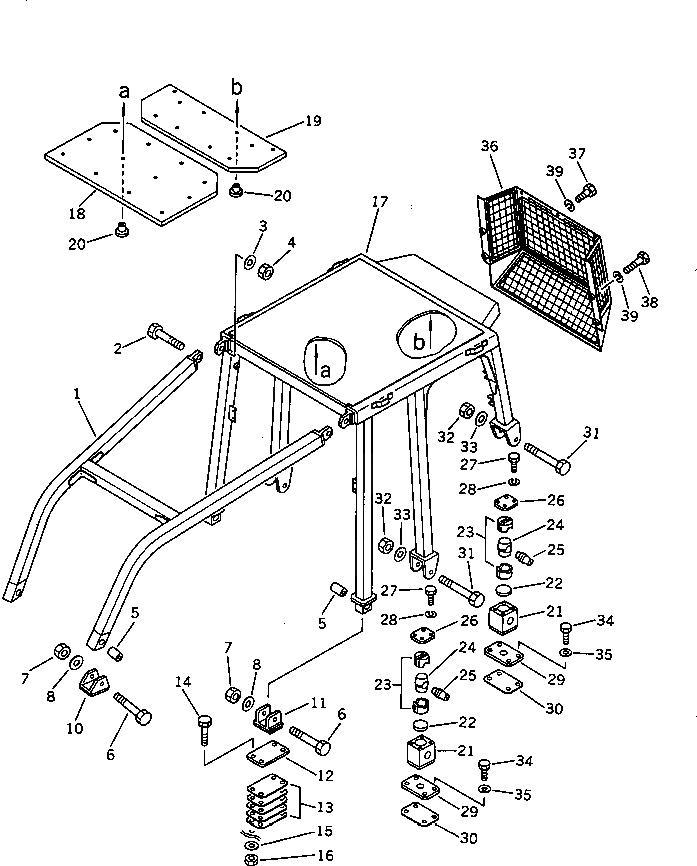
1

144-978-8561

SWEEP

SN: 45001-UP

1шт.

2

01010-53090

BOLT

SN: 45001-UP

2шт.

3

01643-33080

WASHER

SN: 45001-UP

2шт.

4

01580-13024

NUT

SN: 45001-UP

2шт.

5

195-978-1311

ISOLATOR

SN: 45001-UP

4шт.

6

141-978-2150

BOLT

SN: 45001-UP

4шт.

7

175-978-3210

NUT

SN: 45001-UP

4шт.

8

01643-32780

WASHER

SN: 45001-UP

4шт.

10

144-978-8670

BRACKET

SN: 45001-UP

2шт.

11

145-Z78-1130

BRACKET

SN: 45001-UP

2шт.

12

144-978-8680

PLATE

SN: 45001-UP

2шт.

13

144-978-8690

PLATE

SN: 45001-UP

10шт.

14

01010-51665

BOLT

SN: 45001-UP

8шт.

15

01643-31645

WASHER

SN: 45001-UP

8шт.

16

01580-11613

NUT

SN: 45001-UP

8шт.

17

144-978-8511

ROPS CANOPY

SN: 45001-UP

1шт.

18

144-978-8361

LINING

SN: 46444-UP

1шт.

18

0

LINING

SN: 45625-46443

1шт.

18

120-Y78-4471

LINING

SN: 45001-45624

1шт.

19

144-978-8371

LINING

SN: 46444-UP

1шт.

19

0

COVER

SN: 45625-46443

1шт.

19

120-Y78-4481

LINING

SN: 45001-45624

1шт.

20

144-978-8380

BUTTON

SN: 45625-UP

22шт.

20

120-Y78-4550

BUTTON

SN: 45001-45624

22шт.

21

120-Y78-3362

BRACKET

SN: 45001-UP

4шт.

22

120-Y78-3240

PLATE

SN: 45001-UP

4шт.

23

175-978-5180

RUBBER

SN: 45001-UP

8шт.

24

175-978-5160

BLOCK

SN: 45001-UP

4шт.

25

175-978-5170

COLLAR

SN: 45001-UP

4шт.

26

120-Y78-4230

PLATE

SN: 45001-UP

4шт.

27

01010-51230

BOLT

SN: 45001-UP

16шт.

28

01602-21236

WASHER,SPRING

SN: 45001-UP

16шт.

29

144-978-8861

PLATE, 2.3MM

SN: 45001-UP

4шт.

30

144-978-8871

PLATE, 2.3MM

SN: 45001-UP

8шт.

31

175-978-5210

BOLT

SN: 45001-UP

4шт.

32

01580-12722

NUT

SN: 45001-UP

4шт.

33

01643-32780

WASHER

SN: 45001-UP

4шт.

34

01018-32055

BOLT

SN: 45001-UP

16шт.

35

01643-32060

WASHER

SN: 45001-UP

16шт.

36

144-978-8541

SCREEN

SN: 45001-UP

1шт.

37

01010-51235

BOLT

SN: 45001-UP

3шт.

38

01010-51255

BOLT

SN: 45001-UP

4шт.

39

01602-21236

WASHER,SPRING

SN: 45001-UP

7шт.

Выбрано товаров: 43