Запчасти Komatsu D65P-8 БОКОВ. КРЫШКА ДВИГ. МАРКИРОВКА¤ ИНСТРУМЕНТ И РЕМКОМПЛЕКТЫ

Схема запчастей Komatsu D65P-8 - БОКОВ. КРЫШКА ДВИГ. МАРКИРОВКА¤ ИНСТРУМЕНТ И РЕМКОМПЛЕКТЫ
FIT
1:1
100%

Артикул

Название

Примечание

Количество

|$0

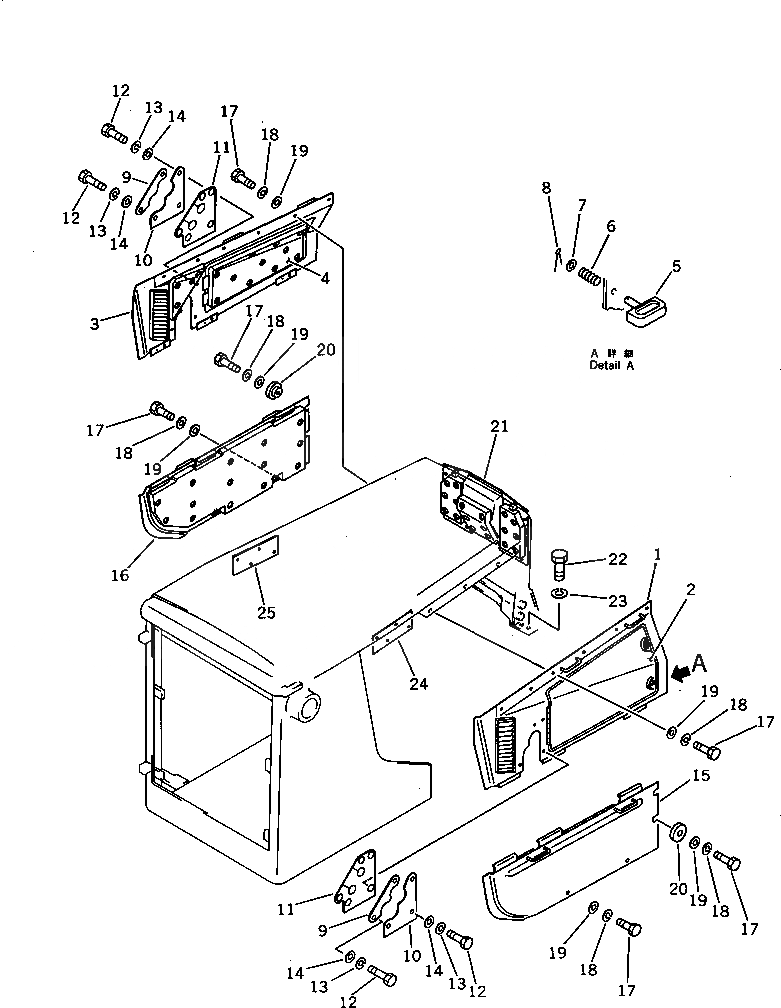
14G-54-00100

COVER ASS'Y,L.H.

SN: 45001-UP

1шт.

|$1

14G-54-00110

COVER ASS'Y,R.H.

SN: 45001-UP

1шт.

1

0

COVER,L.H.

SN: 45001-UP

1шт.

2

144-54-24580

COVER

SN: 45001-UP

1шт.

3

0

COVER,R.H.

SN: 45001-UP

1шт.

4

144-54-24590

COVER

SN: 45001-UP

1шт.

5

09459-11033

LOCK

SN: 45001-UP

2шт.

6

09459-01614

SPRING

SN: 45001-UP

2шт.

7

01642-21016

WASHER

SN: 45001-UP

2шт.

8

04050-13015

PIN,COTTER

SN: 45001-UP

2шт.

9

14G-54-11150

PLATE

SN: 45001-UP

2шт.

10

14G-54-11140

PLATE

SN: 45001-UP

2шт.

11

14G-54-11160

PLATE

SN: 45001-UP

2шт.

12

01010-51235

BOLT

SN: 45001-UP

10шт.

13

01602-21236

WASHER,SPRING

SN: 45001-UP

10шт.

14

01643-31232

WASHER

SN: 45001-UP

10шт.

15

144-A62-5730

COVER,L.H.

SN: 45001-UP

1шт.

16

144-A62-5740

COVER,R.H.

SN: 45001-UP

1шт.

17

01010-51235

BOLT

SN: 45001-UP

24шт.

18

01602-21236

WASHER,SPRING

SN: 45001-UP

24шт.

19

01643-31232

WASHER

SN: 45001-UP

24шт.

20

144-54-24430

WASHER

SN: 45001-UP

4шт.

21

144-A62-6350

COVER

SN: 45001-UP

1шт.

22

01010-51440

BOLT

SN: 45001-UP

8шт.

23

01602-21442

WASHER,SPRING

SN: 45001-UP

8шт.

24

14G-54-11171

PLATE,L.H.

SN: 45001-UP

1шт.

25

14G-54-11181

PLATE,R.H.

SN: 45001-UP

1шт.

Выбрано товаров: 27