Запчасти Komatsu D65P-8 ТРАНСМИССИЯ РЫЧАГ (ШУМОПОДАВЛ. ДЛЯ EC)(№898-) МАРКИРОВКА¤ ИНСТРУМЕНТ И РЕМКОМПЛЕКТЫ

Схема запчастей Komatsu D65P-8 - ТРАНСМИССИЯ РЫЧАГ (ШУМОПОДАВЛ. ДЛЯ EC)(№898-) МАРКИРОВКА¤ ИНСТРУМЕНТ И РЕМКОМПЛЕКТЫ
FIT
1:1
100%

Артикул

Название

Примечание

Количество

|$0

144-15-00300

TRANSMISSION ASS'Y,(D65A)

SN: 45897-45897

1шт.

|$1

14G-15-00300

TRANSMISSION ASS'Y,(D65P)

SN: 45898-UP

1шт.

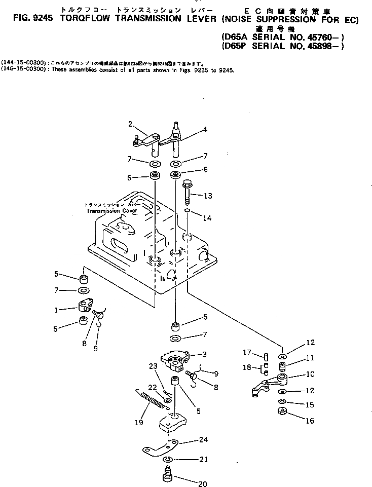
1

144-15-25560

LEVER,FORWARD AND REVERSE

SN: 45898-UP

1шт.

2

144-15-25651

LEVER

SN: 45898-UP

1шт.

3

144-15-25632

LEVER,SHIFT

SN: 45898-UP

1шт.

4

144-15-25742

LEVER

SN: 45898-UP

1шт.

5

06120-02016

BEARING,NEEDLE

SN: 45898-UP

4шт.

6

144-15-29110

SEAL,OIL (K2)

SN: 45898-UP

2шт.

7

144-15-25570

WASHER

SN: 45898-UP

4шт.

8

125-15-11530

BOLT

SN: 45898-UP

2шт.

9

04059-01010

WIRE,LOCK (K2)

SN: 45898-UP

2шт.

10

144-15-25682

LEVER

SN: 45898-UP

1шт.

11

144-15-25670

BUSHING

SN: 45898-UP

1шт.

12

175-15-45660

WASHER

SN: 45898-UP

2шт.

13

175-15-45650

BOLT

SN: 45898-UP

1шт.

14

07000-72008

O-RING (K2)

SN: 45898-UP

1шт.

15

01602-01030

WASHER,SPRING

SN: 45898-UP

1шт.

16

01580-01008

NUT

SN: 45898-UP

1шт.

17

144-15-25691

PIN

SN: 45898-UP

1шт.

18

144-15-29120

BEARING

SN: 45898-UP

2шт.

19

144-15-25710

SPRING

SN: 45898-UP

1шт.

20

144-15-25592

BOLT

SN: 45898-UP

1шт.

21

01602-01442

WASHER,SPRING

SN: 45898-UP

1шт.

22

01641-01016

WASHER

SN: 45898-UP

1шт.

23

04050-02018

PIN,COTTER (K2)

SN: 45898-UP

1шт.

24

144-15-25820

PLATE

SN: 45898-UP

1шт.

Выбрано товаров: 26