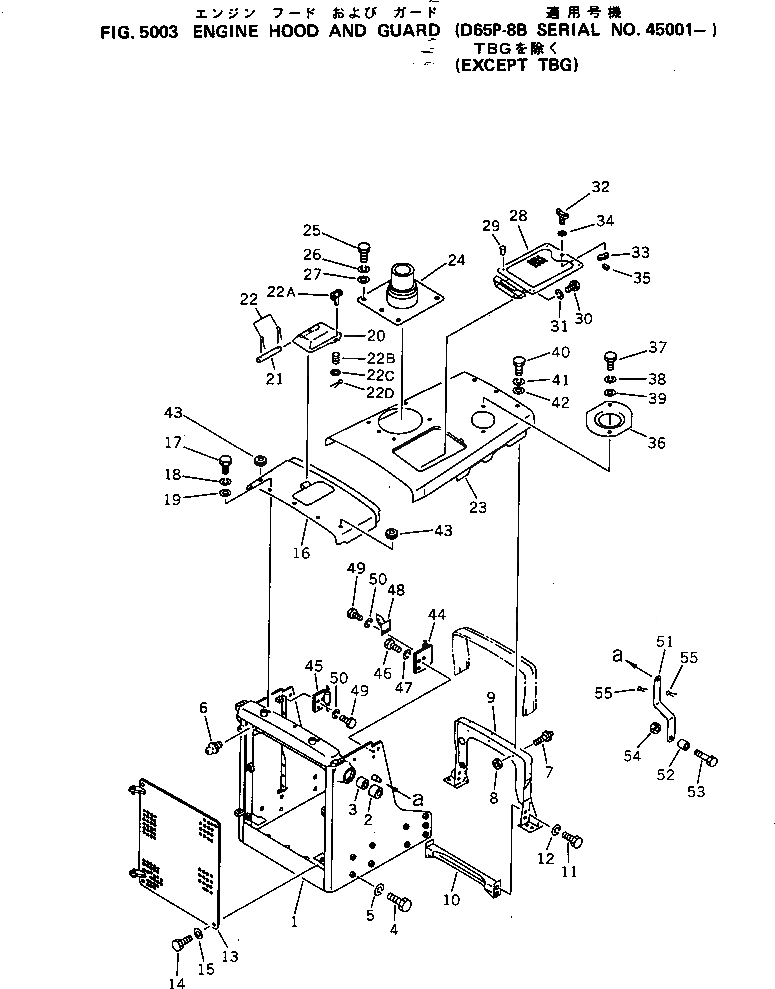
Запчасти Komatsu D65P-8 КАПОТ И ЧАСТИ КОРПУСА (EXCEPT TBG) ЧАСТИ КОРПУСА

Схема запчастей Komatsu D65P-8 - КАПОТ И ЧАСТИ КОРПУСА (EXCEPT TBG) ЧАСТИ КОРПУСА
FIT
1:1
100%

Артикул

Название

Примечание

Количество

|$0

14G-54-00014

GUARD ASS'Y

SN: 45001-UP

1шт.

1

0

GUARD

SN: 45001-UP

1шт.

2

144-70-15171

BUSHING

SN: 45001-UP

2шт.

3

144-70-15181

BUSHING

SN: 45001-UP

2шт.

4

01019-32015

BOLT

SN: 45001-UP

18шт.

5

01602-22060

WASHER,SPRING

SN: 45001-UP

18шт.

6

07020-00000

FITTING,GREASE

SN: 45001-UP

2шт.

7

120-43-34361

DAMPER

SN: 45001-UP

2шт.

8

01580-11008

NUT

SN: 45001-UP

2шт.

9

144-54-24211

FRAME

SN: 45001-UP

1шт.

10

144-54-51220

FRAME

SN: 45001-UP

1шт.

11

01010-51440

BOLT

SN: 45001-UP

4шт.

12

01602-21442

WASHER,SPRING

SN: 45001-UP

4шт.

13

14G-54-61211

MASK

SN: 45952-UP

1шт.

13

14G-54-61210

MASK

SN: 45001-45951

1шт.

14

01010-51635

BOLT

SN: 45001-UP

6шт.

15

01643-31645

WASHER

SN: 45001-UP

6шт.

16

144-54-51121

COVER

SN: 45001-UP

1шт.

17

01010-51235

BOLT

SN: 45001-UP

7шт.

18

01602-21236

WASHER,SPRING

SN: 45001-UP

7шт.

19

01643-31232

WASHER

SN: 45001-UP

7шт.

20

144-54-51140

COVER

SN: 45001-UP

1шт.

21

131-54-11270

PIN

SN: 45001-UP

1шт.

22

04050-11610

PIN,COTTER

SN: 45001-UP

2шт.

22A

09459-11033

LOCK

SN: 45001-UP

1шт.

22B

09459-01614

SPRING

SN: 45001-UP

1шт.

22C

01642-21016

WASHER

SN: 45001-UP

1шт.

22D

04050-13015

PIN,COTTER

SN: 45001-UP

1шт.

23

144-54-51110

HOOD

SN: 45001-UP

1шт.

24

144-54-71150

COVER

SN: 45001-UP

1шт.

25

01010-51235

BOLT

SN: 45001-UP

5шт.

26

01602-21236

WASHER,SPRING

SN: 45001-UP

5шт.

27

01643-31232

WASHER

SN: 45001-UP

5шт.

28

144-851-1750

COVER

SN: 45001-UP

1шт.

29

07049-01215

PLUG

SN: 45001-UP

4шт.

30

01010-51020

BOLT

SN: 45001-UP

2шт.

31

01602-21030

WASHER,SPRING

SN: 45001-UP

2шт.

32

135-54-31290

HANDLE

SN: 45001-UP

1шт.

33

135-54-31310

STOPPER

SN: 45001-UP

1шт.

34

01643-31032

WASHER

SN: 45001-UP

1шт.

35

04025-00316

PIN,SPRING

SN: 45001-UP

1шт.

36

144-54-51150

COVER

SN: 45001-UP

1шт.

37

01010-51230

BOLT

SN: 45001-UP

2шт.

38

01602-21236

WASHER,SPRING

SN: 45001-UP

2шт.

39

01643-31232

WASHER

SN: 45001-UP

2шт.

40

01010-51235

BOLT

SN: 45001-UP

5шт.

41

01602-21236

WASHER,SPRING

SN: 45001-UP

5шт.

42

01643-31232

WASHER

SN: 45001-UP

5шт.

43

08037-01610

GROMMET

SN: 45001-UP

2шт.

44

144-54-51160

CATCHER,L.H.

SN: 45001-UP

1шт.

45

144-54-51180

CATCHER,R.H.

SN: 45001-UP

1шт.

46

01010-51220

BOLT

SN: 45001-UP

6шт.

47

01602-21236

WASHER,SPRING

SN: 45001-UP

6шт.

48

144-54-51210

BRACKET

SN: 45001-UP

1шт.

49

01010-50820

BOLT

SN: 45001-UP

2шт.

50

01602-20825

WASHER,SPRING

SN: 45001-UP

2шт.

51

144-811-6210

PLATE

SN: 45001-UP

2шт.

52

140-60-15460

TUBE

SN: 45001-UP

2шт.

53

01010-51245

BOLT

SN: 45001-UP

2шт.

54

01580-11210

NUT

SN: 45001-UP

2шт.

55

04050-08070

PIN,COTTER

SN: 45001-UP

4шт.

Выбрано товаров: 61