Запчасти Komatsu D65PX-12-E ЗАСЛОНКА РАДИАТОРА (DP.PX) ЧАСТИ КОРПУСА

Схема запчастей Komatsu D65PX-12-E - ЗАСЛОНКА РАДИАТОРА (DP.PX) ЧАСТИ КОРПУСА
FIT
1:1
100%

Артикул

Название

Примечание

Количество

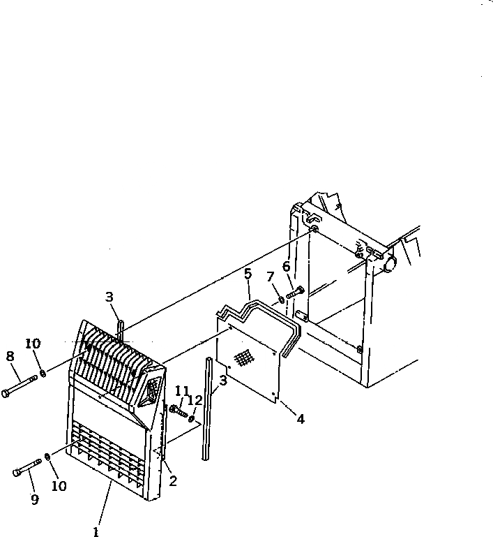
1

14X-54-21190

MASK FRONT,FRONT

SN: 65001-UP

1шт.

|1

14X-54-11196

MASK,FRONT

SN: 60884-65000

1шт.

2

14X-54-11214

BRACKET (WELDED)

SN: 60884-UP

1шт.

3

14X-54-11350

SEAL

SN: 60884-UP

2шт.

4

14X-54-13253

NET

SN: 60884-UP

1шт.

5

14X-54-13280

SEAL

SN: 60884-UP

1шт.

6

01010-81030

BOLT

SN: 60884-UP

4шт.

7

01643-31032

WASHER

SN: 60884-UP

4шт.

8

11T-61-14720

BOLT

SN: 60884-UP

2шт.

9

01011-81690

BOLT

SN: 60884-UP

2шт.

10

01643-31645

WASHER

SN: 60884-UP

4шт.

11

01010-81230

BOLT

SN: 60884-UP

4шт.

12

01643-31232

WASHER

SN: 60884-UP

4шт.

Выбрано товаров: 13