Запчасти Komatsu D65PX-12 ТОПЛИВН. БАК. (ДЛЯ ИЗМЕРИТ. ПРИБОРА) ТОПЛИВН. БАК. AND КОМПОНЕНТЫ

Схема запчастей Komatsu D65PX-12 - ТОПЛИВН. БАК. (ДЛЯ ИЗМЕРИТ. ПРИБОРА) ТОПЛИВН. БАК. AND КОМПОНЕНТЫ
FIT
1:1
100%

Артикул

Название

Примечание

Количество

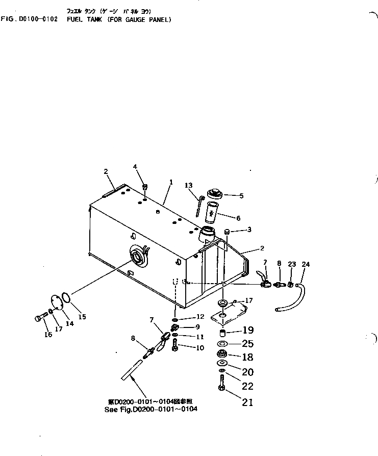
1

14X-04-11112

TANK

SN: 60001-UP

1шт.

2

14X-04-11141

SEAL

SN: 60001-UP

2шт.

3

144-874-5970

GROMMET

SN: 60001-UP

1шт.

4

07049-01012

PLUG

SN: 60001-UP

4шт.

5

20Y-04-11160

CAP

SN: 60001-UP

1шт.

6

07056-18416

STRAINER

SN: 60001-UP

1шт.

7

07700-40240

VALVE

SN: 60001-UP

2шт.

8

120-04-41130

NIPPLE

SN: 60001-UP

2шт.

9

113-04-22130

NIPPLE

SN: 60001-UP

1шт.

10

113-04-22190

BOLT

SN: 60001-UP

1шт.

11

07005-01412

GASKET

SN: 60001-UP

1шт.

12

07005-02012

GASKET

SN: 60001-UP

1шт.

13

14X-04-11150

GAUGE,FUEL

SN: 60001-UP

1шт.

14

14X-04-11170

COVER

SN: 60001-UP

1шт.

15

07000-02085

O-RING

SN: 60001-UP

1шт.

16

01010-51020

BOLT

SN: 60001-UP

4шт.

17

01643-31032

WASHER

SN: 60001-UP

4шт.

18

195-54-42550

CUSHION

SN: 60001-UP

8шт.

19

195-54-42560

BOSS

SN: 60001-UP

4шт.

20

14X-04-11180

PLATE

SN: 60001-UP

8шт.

21

01010-51680

BOLT

SN: 60001-UP

4шт.

22

01643-31645

WASHER

SN: 60001-UP

4шт.

23

07285-00115

CLIP

SN: 60001-UP

1шт.

24

07270-01035

TUBE

SN: 60001-UP

1шт.

25

14X-54-13350

WASHER

SN: 60651-UP

4шт.

Выбрано товаров: 0