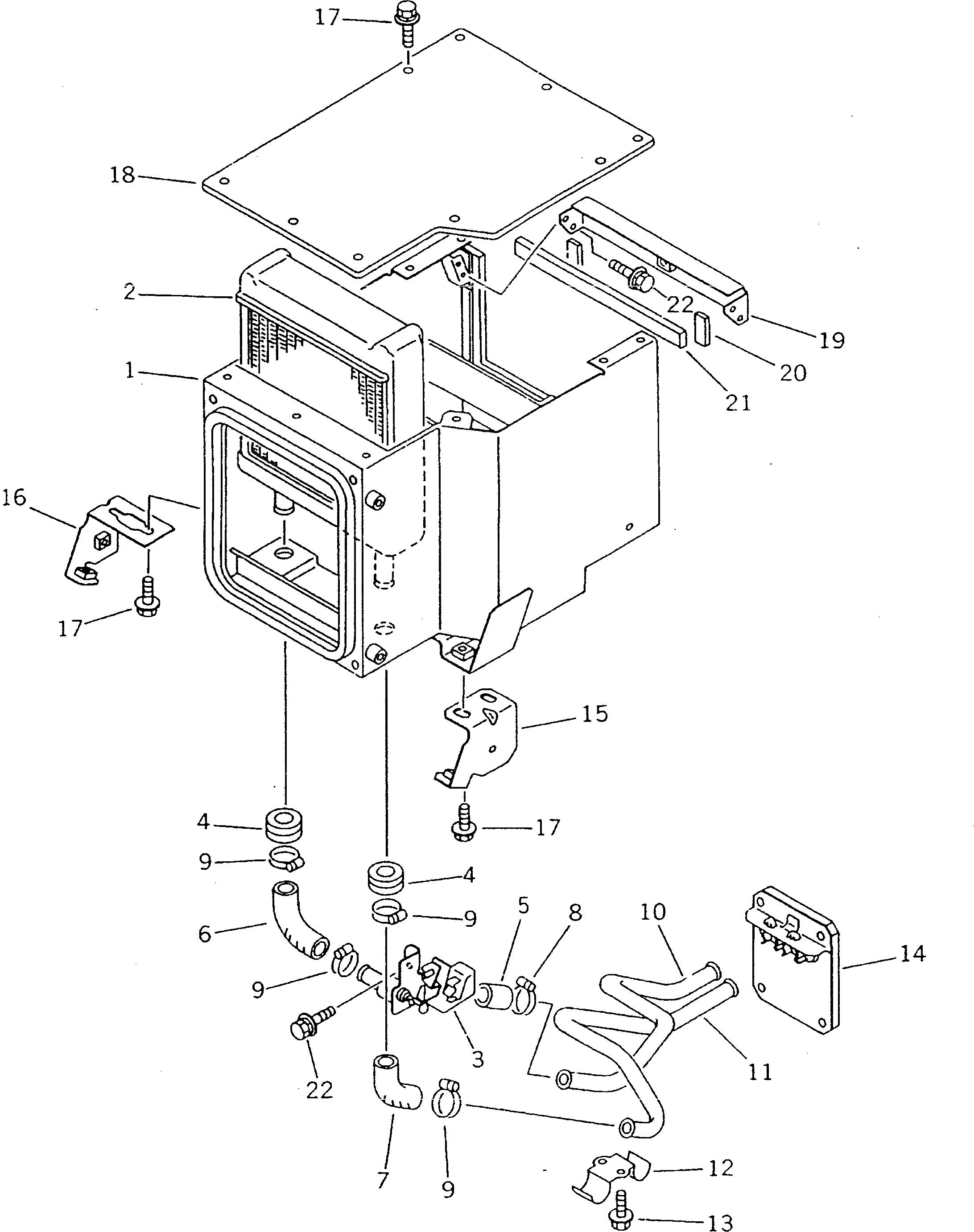
Запчасти Komatsu D65PX-12 ОТОПИТЕЛЬ КАБИНА ОПЕРАТОРА И СИСТЕМА УПРАВЛЕНИЯ

Схема запчастей Komatsu D65PX-12 - ОТОПИТЕЛЬ КАБИНА ОПЕРАТОРА И СИСТЕМА УПРАВЛЕНИЯ
FIT
1:1
100%

Артикул

Название

Примечание

Количество

|$3

14X-911-7200

HEATER UNIT ASS'Y

SN: 60001-UP

1шт.

1

ND245420-0420

CASE

SN: 60001-UP

1шт.

2

ND116410-9980

RADIATOR

SN: 60001-UP

1шт.

3

ND113600-8320

VALVE

SN: 60001-UP

1шт.

4

ND949321-4350

GROMMET

SN: 60001-UP

1шт.

5

ND7052-200400

HOSE

SN: 60001-UP

1шт.

6

ND017264-7040

HOSE

SN: 60001-UP

1шт.

7

ND017264-7050

HOSE

SN: 60001-UP

1шт.

8

195-979-4240

CLAMP

SN: 60001-UP

1шт.

9

ND92021-10251

CLAMP

SN: 60001-UP

4шт.

10

ND017441-3090

PIPE

SN: 60001-UP

1шт.

11

ND017441-3100

PIPE

SN: 60001-UP

1шт.

12

ND246781-0060

CLAMP

SN: 60001-UP

1шт.

13

ND91510-06161

BOLT

SN: 60001-UP

2шт.

14

ND146640-6880

PLATE

SN: 60001-UP

1шт.

15

ND245440-2590

BRACKET

SN: 60001-UP

1шт.

16

ND245440-2600

BRACKET

SN: 60001-UP

1шт.

17

ND91478-08161

BOLT

SN: 60001-UP

8шт.

18

ND146370-5020

COVER

SN: 60001-UP

1шт.

19

ND245440-2610

CASE

SN: 60001-UP

1шт.

20

ND146648-2470

PACKING

SN: 60001-UP

2шт.

21

ND146622-9700

PACKING

SN: 60001-UP

1шт.

22

ND91510-06081

BOLT

SN: 60001-UP

6шт.

Выбрано товаров: 23