Запчасти Komatsu D65PX-12 ГИДРОЦИЛИНДР ПОДЪЕМА РАБОЧЕЕ ОБОРУДОВАНИЕ

Схема запчастей Komatsu D65PX-12 - ГИДРОЦИЛИНДР ПОДЪЕМА РАБОЧЕЕ ОБОРУДОВАНИЕ
FIT
1:1
100%

Артикул

Название

Примечание

Количество

G-1

0

CYLINDER GROUP,LIFT, L.H.

SN: 60509-UP

1шт.

G-1

0

CYLINDER GROUP,LIFT, L.H.

SN: 60001-60508

1шт.

G-1

0

CYLINDER GROUP,LIFT, R.H.

SN: 60509-UP

1шт.

G-1

0

CYLINDER GROUP,LIFT, R.H.

SN: 60001-60508

1шт.

|$$5

====================

-1шт.

|$6

14Y-63-01014

CYLINDER ASS'Y

SN: 60509-UP

2шт.

|$7

14Y-63-01013

CYLINDER ASS'Y

SN: 60001-60508

2шт.

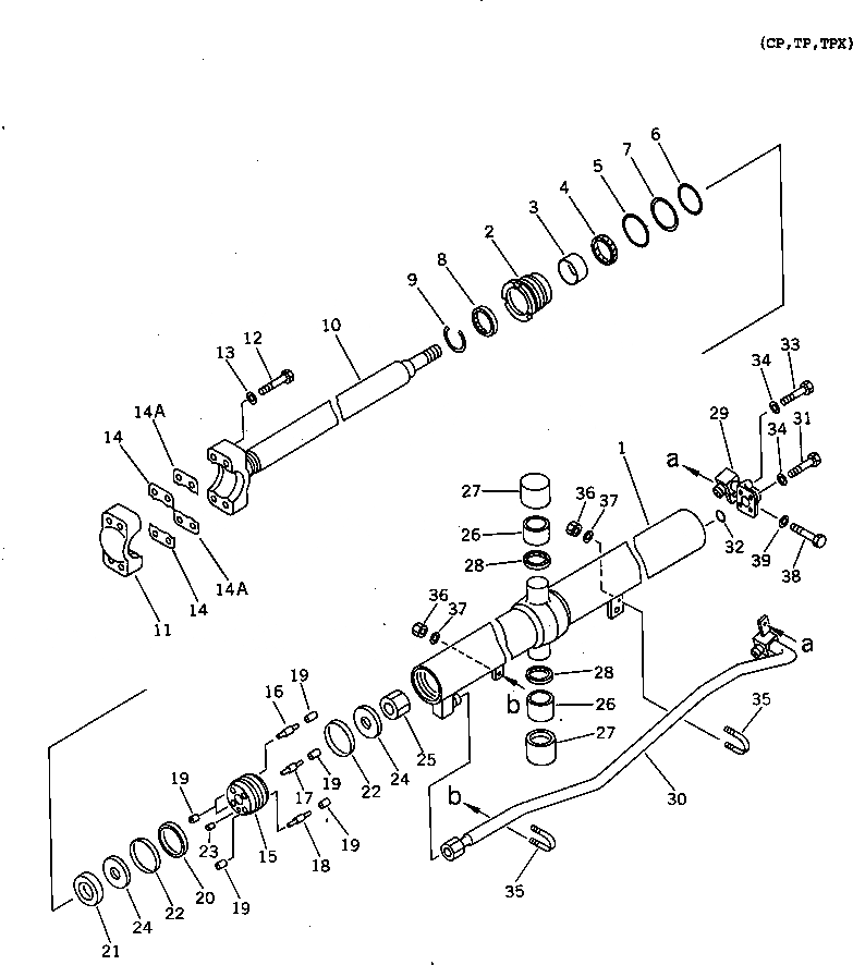
1

14Y-63-12144

CYLINDER

SN: 60509-UP

1шт.

1

14Y-63-12143

CYLINDER

SN: 60001-60508

1шт.

2

707-29-95730

HEAD,CYLINDER

SN: 60001-UP

1шт.

3

707-52-10660

BUSHING

SN: 60001-UP

1шт.

4

707-51-65211

PACKING,ROD (K8)

SN: 60001-UP

1шт.

5

07000-02095

O-RING (K8)

SN: 60001-UP

1шт.

6

07000-12090

O-RING (K8)

SN: 60001-UP

1шт.

7

707-35-52780

RING,BACK-UP (K8)

SN: 60001-UP

1шт.

8

144-63-92170

SEAL,DUST (K8)

SN: 60001-UP

1шт.

9

07179-12079

RING,SNAP

SN: 60001-UP

1шт.

10

14Y-63-12121

ROD,PISTON

SN: 60001-UP

1шт.

11

707-66-70020

CAP

SN: 60001-UP

1шт.

12

01011-51600

BOLT

SN: 60001-UP

4шт.

13

01643-51645

WASHER

SN: 60001-UP

4шт.

14

707-88-11290

SHIM, 1.0MM

SN: 60001-UP

6шт.

14A

707-88-11300

SHIM, 0.5MM

SN: 60001-UP

6шт.

|$24

14Y-63-12131

PISTON SUB ASS'Y

SN: 60001-UP

1шт.

15

707-37-95010

PISTON

SN: 60001-UP

1шт.

16

0

VALVE,PISTON

SN: 60001-UP

1шт.

17

0

VALVE,PISTON

SN: 60001-UP

1шт.

18

0

VALVE,PISTON

SN: 60001-UP

2шт.

19

0

SEAT,VALVE

SN: 60001-UP

8шт.

20

707-44-95180

RING,PISTON (K8)

SN: 60001-UP

1шт.

21

707-69-95010

SLIDER

SN: 60001-UP

1шт.

22

707-39-95120

RING,WEAR (K8)

SN: 60001-UP

2шт.

23

130-63-12761

PIN,DOWEL

SN: 60001-UP

2шт.

24

707-40-95010

RETAINER

SN: 60001-UP

2шт.

25

707-68-10330

NUT

SN: 60001-UP

1шт.

26

144-60-15450

BUSHING

SN: 60001-UP

4шт.

27

144-60-15431

BUSHING

SN: 60001-UP

4шт.

28

07145-00055

SEAL,DUST (K8)

SN: 60001-UP

4шт.

29

14Y-63-12181

TUBE,L.H.

SN: 60001-UP

1шт.

29

14Y-63-12281

TUBE,R.H.

SN: 60001-UP

1шт.

30

14Y-63-12172

TUBE,L.H.

SN: 60001-UP

1шт.

30

14Y-63-12270

TUBE,R.H.

SN: 60001-UP

1шт.

31

07372-21040

BOLT

SN: 60001-UP

4шт.

32

07000-13030

O-RING (K8)

SN: 60001-UP

2шт.

33

07372-21050

BOLT

SN: 60001-UP

4шт.

34

01643-51032

WASHER

SN: 60001-UP

8шт.

35

07283-22738

CLIP

SN: 60001-UP

4шт.

36

01599-01011

NUT

SN: 60001-UP

8шт.

37

01643-31032

WASHER

SN: 60001-UP

8шт.

38

01010-51020

BOLT

SN: 60001-UP

2шт.

39

01643-31032

WASHER

SN: 60001-UP

2шт.

|$$52

====================

-1шт.

Выбрано товаров: 52