Запчасти Komatsu D65PX-12 ТРАНСМИССИЯ (РЫЧАГ УПРАВЛ-Я) СИЛОВАЯ ПЕРЕДАЧА И КОНЕЧНАЯ ПЕРЕДАЧА

Схема запчастей Komatsu D65PX-12 - ТРАНСМИССИЯ (РЫЧАГ УПРАВЛ-Я) СИЛОВАЯ ПЕРЕДАЧА И КОНЕЧНАЯ ПЕРЕДАЧА
FIT
1:1
100%

Артикул

Название

Примечание

Количество

|$2

14X-15-00011

TRANSMISSION ASS'Y,(D65E,P)

SN: 60737-UP

1шт.

|$3

14X-15-00010

TRANSMISSION ASS'Y,(D65E,P)

SN: 60001-60736

1шт.

|$4

14Z-15-00011

TRANSMISSION ASS'Y,(D65EX,PX)

SN: 60737-UP

-1шт.

|$5

14Z-15-00010

TRANSMISSION ASS'Y,(D65EX,PX)

SN: 60001-60736

-1шт.

|$$5

THESE ASSEMBLIES CONSIST OF ALL PARTS SHOWN IN FIGS.F2320-0102 TO F2320-1002.

-1шт.

|$7

14X-15-00371

COVER ASS'Y

SN: 60737-UP

1шт.

|$8

14X-15-00370

COVER ASS'Y

SN: 60001-60736

1шт.

|$$8

THIS ASSEMBLY CONSISTS OF ALL PARTS SHOWN IN FIGS.F2320-0902 AND F2320-1002.

-1шт.

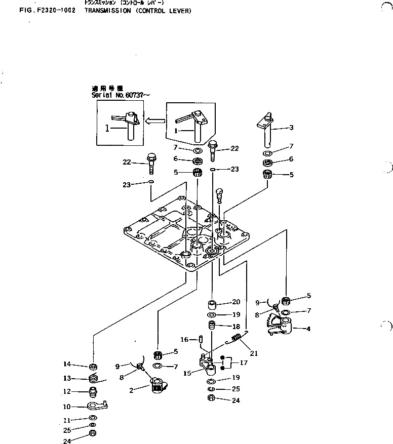
1

14X-15-15712

LEVER

SN: 60737-UP

1шт.

1

14X-15-15711

LEVER

SN: 60001-60736

1шт.

2

14X-15-15721

LEVER

SN: 60001-UP

1шт.

3

14X-15-15610

LEVER

SN: 60001-UP

1шт.

4

14X-15-15621

LEVER

SN: 60001-UP

1шт.

5

06120-02016

BEARING,SEAL (K6)

SN: 60001-UP

4шт.

6

144-15-29110

SEAL,OIL (K6)

SN: 60001-UP

2шт.

7

144-15-25570

WASHER

SN: 60001-UP

4шт.

8

01306-11025

SCREW

SN: 60001-UP

2шт.

9

04059-01010

WIRE

SN: 60001-UP

2шт.

10

14X-15-15791

LEVER

SN: 60001-UP

1шт.

11

175-15-45660

WASHER

SN: 60001-UP

1шт.

12

14X-15-15671

BUSHING

SN: 60001-UP

1шт.

13

14X-15-16192

SPRING

SN: 60001-UP

1шт.

14

14X-15-15840

COLLAR

SN: 60001-UP

1шт.

15

125-15-11440

LEVER

SN: 60001-UP

1шт.

16

144-15-25691

PIN

SN: 60001-UP

1шт.

17

144-15-29120

BEARING

SN: 60001-UP

2шт.

18

144-15-25670

BUSHING

SN: 60001-UP

1шт.

19

175-15-45660

WASHER

SN: 60001-UP

2шт.

20

14X-15-15830

COLLAR

SN: 60001-UP

1шт.

21

14X-15-16180

SPRING

SN: 60001-UP

1шт.

22

134-15-21450

BOLT

SN: 60001-UP

2шт.

23

07000-02015

O-RING (K6)

SN: 60001-UP

2шт.

24

01580-11008

NUT

SN: 60001-UP

2шт.

25

01602-21030

WASHER,SPRING

SN: 60001-UP

2шт.

Выбрано товаров: 34