Запчасти Komatsu S6D125-1AG ВЫКЛЮЧАТЕЛЬ ПОДОГРЕВАТЕЛЯ ДВИГАТЕЛЬ

Схема запчастей Komatsu S6D125-1AG - ВЫКЛЮЧАТЕЛЬ ПОДОГРЕВАТЕЛЯ ДВИГАТЕЛЬ
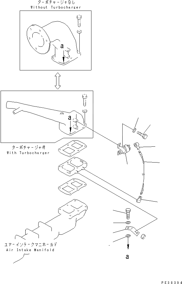
1
2
3
4
5
6
6
7
8
8
1
2
3
4
5
6
6
7
8
8
FIT
1:1
100%

Артикул

Название

Примечание

Количество

1

600-815-2170

SWITCH

SN: 51975-UP

1шт.

2

01010-50616

BOLT

SN: 51975-UP

2шт.

3

01640-20610

WASHER

SN: 51975-UP

2шт.

4

6150-81-4330

PLATE

SN: 51975-UP

1шт.

5

01010-51055

BOLT

SN: 51975-UP

1шт.

6

01640-21016

WASHER

SN: 51975-UP

2шт.

7

6151-81-4410

WIRE¤ 265MM

SN: 51975-UP

1шт.

8

08038-00519

CAP

SN: 51975-UP

2шт.

1

600-815-2170

SWITCH

SN: 51975-UP

1шт.

2

01010-50616

BOLT

SN: 51975-UP

2шт.

3

01640-20610

WASHER

SN: 51975-UP

2шт.

4

6150-81-4330

PLATE

SN: 51975-UP

1шт.

5

01010-51055

BOLT

SN: 51975-UP

1шт.

6

01640-21016

WASHER

SN: 51975-UP

2шт.

7

6151-81-4410

WIRE¤ 265MM

SN: 51975-UP

1шт.

8

08038-00519

CAP

SN: 51975-UP

2шт.

Выбрано товаров: 16