Запчасти Komatsu D65PX-12U ОСНОВН. КОНСТРУКЦИЯ (РАМА И КРЕПЛЕНИЕ) (БЕЗ КАБИНЫ) (DP¤PX)(№-) КАБИНА ОПЕРАТОРА И СИСТЕМА УПРАВЛЕНИЯ

Схема запчастей Komatsu D65PX-12U - ОСНОВН. КОНСТРУКЦИЯ (РАМА И КРЕПЛЕНИЕ) (БЕЗ КАБИНЫ) (DP¤PX)(№-) КАБИНА ОПЕРАТОРА И СИСТЕМА УПРАВЛЕНИЯ
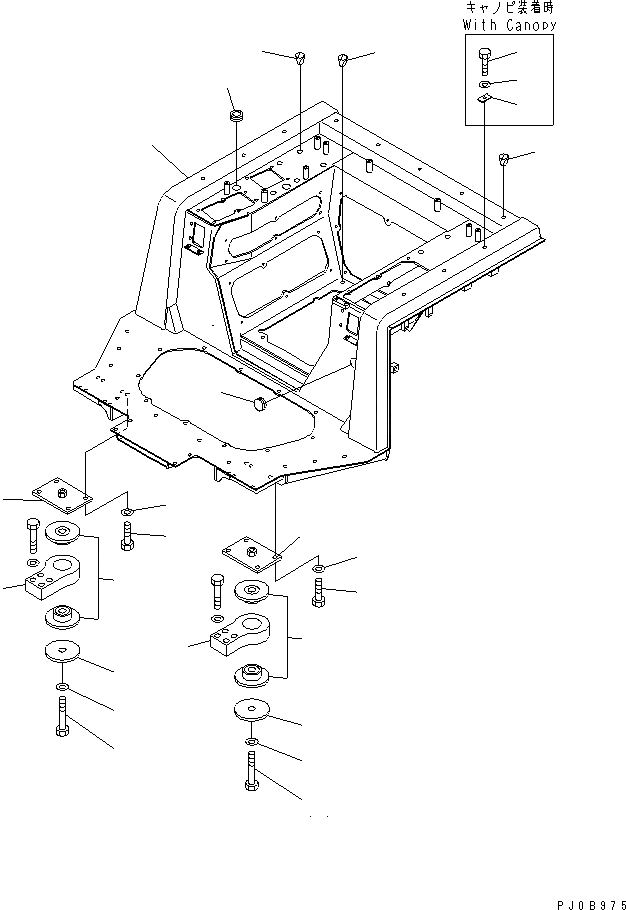
1
2
3
4
5
6
7
8
9
10
10
11
11
12
12
13
13
14
14
15
15
16
16
17
17
FIT
1:1
100%

Артикул

Название

Примечание

Количество

1

14X-54-25515

FRAME

SN: 65001-UP

1шт.

2

07049-01215

PLUG

SN: 60884-UP

2шт.

3

07049-02430

PLUG

SN: 60884-UP

2шт.

4

14X-54-25190

PLATE,(WITH CANOPY)

SN: 65001-UP

2шт.

5

01010-81225

BOLT,(WITH CANOPY)

SN: 65001-UP

2шт.

6

01643-31232

WASHER,(WITH CANOPY)

SN: 65001-UP

2шт.

7

09415-03614

CAP

SN: 60884-UP

1шт.

8

07049-01215

PLUG

SN: 65001-UP

8шт.

9

08037-02512

GROMMET

SN: 65001-UP

1шт.

10

14X-54-27120

BRACKET

SN: 65001-UP

2шт.

11

15A-54-15110

RUBBER

SN: 65001-UP

4шт.

12

17M-54-24351

PLATE

SN: 65001-UP

2шт.

13

14X-54-27130

PLATE

SN: 65001-UP

2шт.

14

01011-82435

BOLT

SN: 65001-UP

2шт.

15

01643-32460

WASHER

SN: 65001-UP

2шт.

16

01010-81635

BOLT

SN: 65001-UP

8шт.

17

01643-31645

WASHER

SN: 65001-UP

8шт.

Выбрано товаров: 17