Запчасти Komatsu D65PX-15 СЦЕПНОЕ УСТРОЙСТВО (ЖЕСТК.) (ДЛЯ СКРЕППЕРА) РАБОЧЕЕ ОБОРУДОВАНИЕ

Схема запчастей Komatsu D65PX-15 - СЦЕПНОЕ УСТРОЙСТВО (ЖЕСТК.) (ДЛЯ СКРЕППЕРА) РАБОЧЕЕ ОБОРУДОВАНИЕ
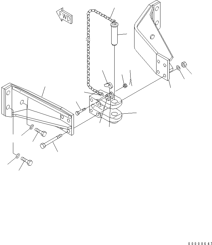
1
2
3
4
5
6
7
8
9
10
11
12
13
14
15
16
17
18
18
FIT
1:1
100%

Артикул

Название

Примечание

Количество

1

144-69-11120

DRAWBAR ASS'Y

SN: 67001-UP

1шт.

2

131-69-11120

PLATE (WELDED)

SN: 67001-UP

1шт.

3

131-69-11130

PLATE (WELDED)

SN: 67001-UP

1шт.

4

09245-50060

HOOK (WELDED)

SN: 67001-UP

1шт.

5

09245-24830

CHAIN

SN: 67001-UP

1шт.

6

09247-45180

PIN

SN: 67001-UP

1шт.

7

09249-00016

LATCH

SN: 67001-UP

1шт.

8

01052-51260

BOLT

SN: 67001-UP

1шт.

9

01592-11215

NUT

SN: 67001-UP

1шт.

10

04050-13022

PIN,COTTER

SN: 67001-UP

1шт.

11

144-69-11161

BOLT

SN: 67001-UP

4шт.

12

01643-32460

WASHER

SN: 67001-UP

4шт.

13

01582-12419

NUT

SN: 67001-UP

4шт.

14

14X-69-11210

BRACKET,L.H.

SN: 67001-UP

1шт.

15

14X-69-11220

BRACKET,R.H.

SN: 67001-UP

1шт.

16

01010-83390

BOLT

SN: 67001-UP

4шт.

17

01010-83375

BOLT

SN: 67001-UP

2шт.

18

01643-33380

WASHER

SN: 67001-UP

6шт.

Выбрано товаров: 18