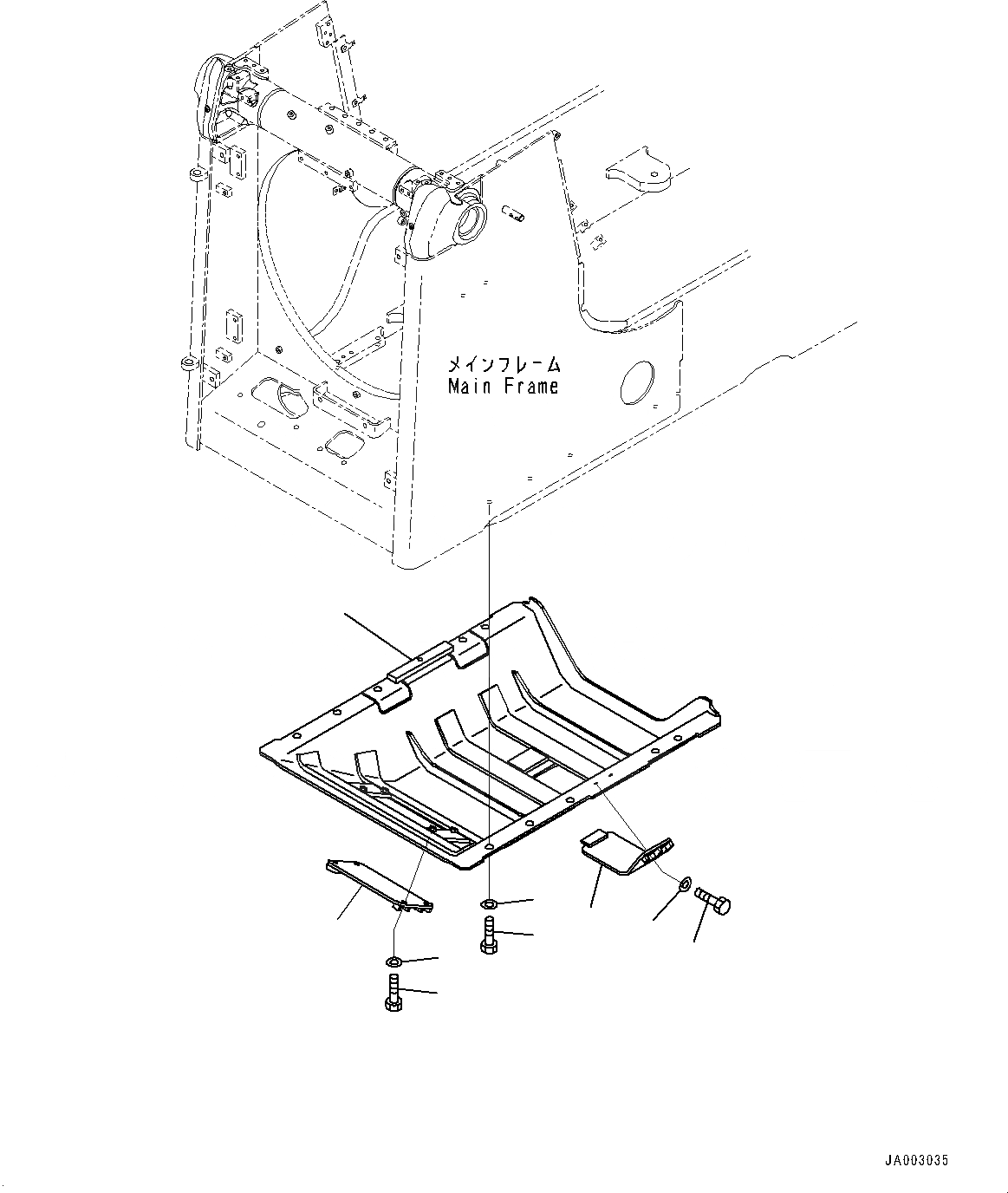
Запчасти Komatsu D65PX-16 НИЖН. ЗАЩИТА (№8-) НИЖН. ЗАЩИТА, HINGED

Схема запчастей Komatsu D65PX-16 - НИЖН. ЗАЩИТА (№8-) НИЖН. ЗАЩИТА, HINGED
1
2
3
4
5
6
7
8
9
FIT
1:1
100%

Артикул

Название

Примечание

Количество

1

14X-54-64211

Guard

SN: 80974-UP

1шт.

1

14X-54-54211

Guard

SN: 80001-80973

1шт.

2

14X-54-54121

Cover

SN: 80001-UP

1шт.

3

01010-81235

Bolt

SN: 80001-UP

2шт.

4

01643-31232

Washer

SN: 80001-UP

2шт.

5

14X-54-54131

Cover

SN: 80001-UP

1шт.

6

01010-81235

Bolt

SN: 80001-UP

4шт.

7

01643-31232

Washer

SN: 80001-UP

4шт.

8

01010-81635

Bolt

SN: 80001-UP

11шт.

9

01643-31645

Washer

SN: 80001-UP

11шт.

Выбрано товаров: 10