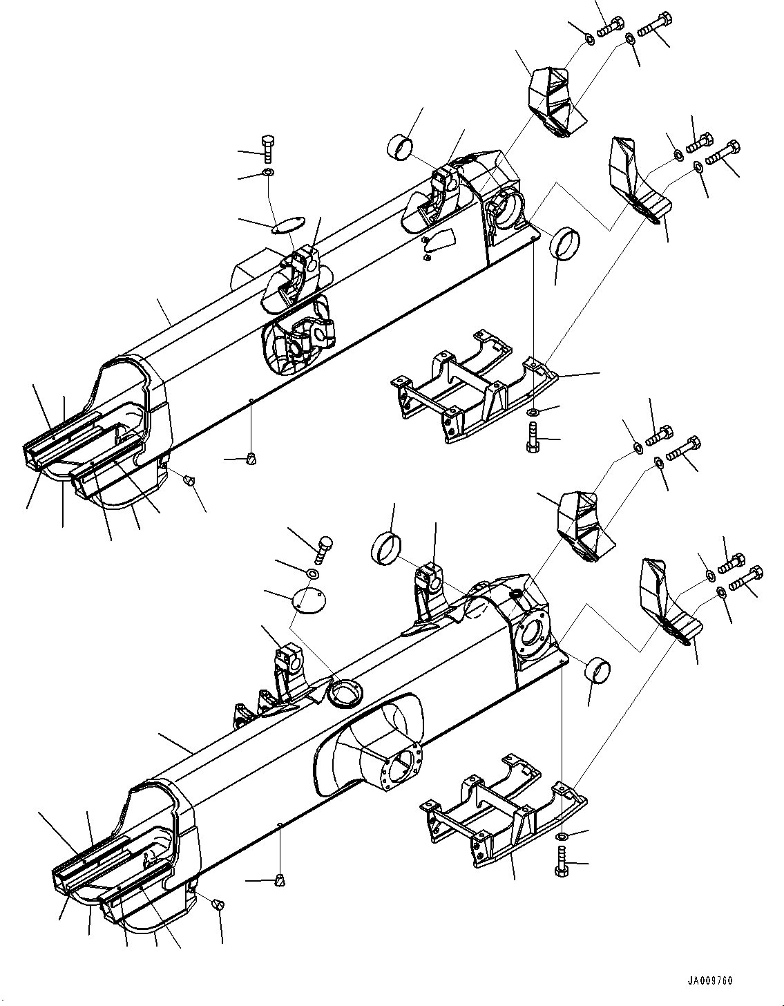
Запчасти Komatsu D65PX-16 ГУСЕНИЧНАЯ РАМА (№8-) ГУСЕНИЧНАЯ РАМА

Схема запчастей Komatsu D65PX-16 - ГУСЕНИЧНАЯ РАМА (№8-) ГУСЕНИЧНАЯ РАМА
14
39
38
5
5
4
2
6
3
1
3
7
35
37
36
21
20
19
9
8
7
35
18
17
36
37
34
32
34
23
33
24
26
25
26
22
32
34
30
33
26
24
34
25
26
31
28
29
27
14
13
12
38
12
11
11
10
39
15
16
FIT
1:1
100%

Артикул

Название

Примечание

Количество

1

14X-30-51131

Frame

SN: 80001-UP

1шт.

2

14X-30-51331

Guard,Welded

SN: 80001-UP

1шт.

3

14X-30-51C71

Plate,Welded

SN: 80001-UP

2шт.

4

14X-30-51341

Guard,Welded

SN: 80001-UP

1шт.

5

14X-30-11D52

Plate,Welded

SN: 80001-UP

2шт.

6

14X-30-11D52

Plate,Welded

SN: 80001-UP

2шт.

7

14X-30-51650

Bracket,Welded

SN: 80001-UP

2шт.

8

14Y-30-18130

Bushing

SN: 80001-UP

1шт.

9

14Y-30-18140

Bushing

SN: 80001-UP

1шт.

10

14X-30-51141

Frame

SN: 80001-UP

1шт.

11

14X-30-51C71

Plate,Welded

SN: 80001-UP

2шт.

12

14X-30-11D52

Plate,Welded

SN: 80001-UP

2шт.

13

14X-30-11D52

Plate,Welded

SN: 80001-UP

2шт.

14

14X-30-51650

Bracket,Welded

SN: 80001-UP

2шт.

15

14X-30-51331

Guard,Welded

SN: 80001-UP

1шт.

16

14X-30-51341

Guard,Welded

SN: 80001-UP

1шт.

17

14Y-30-18130

Bushing

SN: 80001-UP

1шт.

18

14Y-30-18140

Bushing

SN: 80001-UP

1шт.

19

14X-30-51440

Guard

SN: 80001-UP

1шт.

20

01010-81845

Bolt

SN: 80001-UP

6шт.

21

01643-31845

Washer

SN: 80001-UP

6шт.

22

14X-30-51390

Bracket

SN: 80001-UP

1шт.

23

14X-30-51410

Bracket

SN: 80001-UP

1шт.

24

01010-81850

Bolt

SN: 80001-UP

4шт.

25

01010-81865

Bolt

SN: 80001-UP

4шт.

26

01643-31845

Washer

SN: 80001-UP

8шт.

27

14X-30-51440

Guard

SN: 80001-UP

1шт.

28

01010-81845

Bolt

SN: 80001-UP

6шт.

29

01643-31845

Washer

SN: 80001-UP

6шт.

30

14X-30-51410

Bracket

SN: 80001-UP

1шт.

31

14X-30-51390

Bracket

SN: 80001-UP

1шт.

32

01010-81850

Bolt

SN: 80001-UP

4шт.

33

01010-81865

Bolt

SN: 80001-UP

4шт.

34

01643-31845

Washer

SN: 80001-UP

8шт.

35

14Y-30-11277

Cover

SN: 80001-UP

2шт.

36

01010-81225

Bolt

SN: 80001-UP

4шт.

37

01643-31232

Washer

SN: 80001-UP

4шт.

38

07049-01215

Plug

SN: 80001-UP

16шт.

39

07049-01822

Plug

SN: 80001-UP

12шт.

Выбрано товаров: 39