Запчасти Komatsu D65PX-16 КАБИНА ROPS, КОНСОЛЬН. БЛОК (№8-) КАБИНА ROPS, С ЗАДН.VIEW CAMERA, KOMTRAX, ORBCOMM, ДЛЯ СТРАН ЕС НОВ. NOISE ARRANGEMENT , PROVISION ДЛЯ РАДИО

Схема запчастей Komatsu D65PX-16 - КАБИНА ROPS, КОНСОЛЬН. БЛОК (№8-) КАБИНА ROPS, С ЗАДН.VIEW CAMERA, KOMTRAX, ORBCOMM, ДЛЯ СТРАН ЕС НОВ. NOISE ARRANGEMENT , PROVISION ДЛЯ РАДИО
15
13
14
12
11
10
9
8
7
6
5
4
3
2
4
10
1
16
18
17
FIT
1:1
100%

Артикул

Название

Примечание

Количество

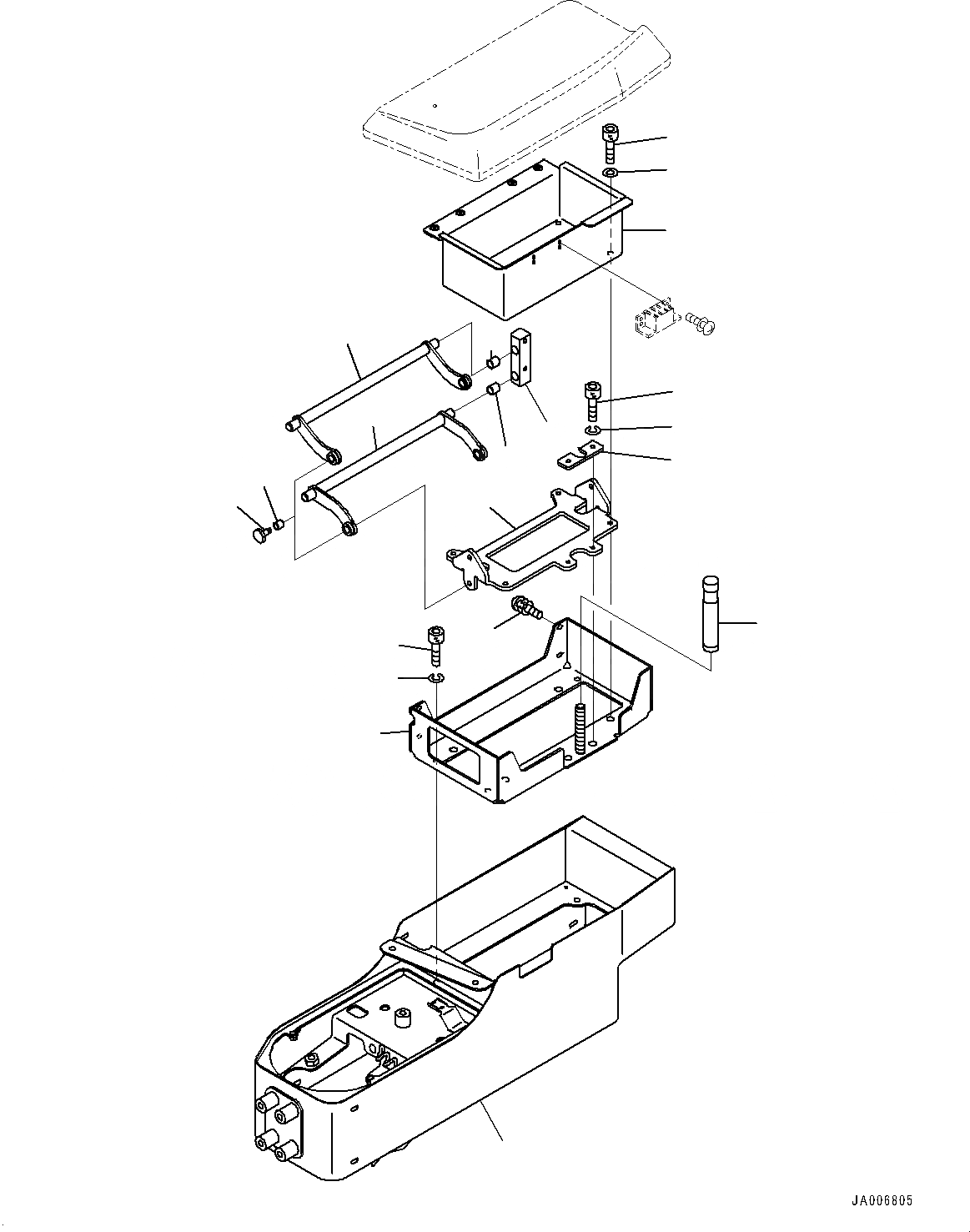
1

14X-43-51211

Box, Console

SN: 80001-UP

1шт.

|$1

14X-43-51501

Bracket Assembly

SN: 80001-UP

1шт.

2

Bracket

SN: 80001-UP

1шт.

3

19M-43-33720

Bracket

SN: 80001-UP

1шт.

4

19M-43-33730

Arm

SN: 80001-UP

2шт.

5

19M-43-33740

Block

SN: 80001-UP

2шт.

6

19M-43-33750

Pin

SN: 80001-UP

4шт.

7

19M-43-33760

Bushing

SN: 80001-UP

4шт.

8

19M-43-33770

Knob

SN: 80001-UP

1шт.

9

19M-43-33780

Plate

SN: 80001-UP

1шт.

10

19M-43-34330

Bushing

SN: 80001-UP

4шт.

11

01023-60516

Screw

SN: 80001-UP

4шт.

12

01252-80410

Bolt, Hexagon Socket Head

SN: 80001-UP

2шт.

13

01601-20410

Washer

SN: 80001-UP

2шт.

14

01252-80510

Bolt

SN: 80001-UP

4шт.

15

01601-20512

Washer

SN: 80001-UP

4шт.

16

14X-43-51691

Bracket

SN: 80001-UP

1шт.

17

01252-B0510

Bolt, Hexagon Socket Head

SN: 80001-UP

4шт.

18

01601-50513

Washer, Spring

SN: 80001-UP

4шт.

Выбрано товаров: 19