Запчасти Komatsu D65WX-15E0 ПРЕДПУСКОВ. ПОДОГРЕВ ЭЛЕКТРОПРОВОДКА КАБИНА ОПЕРАТОРА И СИСТЕМА УПРАВЛЕНИЯ

Схема запчастей Komatsu D65WX-15E0 - ПРЕДПУСКОВ. ПОДОГРЕВ ЭЛЕКТРОПРОВОДКА КАБИНА ОПЕРАТОРА И СИСТЕМА УПРАВЛЕНИЯ
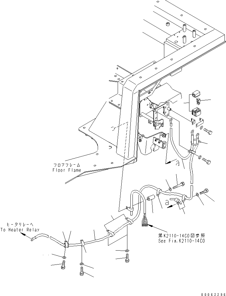
1
2
3
4
5
5
5
5
6
6
6
7
7
7
8
9
10
11
12
13
14
15
FIT
1:1
100%

Артикул

Название

Примечание

Количество

1

421-06-22830

FUSE, 120A

SN: 69001-UP

1шт.

2

421-06-22880

HOLDER

SN: 69001-UP

1шт.

2

421-06-22990

BOLT

SN: 69001-UP

4шт.

3

14X-06-35230

CABLE

SN: 69001-UP

1шт.

4

14X-06-35250

CABLE

SN: 69001-UP

1шт.

5

04434-51410

CLIP

SN: 69001-UP

6шт.

6

01010-81020

BOLT

SN: 69001-UP

4шт.

7

01643-31032

WASHER

SN: 69001-UP

4шт.

8

195-979-5190

COLLAR

SN: 69001-UP

1шт.

9

01010-81070

BOLT

SN: 69001-UP

1шт.

10

01643-31032

WASHER

SN: 69001-UP

1шт.

11

07095-20314

CUSHION

SN: 69001-UP

1шт.

12

04434-52110

CLIP

SN: 69001-UP

1шт.

13

01010-81020

BOLT

SN: 69001-UP

1шт.

14

01643-31032

WASHER

SN: 69001-UP

1шт.

15

08034-40521

BAND

SN: 69001-UP

1шт.

Выбрано товаров: 16