Запчасти Komatsu D65WX-15E0 ЗАЩИТА КАТКОВ (ПОЛН. ЗАЩИТА) (PLUS ТИП)(№977-) ХОДОВАЯ

Схема запчастей Komatsu D65WX-15E0 - ЗАЩИТА КАТКОВ (ПОЛН. ЗАЩИТА) (PLUS ТИП)(№977-) ХОДОВАЯ
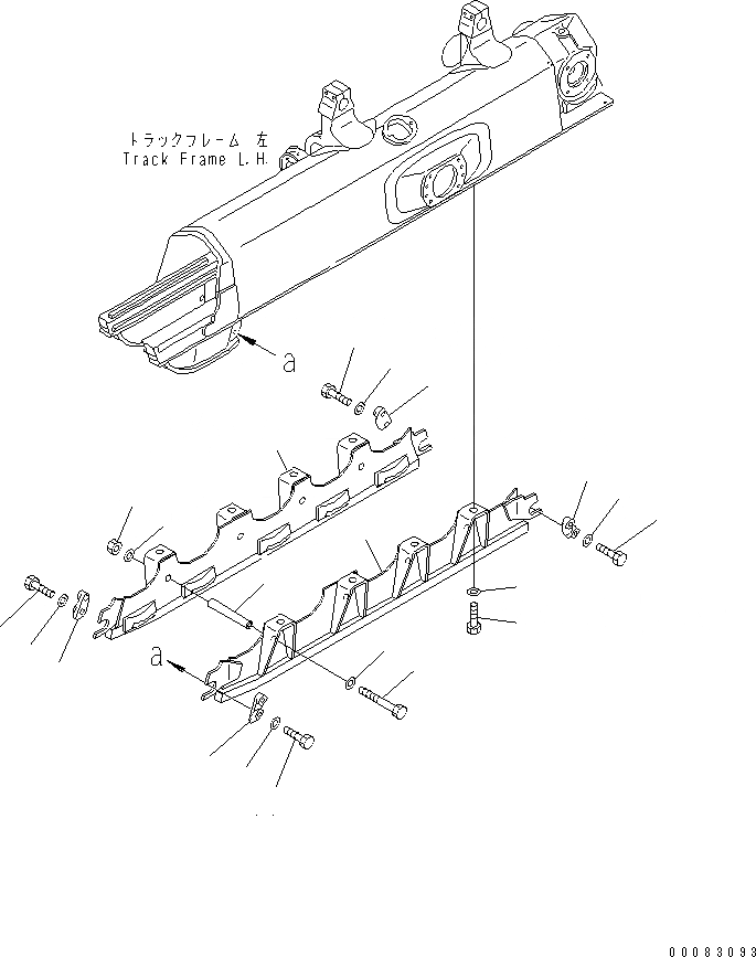
1
2
3
4
5
6
7
8
8
9
9
10
10
11
11
11
11
12
12
12
12
FIT
1:1
100%

Артикул

Название

Примечание

Количество

1

14X-30-27211

GUARD,L.H.

SN: 69077-UP

2шт.

2

14X-30-27221

GUARD,R.H.

SN: 69077-UP

2шт.

3

01010-81840

BOLT

SN: 69077-UP

16шт.

4

01643-31845

WASHER

SN: 69077-UP

16шт.

5

14X-30-27230

COLLAR

SN: 69077-UP

8шт.

6

09205-18330

BOLT

SN: 69077-UP

8шт.

7

01580-11815

NUT

SN: 69077-UP

8шт.

8

01643-31845

WASHER

SN: 69077-UP

16шт.

9

130-30-12170

PLATE

SN: 69077-UP

4шт.

10

130-30-12180

PLATE

SN: 69077-UP

4шт.

11

01010-81230

BOLT

SN: 69077-UP

16шт.

12

01643-31232

WASHER

SN: 69077-UP

16шт.

Выбрано товаров: 12