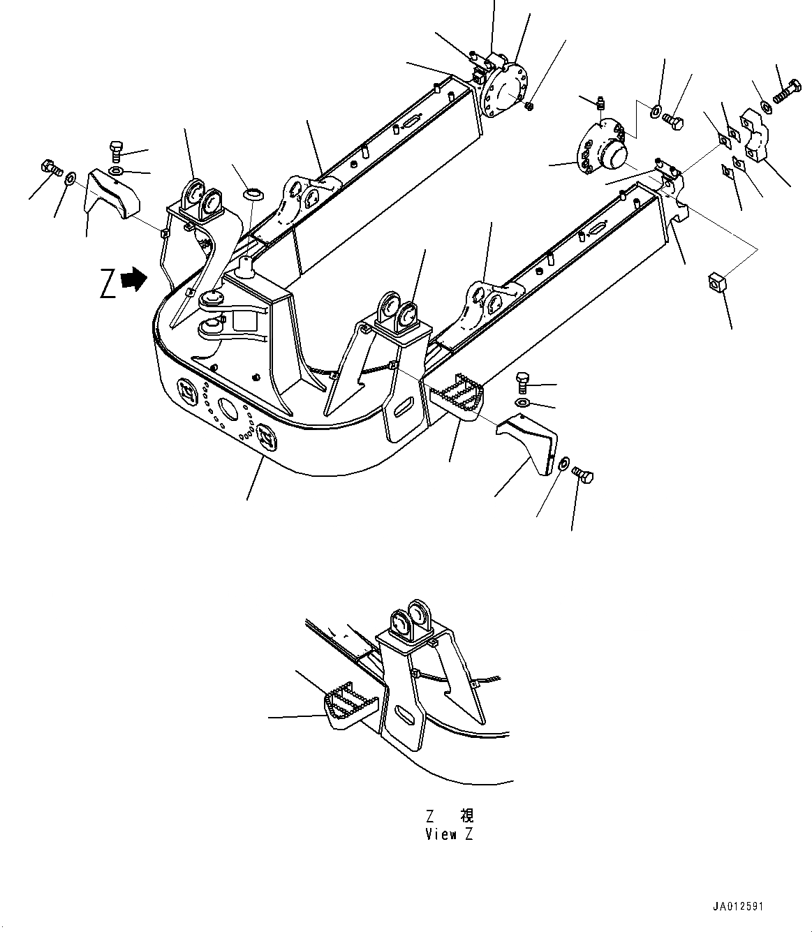
Запчасти Komatsu D65WX-16 DOZER РАМА (№8-) DOZER РАМА, С ПОВОРОТН. ОТВАЛ С ИЗМ. УГЛОМ DOZER

Схема запчастей Komatsu D65WX-16 - DOZER РАМА (№8-) DOZER РАМА, С ПОВОРОТН. ОТВАЛ С ИЗМ. УГЛОМ DOZER
6
5
2
3
4
4
13
13
7
7
1
8
8
10
9
11
12
12
12
12
18
14
15
16
16
16
16
17
17
17
17
21
20
22
23
19
19
FIT
1:1
100%

Артикул

Название

Примечание

Количество

1

14X-72-51901

Frame Assembly

SN: 80001-UP

1шт.

2

14X-72-51251

Bracket,Welded

SN: 80001-UP

1шт.

3

14X-72-51261

Bracket,Welded

SN: 80001-UP

1шт.

4

14X-72-51271

Bracket,Welded

SN: 80001-UP

2шт.

5

14X-72-51182

Step,Welded

SN: 80001-UP

1шт.

6

14X-72-51490

Step,Welded

SN: 80001-UP

1шт.

7

14X-72-51241

Bracket,Welded

SN: 80001-UP

2шт.

|$7

14X-72-00010

Pivot Assembly

SN: 80001-UP

2шт.

8

14X-72-51471

Cap

SN: 80001-UP

1шт.

9

01011-82770

Bolt

SN: 80001-UP

2шт.

10

01643-32780

Washer

SN: 80001-UP

2шт.

11

195-71-11512

Nut

SN: 80001-UP

2шт.

12

14X-72-51460

Shim, T=1.0mm

SN: 80001-UP

20шт.

13

Bearing

SN: 80001-UP

1шт.

14

14X-72-51731

Cover

SN: 80001-UP

1шт.

15

14X-72-51741

Cover

SN: 80001-UP

1шт.

16

01010-81225

Bolt

SN: 80001-UP

6шт.

17

01643-31232

Washer

SN: 80001-UP

6шт.

18

14X-72-51390

Spacer

SN: 80001-UP

1шт.

19

14X-72-61421

Trunnion

SN: 80721-UP

2шт.

19

14X-72-51421

Trunnion

SN: 80001-80720

2шт.

20

01010-82065

Bolt

SN: 80009-UP

16шт.

20

01010-82465

Bolt

SN: 80001-80008

16шт.

21

01643-32060

Washer

SN: 80009-UP

16шт.

21

01643-32460

Washer

SN: 80001-80008

16шт.

22

07020-00000

Fitting, Grease

SN: 80001-UP

2шт.

23

07043-70108

Plug

SN: 80002-UP

2шт.

Выбрано товаров: 27