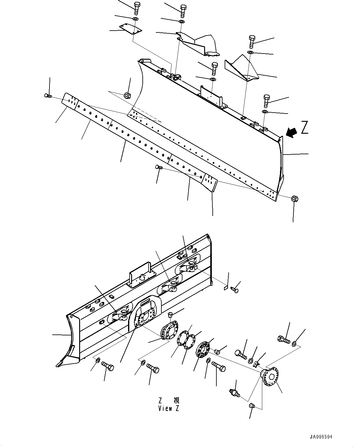
Запчасти Komatsu D65WX-17 DOZER ОТВАЛ, (№-8) DOZER ОТВАЛ, ДЛЯ ПОВОРОТН. ОТВАЛА С ИЗМ. УГЛОМ DOZER, ВНУТР. РАМА, D MACHINE УПРАВЛ-Е ДВОЙН. МАЧТА

Схема запчастей Komatsu D65WX-17 - DOZER ОТВАЛ, (№-8) DOZER ОТВАЛ, ДЛЯ ПОВОРОТН. ОТВАЛА С ИЗМ. УГЛОМ DOZER, ВНУТР. РАМА, D MACHINE УПРАВЛ-Е ДВОЙН. МАЧТА
3
3
3
2
1
12
13
10
8
9
8
6
5
4
5
7
9
12
13
11
1
27
28
26
26
31
23
31
24
25
24
25
40
41
29
30
35
36
33
34
32
38
39
37
14
16
15
18
17
19
20
21
22
FIT
1:1
100%

Артикул

Название

Примечание

Количество

1

14X-72-64502

Blade

SN: 2081-@

1шт.

1

14X-72-64501

Blade

SN: 1001-2080

1шт.

2

14X-72-51120

Plate,Welded

SN: 1001-@

1шт.

3

14X-72-51131

Bracket,Welded

SN: 1001-2080

3шт.

4

14X-72-51610

Cutting Edge

SN: 1001-@

1шт.

5

13G-72-61420

Cutting Edge

SN: 1001-@

2шт.

6

14Y-71-11330

End Bit,L.H.

SN: 1001-@

1шт.

7

14Y-71-11340

End Bit,R.H.

SN: 1001-@

1шт.

8

02090-11270

Bolt

SN: 1001-@

33шт.

9

02290-11219

Nut

SN: 1001-@

33шт.

10

14X-72-61192

Cover

SN: 1001-@

1шт.

11

14X-72-61381

Cover

SN: 1001-@

1шт.

12

01010-81230

Bolt

SN: 1001-@

8шт.

13

01643-31232

Washer

SN: 1001-@

8шт.

14

14X-72-61690

Plate

SN: 1001-@

1шт.

15

01010-82040

Bolt

SN: 1001-@

4шт.

16

01643-32060

Washer

SN: 1001-@

4шт.

17

01010-81220

Bolt

SN: 1001-@

4шт.

18

01643-31232

Washer

SN: 1001-@

4шт.

19

01010-82035

Bolt

SN: 1001-@

4шт.

20

01643-32060

Washer

SN: 1001-@

4шт.

21

01010-81016

Bolt

SN: 1001-@

2шт.

22

01643-31032

Washer

SN: 1001-@

2шт.

23

134-72-62442

Bearing

SN: 1001-@

1шт.

24

134-72-72450

Shim, T=0.5mm

SN: 1001-@

4шт.

25

134-72-72460

Shim, T=1.0mm

SN: 1001-@

14шт.

26

134-72-71151

Cap

SN: 1001-@

2шт.

27

209-09-51210

Bolt

SN: 1001-@

8шт.

28

01643-32460

Washer

SN: 1001-@

8шт.

29

01010-82060

Bolt

SN: 1001-@

10шт.

30

01643-32060

Washer

SN: 1001-@

10шт.

31

07049-01215

Plug

SN: 1001-@

6шт.

32

134-72-62474

Trunnion

SN: 1001-@

1шт.

33

01010-82075

Bolt

SN: 1001-@

14шт.

34

01643-32060

Washer

SN: 1001-@

14шт.

35

07020-00000

Fitting, Grease

SN: 1001-@

1шт.

36

07049-02228

Plug, Cork

SN: 1001-@

3шт.

37

14X-72-51530

Bracket

SN: 1001-@

1шт.

38

01010-81045

Bolt

SN: 1001-@

1шт.

39

01643-31032

Washer

SN: 1001-@

1шт.

40

09601-50000

Plate, Name (Limited Supply), EU Regulation

SN: 1001-@

1шт.

41

04418-13060

Screw

SN: 1001-@

4шт.

Выбрано товаров: 42