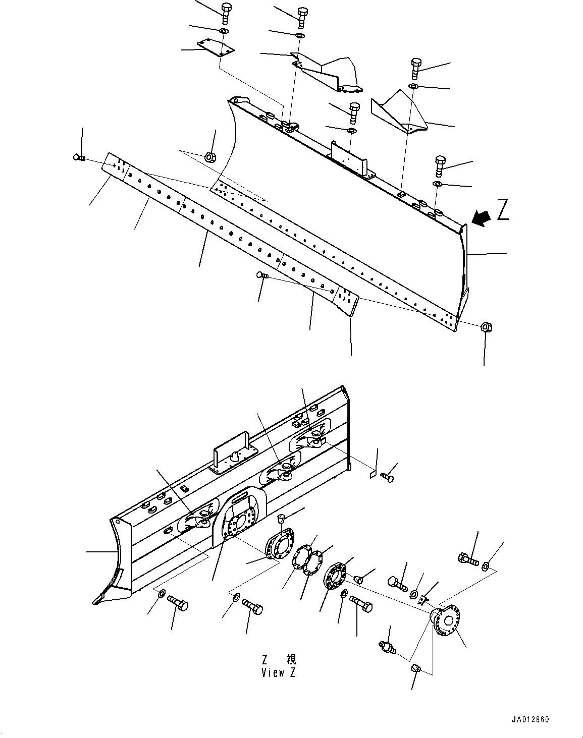
Запчасти Komatsu D65WX-17 DOZER ОТВАЛ, (№8-) DOZER ОТВАЛ, ДЛЯ ПОВОРОТН. ОТВАЛА С ИЗМ. УГЛОМ DOZER, ВНУТР. РАМА, D MACHINE УПРАВЛ-Е ДВОЙН. МАЧТА

Схема запчастей Komatsu D65WX-17 - DOZER ОТВАЛ, (№8-) DOZER ОТВАЛ, ДЛЯ ПОВОРОТН. ОТВАЛА С ИЗМ. УГЛОМ DOZER, ВНУТР. РАМА, D MACHINE УПРАВЛ-Е ДВОЙН. МАЧТА
3
4
4
2
1
13
14
11
9
10
9
7
6
5
6
8
10
13
14
12
1
28
29
27
27
32
24
32
25
26
25
26
41
42
30
31
36
37
34
35
33
39
40
38
15
17
16
19
18
20
21
22
23
FIT
1:1
100%

Артикул

Название

Примечание

Количество

1

14X-72-64502

Blade

SN: 2081-UP

1шт.

2

14X-72-51120

Plate,Welded

SN: 1001-UP

1шт.

3

14X-72-51131

Bracket,Welded

SN: 2081-UP

1шт.

4

14X-72-51150

Bracket,Welded

SN: 2081-UP

2шт.

5

14X-72-51610

Cutting Edge

SN: 1001-UP

1шт.

6

13G-72-61420

Cutting Edge

SN: 1001-UP

2шт.

7

14Y-71-11330

End Bit,L.H.

SN: 1001-UP

1шт.

8

14Y-71-11340

End Bit,R.H.

SN: 1001-UP

1шт.

9

02090-11270

Bolt

SN: 1001-UP

33шт.

10

02290-11219

Nut

SN: 1001-UP

33шт.

11

14X-72-61192

Cover

SN: 1001-UP

1шт.

12

14X-72-61381

Cover

SN: 1001-UP

1шт.

13

01010-81230

Bolt

SN: 1001-UP

8шт.

14

01643-31232

Washer

SN: 1001-UP

8шт.

15

14X-72-61690

Plate

SN: 1001-UP

1шт.

16

01010-82040

Bolt

SN: 1001-UP

4шт.

17

01643-32060

Washer

SN: 1001-UP

4шт.

18

01010-81220

Bolt

SN: 1001-UP

4шт.

19

01643-31232

Washer

SN: 1001-UP

4шт.

20

01010-82035

Bolt

SN: 1001-UP

4шт.

21

01643-32060

Washer

SN: 1001-UP

4шт.

22

01010-81016

Bolt

SN: 1001-UP

2шт.

23

01643-31032

Washer

SN: 1001-UP

2шт.

24

134-72-62442

Bearing

SN: 1001-UP

1шт.

25

134-72-72450

Shim, T=0.5mm

SN: 1001-UP

4шт.

26

134-72-72460

Shim, T=1.0mm

SN: 1001-UP

14шт.

27

134-72-71151

Cap

SN: 1001-UP

2шт.

28

209-09-51210

Bolt

SN: 1001-UP

8шт.

29

01643-32460

Washer

SN: 1001-UP

8шт.

30

01010-82060

Bolt

SN: 1001-UP

10шт.

31

01643-32060

Washer

SN: 1001-UP

10шт.

32

07049-01215

Plug

SN: 1001-UP

6шт.

33

134-72-62474

Trunnion

SN: 1001-UP

1шт.

34

01010-82075

Bolt

SN: 1001-UP

14шт.

35

01643-32060

Washer

SN: 1001-UP

14шт.

36

07020-00000

Fitting, Grease

SN: 1001-UP

1шт.

37

07049-02228

Plug, Cork

SN: 1001-UP

3шт.

38

14X-72-51530

Bracket

SN: 1001-UP

1шт.

39

01010-81045

Bolt

SN: 1001-UP

1шт.

40

01643-31032

Washer

SN: 1001-UP

1шт.

41

09601-50000

Plate, Name (Limited Supply), EU Regulation

SN: 1001-UP

1шт.

42

04418-13060

Screw

SN: 1001-UP

4шт.

Выбрано товаров: 42