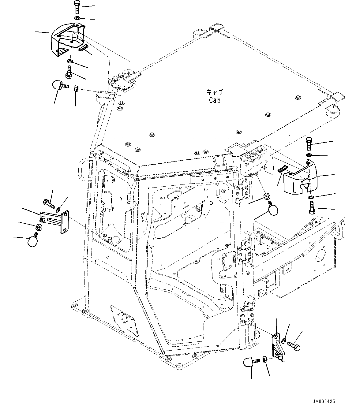
Запчасти Komatsu D65WX-17 КАБИНА ROPS, ДВЕРЬ ФИКСАТОР ОТКРЫТИЯ (/) (№-) КАБИНА ROPS, С AM-FM STEREO РАДИО С AUX ФИКСИР., СЕВ. АМЕРИКА

Схема запчастей Komatsu D65WX-17 - КАБИНА ROPS, ДВЕРЬ ФИКСАТОР ОТКРЫТИЯ (/) (№-) КАБИНА ROPS, С AM-FM STEREO РАДИО С AUX ФИКСИР., СЕВ. АМЕРИКА
12
7
6
15
14
13
14
15
8
9
10
11
7
6
10
11
1
2
3
4
5
1
3
2
5
4
FIT
1:1
100%

Артикул

Название

Примечание

Количество

1

14X-Y79-6490

Bracket

SN: 1001-UP

2шт.

2

198-54-42260

Bolt

SN: 1001-UP

4шт.

3

01643-71645

Washer

SN: 1001-UP

4шт.

4

01580-11210

Nut

SN: 1001-UP

2шт.

5

17A-Z11-3592

Stopper

SN: 1001-UP

2шт.

6

01580-11210

Nut

SN: 1001-UP

2шт.

7

17A-Z11-3592

Stopper

SN: 1001-UP

2шт.

8

17A-Z11-5410

Cover,L.H.

SN: 1001-UP

1шт.

9

14X-Y79-2290

Trim

SN: 1001-UP

1шт.

10

01010-80616

Bolt

SN: 1001-UP

4шт.

11

01643-30623

Washer

SN: 1001-UP

4шт.

12

17A-Z11-5420

Cover,R.H.

SN: 1001-UP

1шт.

13

14X-Y79-2290

Trim

SN: 1001-UP

1шт.

14

01010-80616

Bolt

SN: 1001-UP

4шт.

15

01643-30623

Washer

SN: 1001-UP

4шт.

Выбрано товаров: 15