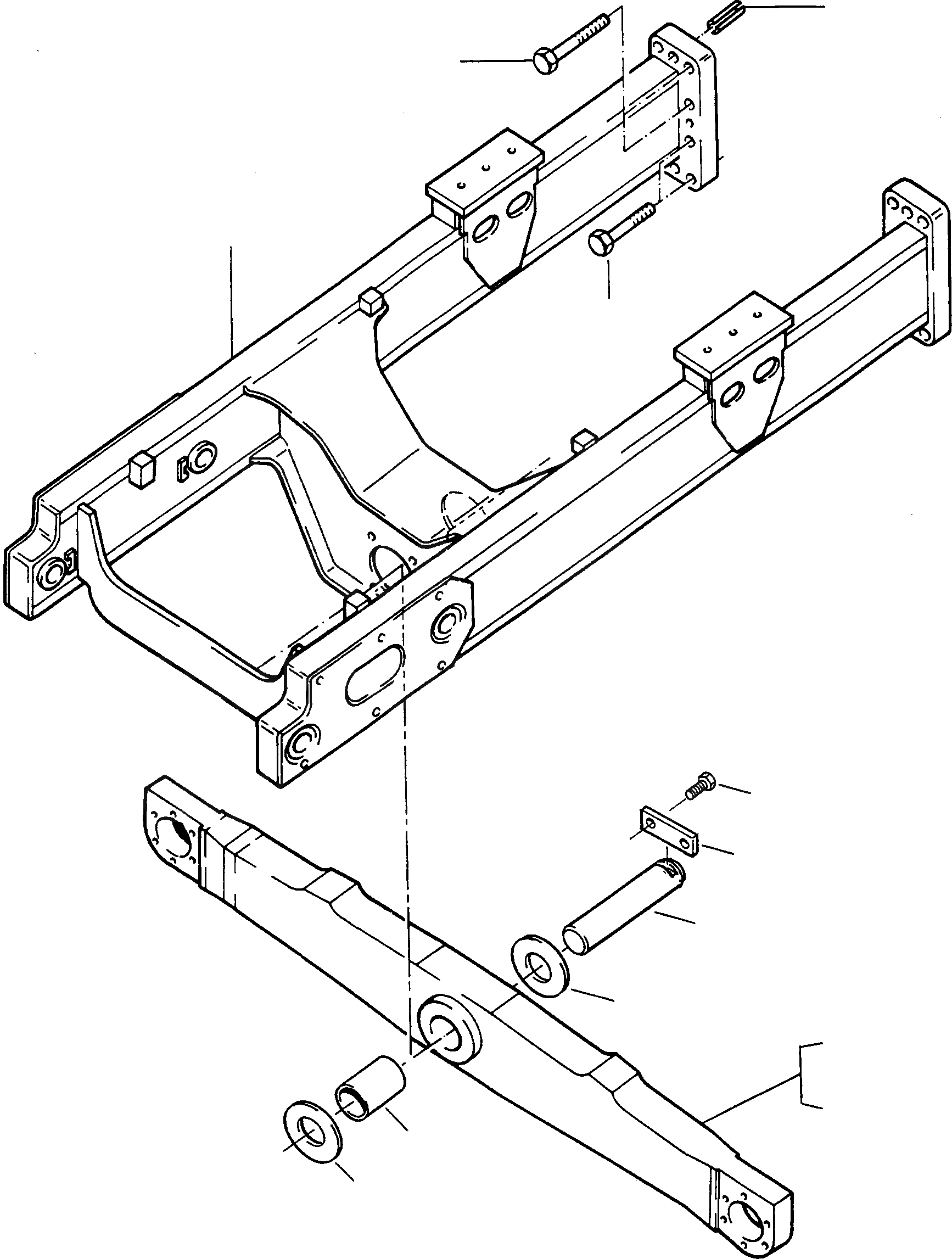
Запчасти Komatsu D670E РАМА ШАССИ И SUPERSTRUCTURE

Схема запчастей Komatsu D670E - РАМА ШАССИ И SUPERSTRUCTURE
4
3
1
2
11
10
9
8
5
6
7
8
FIT
1:1
100%

Артикул

Название

Примечание

Количество

1

4101131M91

FRAME

DeutschDesc: RAHMEN

1шт.

2

1444099X1

SCREW

DeutschDesc: SCHRAUBE

12шт.

3

3002969X1

SCREW

DeutschDesc: SCHRAUBE

4шт.

4

2999761M1

ADAPTER SLEEVES

DeutschDesc: SPANNHUELSE

4шт.

5

4101178M91

BRIDGE PIECE

DeutschDesc: TRAVERSE

1шт.

6

4101180M91

BRIDGE PIECE

EnglischBem: FOR LGP

1шт.

7

4001078M1

BUSHING

DeutschDesc: BUCHSE

1шт.

8

2907147M1

DISC

EnglischBem: THICKNESS 1 MM

-26шт.

9

4101897M1

PIN

DeutschDesc: BOLZEN

1шт.

10

4000443M1

BRACKET

DeutschDesc: HALTER

1шт.

11

3004451X1

SCREW

DeutschDesc: SCHRAUBE

2шт.

Выбрано товаров: 11