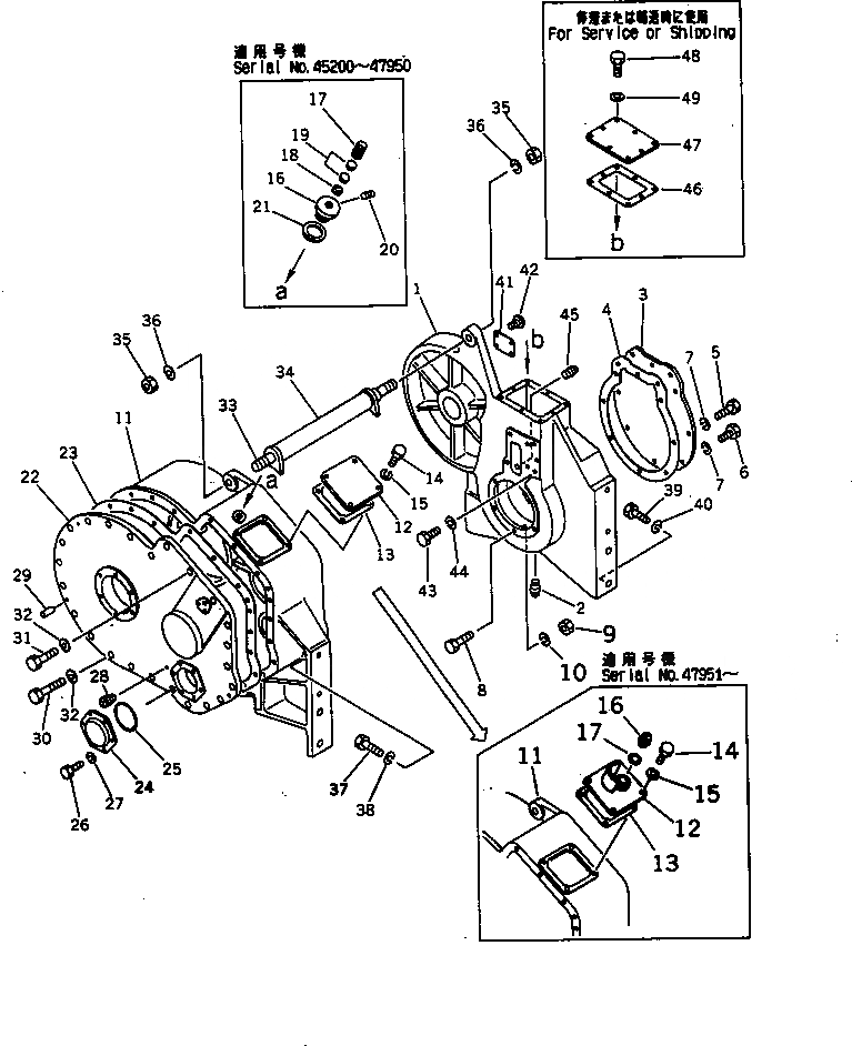
Запчасти Komatsu D70-LE РАМА (ДЛЯ ТЯГОВ. ЛЕБЕДКИ) DOZER И СЦЕПНОЕ УСТРОЙСТВО

Схема запчастей Komatsu D70-LE - РАМА (ДЛЯ ТЯГОВ. ЛЕБЕДКИ) DOZER И СЦЕПНОЕ УСТРОЙСТВО
FIT
1:1
100%

Артикул

Название

Примечание

Количество

1

144-947-1152

FRAME,L.H.

SN: 45200-UP

1шт.

2

144-947-2900

PLUG,TAPER

SN: 45200-UP

1шт.

3

150-95-15121

COVER

SN: 45200-UP

1шт.

4

150-95-15110

GASKET

SN: 45200-UP

1шт.

5

01010-51035

BOLT

SN: 45200-UP

5шт.

6

01010-51025

BOLT

SN: 45200-UP

5шт.

7

01602-01030

WASHER,SPRING

SN: 45200-UP

10шт.

8

150-95-11242

BOLT,REAMER

SN: 45200-UP

4шт.

9

01580-11613

NUT

SN: 45200-UP

4шт.

10

01602-01648

WASHER,SPRING

SN: 45200-UP

4шт.

11

144-947-1911

FRAME,R.H.

SN: 47951-UP

1шт.

11

144-947-1910

FRAME,R.H.

SN: 45200-47950

1шт.

12

144-947-1371

COVER

SN: 47951-UP

1шт.

12

144-947-1370

COVER

SN: 45200-47950

1шт.

13

144-947-1380

GASKET

SN: 45200-UP

1шт.

14

01010-31020

BOLT

SN: 45200-UP

4шт.

15

01602-01030

WASHER,SPRING

SN: 45200-UP

4шт.

16

07030-03034

BREATHER

SN: 47951-UP

1шт.

16

150-95-15340

CAP

SN: 45200-47950

1шт.

17

07005-03016

GASKET,SET

SN: 47951-UP

1шт.

17

150-14-14780

BOLT,SET

SN: 45200-47950

1шт.

18

150-14-14760

WASHER

SN: 45200-47950

1шт.

19

150-95-12320

ELEMENT

SN: 45200-47950

2шт.

20

01324-00620

SCREW,SET

SN: 45200-47950

1шт.

21

130-27-11232

GASKET

SN: 45200-47950

1шт.

22

144-947-1162

COVER

SN: 45200-UP

1шт.

23

144-947-1181

GASKET

SN: 45200-UP

1шт.

24

150-95-12610

COVER

SN: 45200-UP

1шт.

25

07000-02120

O-RING

SN: 45200-UP

1шт.

26

01010-31025

BOLT

SN: 45200-UP

6шт.

27

01602-01030

WASHER,SPRING

SN: 45200-UP

6шт.

28

07042-00211

PLUG,TAPER

SN: 45200-UP

1шт.

29

04020-01842

PIN

SN: 45200-UP

1шт.

30

01010-51435

BOLT

SN: 45200-UP

23шт.

31

01010-51455

BOLT

SN: 45200-UP

1шт.

32

01602-01442

WASHER,SPRING

SN: 45200-UP

24шт.

33

150-95-15710

ROD,TIE

SN: 45200-UP

1шт.

34

144-947-1780

COLLAR

SN: 45200-UP

1шт.

35

01580-03629

NUT

SN: 45200-UP

2шт.

36

01601-03690

WASHER,SPRING

SN: 45200-UP

2шт.

37

01010-52460

BOLT

SN: 45200-UP

4шт.

38

01602-22472

WASHER,SPRING

SN: 45200-UP

4шт.

39

01010-53375

BOLT

SN: 45200-UP

4шт.

40

01601-23382

WASHER,SPRING

SN: 45200-UP

4шт.

41

09601-00835

PLATE, NAME,NAME

SN: 45200-UP

1шт.

42

04418-03060

SCREW

SN: 45200-UP

4шт.

43

01010-51220

BOLT

SN: 45200-UP

3шт.

44

01602-21236

WASHER,SPRING

SN: 45200-UP

3шт.

45

07042-21019

PLUG

SN: 45200-UP

1шт.

46

150-95-15211

GASKET,(FOR SERVICE OR SHIPPING)

SN: 45200-UP

1шт.

47

150-95-15222

COVER,(FOR SERVICE OR SHIPPING)

SN: 45200-UP

1шт.

48

01010-51025

BOLT,(FOR SERVICE OR SHIPPING)

SN: 45200-UP

8шт.

49

01602-21030

WASHER,(FOR SERVICE OR SHIPPING)

SN: 45200-UP

8шт.

Выбрано товаров: 0