Запчасти Komatsu D70-LE ОСНОВН. МУФТА ТРУБЫ СИСТЕМА УПРАВЛЕНИЯ

Схема запчастей Komatsu D70-LE - ОСНОВН. МУФТА ТРУБЫ СИСТЕМА УПРАВЛЕНИЯ
FIT
1:1
100%

Артикул

Название

Примечание

Количество

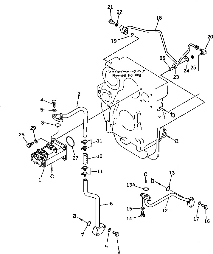
1

07400-40500

PUMP ASS'Y,(SEE FIG.2151)

SN: 45200-UP

1шт.

2

144-49-53111

TUBE

SN: 45200-UP

1шт.

3

07000-03025

O-RING

SN: 45200-UP

1шт.

4

01010-51065

BOLT

SN: 45200-UP

2шт.

5

01602-21030

WASHER,SPRING

SN: 45200-UP

2шт.

6

144-49-14122

TUBE

SN: 45200-UP

1шт.

7

07000-03035

O-RING

SN: 45200-UP

1шт.

8

01010-51070

BOLT

SN: 45200-UP

2шт.

9

01602-21030

WASHER,SPRING

SN: 45200-UP

2шт.

10

07260-23218

HOSE

SN: 45200-UP

1шт.

11

07280-04726

CLAMP

SN: 45200-UP

4шт.

12

144-49-53131

TUBE

SN: 45200-UP

1шт.

13

07000-03025

O-RING

SN: 45200-UP

1шт.

13A

07000-03022

O-RING

SN: 45200-UP

1шт.

14

01010-51030

BOLT

SN: 45200-UP

2шт.

15

01602-21030

WASHER,SPRING

SN: 45200-UP

2шт.

16

01010-51055

BOLT

SN: 45200-UP

2шт.

17

01602-21030

WASHER,SPRING

SN: 45200-UP

2шт.

18

144-10-17223

TUBE

SN: 45200-UP

1шт.

19

07000-03025

O-RING

SN: 45200-UP

1шт.

20

144-49-14160

ELBOW

SN: 45200-UP

1шт.

21

01010-51030

BOLT

SN: 45200-UP

2шт.

22

01602-21030

WASHER,SPRING

SN: 45200-UP

2шт.

23

144-10-17230

PLATE

SN: 45200-UP

1шт.

24

144-10-17240

CLIP

SN: 45200-UP

1шт.

25

01643-31032

WASHER

SN: 45200-UP

1шт.

26

144-10-17250

SEAT

SN: 45200-UP

1шт.

27

07000-02075

O-RING

SN: 45200-UP

1шт.

28

01010-51040

BOLT

SN: 45200-UP

4шт.

29

01602-21030

WASHER,SPRING

SN: 45200-UP

4шт.

Выбрано товаров: 30