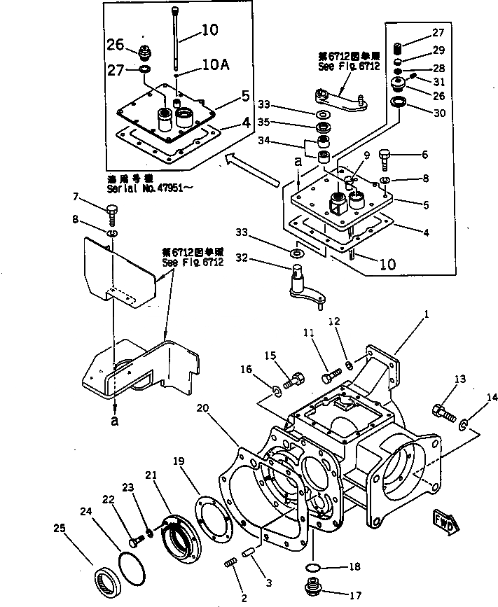
Запчасти Komatsu D70-LE КОРПУС ШЕСТЕРЕНН. ПЕРЕДАЧИ (ДЛЯ ТЯГОВ. ЛЕБЕДКИ) DOZER И СЦЕПНОЕ УСТРОЙСТВО

Схема запчастей Komatsu D70-LE - КОРПУС ШЕСТЕРЕНН. ПЕРЕДАЧИ (ДЛЯ ТЯГОВ. ЛЕБЕДКИ) DOZER И СЦЕПНОЕ УСТРОЙСТВО
FIT
1:1
100%

Артикул

Название

Примечание

Количество

1

144-947-1133

HOUSING,GEAR

SN: 45200-UP

1шт.

2

01324-00820

SCREW,SET

SN: 45200-UP

1шт.

3

04020-00616

PIN,DOWEL

SN: 45200-UP

2шт.

4

144-947-1490

GASKET

SN: 45200-UP

1шт.

5

144-947-1483

COVER

SN: 47951-UP

1шт.

5

144-947-1482

COVER

SN: 45200-47950

1шт.

6

01010-31020

BOLT

SN: 45200-UP

8шт.

7

01010-51025

BOLT

SN: 45200-UP

4шт.

8

01602-01030

WASHER,SPRING

SN: 45200-UP

12шт.

9

150-14-13180

CAP,OIL LEVEL

SN: 45200-UP

1шт.

10

144-947-1750

GAUGE,OIL LEVEL

SN: 47951-UP

1шт.

10

150-95-15431

GAUGE,OIL LEVEL

SN: 45200-47950

1шт.

10A

07002-11423

O-RING

SN: 47951-UP

1шт.

11

01010-31640

BOLT

SN: 45200-UP

6шт.

12

01602-01648

WASHER,SPRING

SN: 45200-UP

6шт.

13

01010-52455

BOLT

SN: 45200-UP

4шт.

14

01602-22472

WASHER,SPRING

SN: 45200-UP

4шт.

15

01010-31640

BOLT

SN: 45200-UP

9шт.

16

01602-01648

WASHER,SPRING

SN: 45200-UP

9шт.

17

07044-13620

PLUG,MAGNET

SN: 45200-UP

1шт.

18

07000-03032

O-RING

SN: 45200-UP

1шт.

19

150-95-11610

GASKET

SN: 45200-UP

1шт.

20

150-95-12111

GASKET

SN: 45200-UP

1шт.

21

150-95-11621

RETAINER

SN: 45200-UP

1шт.

22

01010-31025

BOLT

SN: 45200-UP

6шт.

23

01602-01030

WASHER,SPRING

SN: 45200-UP

6шт.

24

150-95-11630

O-RING

SN: 45200-UP

1шт.

25

07012-00080

SEAL,OIL

SN: 45200-UP

1шт.

26

07030-03034

BREATHER

SN: 47951-UP

1шт.

26

150-95-15340

CAP

SN: 45200-47950

1шт.

27

07005-03016

GASKET

SN: 47951-UP

1шт.

27

150-14-14780

BOLT,SET

SN: 45200-47950

1шт.

28

150-14-14760

WASHER

SN: 45200-47950

1шт.

29

150-95-15320

ELEMENT

SN: 45200-47950

1шт.

30

130-27-11232

GASKET

SN: 45200-47950

1шт.

31

01324-00620

SCREW,SET

SN: 45200-47950

1шт.

32

144-947-1550

LEVER

SN: 45200-UP

1шт.

33

01640-02845

WASHER

SN: 45200-UP

2шт.

34

06120-02820

BEARING,NEEDLE

SN: 45200-UP

2шт.

35

07012-00028

SEAL

SN: 45200-UP

1шт.

Выбрано товаров: 40