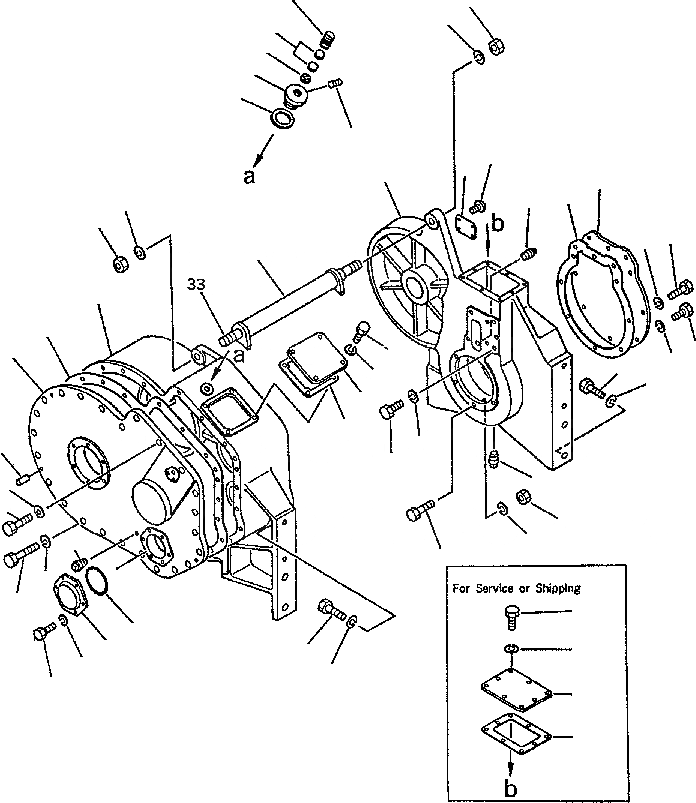
Запчасти Komatsu D70-LE РАМА (ДЛЯ ТЯГОВ. ЛЕБЕДКИ) DOZER И СЦЕПНОЕ УСТРОЙСТВО

Схема запчастей Komatsu D70-LE - РАМА (ДЛЯ ТЯГОВ. ЛЕБЕДКИ) DOZER И СЦЕПНОЕ УСТРОЙСТВО
43
44
13
12
15
14
8
1
34
20
21
16
42
41
36
35
17
19
18
38
37
46
47
49
48
10
9
2
40
39
7
6
45
4
3
7
5
36
35
11
23
22
29
32
31
28
32
30
25
24
27
26
FIT
1:1
100%

Артикул

Название

Примечание

Количество

1

144-947-1152

FRAME

Field_1: J10001-

1шт.

2

144-947-2900

PLUG

Field_1: J10001-

1шт.

3

150-95-15121

COVER

Field_1: J10001-

1шт.

4

150-95-15110

GASKET

Field_1: J10001-

1шт.

5

01010-81035

BOLT

Field_1: J10001-

5шт.

6

01010-81025

BOLT

Field_1: J10001-

5шт.

7

01602-01030

WASHER

Field_1: J10001-

10шт.

8

150-95-11242

BOLT

Field_1: J10001-

4шт.

9

01580-11613

NUT

Field_1: J10001-

4шт.

10

01602-01648

WASHER

Field_1: J10001-

4шт.

11

144-947-1910

FRAME

Field_1: J10001-

1шт.

12

144-947-1370

COVER

Field_1: J10001-

1шт.

13

144-947-1380

GASKET

Field_1: J10001-

1шт.

14

01010-81020

BOLT

Field_1: J10001-

4шт.

15

01602-01030

WASHER

Field_1: J10001-

4шт.

16

150-95-15340

COVER

Field_1: J10001-

1шт.

17

150-14-14780

BOLT

Field_1: J10001-

1шт.

18

150-14-14760

WASHER

Field_1: J10001-

1шт.

19

150-95-12320

ELEMENT

Field_1: J10001-

2шт.

20

01324-00620

SCREW

Field_1: J10001-

1шт.

21

130-27-11232

GASKET

Field_1: J10001-

1шт.

22

144-947-1162

COVER

Field_1: J10001-

1шт.

23

144-947-1181

GASKET

Field_1: J10001-

1шт.

24

150-95-12610

COVER

Field_1: J10001-

1шт.

25

07000-02120

O-RING

Field_1: J10001-

1шт.

26

01010-81025

BOLT

Field_1: J10001-

6шт.

27

01602-01030

WASHER

Field_1: J10001-

6шт.

28

07042-00211

PLUG

Field_1: J10001-

1шт.

29

04020-01842

DOWEL PIN

Field_1: J10001-

1шт.

30

01010-81435

BOLT

Field_1: J10001-

23шт.

31

01010-81455

BOLT

Field_1: J10001-

1шт.

32

01602-01442

WASHER

Field_1: J10001-

24шт.

33

150-95-15710

TIE ROD

Field_1: J10001-

1шт.

34

144-947-1780

COLLAR

Field_1: J10001-

1шт.

35

01580-03629

NUT

Field_1: J10001-

2шт.

36

01601-03690

WASHER

Field_1: J10001-

2шт.

37

01010-82460

BOLT

Field_1: J10001-

4шт.

38

01602-22472

WASHER

Field_1: J10001-

4шт.

39

01010-83375

BOLT

Field_1: J10001-

4шт.

40

01601-23382

WASHER

Field_1: J10001-

4шт.

41

09601-00835

NAME PLATE

Field_1: J10001-

1шт.

42

04418-03060

SCREW

Field_1: J10001-

4шт.

43

01010-81220

BOLT

Field_1: J10001-

3шт.

44

01602-21236

WASHER

Field_1: J10001-

3шт.

45

07042-21019

PLUG

Field_1: J10001-

1шт.

46

150-95-15211

GASKET

Field_1: J10001-

1шт.

47

150-95-15222

COVER

Field_1: J10001-

1шт.

48

01010-81025

BOLT

Field_1: J10001-

8шт.

49

01602-21030

WASHER

Field_1: J10001-

8шт.

Выбрано товаров: 49