Запчасти Komatsu D700D Super ЗАЩИТА РАДИАТОРА, EXECUTION I ШАССИ И SUPERSTRUCTURE

Схема запчастей Komatsu D700D Super - ЗАЩИТА РАДИАТОРА, EXECUTION I ШАССИ И SUPERSTRUCTURE
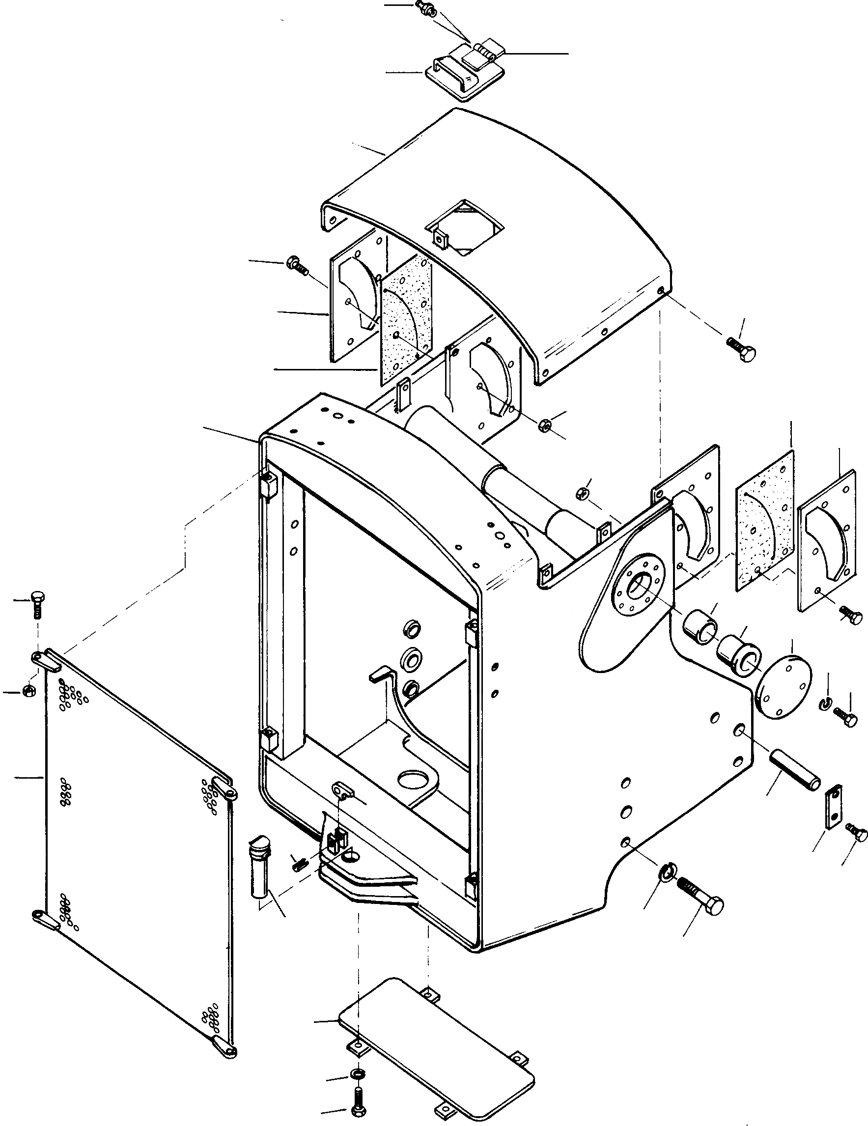
5
14
4
3
2
24
26
23
22
25
22
1
23
25
9
7
10
27
24
29
28
8
6
21
15
16
20
19
18
17
11
13
12
FIT
1:1
100%

Артикул

Название

Примечание

Количество

1

4000525M91

RADIATOR GUARD

DeutschDesc: KUEHLERSCHUTZ

1шт.

2

4000565M91

CLADDING

DeutschDesc: VERKLEIDUNG

1шт.

3

4000570M91

FLAP

DeutschDesc: KLAPPE

1шт.

4

4000568M91

HINGE

DeutschDesc: SCHARNIER

1шт.

5

1441858X1

LUBRICATION NIPPLE

DeutschDesc: SCHMIERNIPPEL

1шт.

6

4020394M91

PERFORATED PLATE

EnglischBem: REPAIRS AND REPLACES 4000 545 M91

1шт.

7

390880X1

SCREW

DeutschDesc: SCHRAUBE

4шт.

8

3002115X1

NUT

DeutschDesc: MUTTER

4шт.

9

2899897M1

BUSHING

DeutschDesc: BUCHSE

2шт.

10

2899896M1

BUSHING

DeutschDesc: BUCHSE

2шт.

11

3079672M91

COVER

DeutschDesc: DECKEL

2шт.

12

1444130X1

SCREW

DeutschDesc: SCHRAUBE

4шт.

13

1443672X1

SCREW

DeutschDesc: SCHRAUBE

4шт.

14

2899381M1

PIN

DeutschDesc: BOLZEN

1шт.

15

2905261M1

PAWL

DeutschDesc: SPERRKLINKE

1шт.

16

1444442X1

ADAPTER SLEEVES

DeutschDesc: SPANNHUELSE

1шт.

17

1444098X1

SCREW

DeutschDesc: SCHRAUBE

8шт.

18

4000367M1

SPRING PLATE

DeutschDesc: FEDERSCHEIBE

8шт.

19

1444131X1

SCREW

DeutschDesc: SCHRAUBE

8шт.

20

2987873M1

PLATE

DeutschDesc: PLATTE

4шт.

21

2987872M1

PIN

DeutschDesc: BOLZEN

4шт.

22

4001291M1

COVERING

DeutschDesc: ABDECKUNG

2шт.

23

4001290M1

PLATE

DeutschDesc: PLATTE

2шт.

24

339761X1

SCREW

DeutschDesc: SCHRAUBE

12шт.

25

2995017X1

NUT

DeutschDesc: MUTTER

12шт.

26

1444130X1

SCREW

DeutschDesc: SCHRAUBE

6шт.

27

3070816M1

SHEET

EnglischBem: FOR VEHICLE WITHOUT EQUIPMENT

2шт.

28

1442753X1

SCREW

EnglischBem: FOR VEHICLE WITHOUT EQUIPMENT

4шт.

29

1443796X1

SPRING WASHER

EnglischBem: FOR VEHICLE WITHOUT EQUIPMENT

4шт.

Выбрано товаров: 29