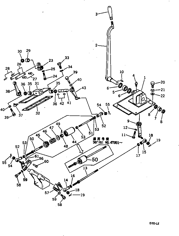
Запчасти Komatsu D70LE-8 ОСНОВН. МУФТА РЫЧАГ УПРАВЛ-Я И МЕХАНИЗМ СИСТЕМА УПРАВЛЕНИЯ

Схема запчастей Komatsu D70LE-8 - ОСНОВН. МУФТА РЫЧАГ УПРАВЛ-Я И МЕХАНИЗМ СИСТЕМА УПРАВЛЕНИЯ
FIT
1:1
100%

Артикул

Название

Примечание

Количество

1

144-43-18441

FLOOR

SN: 45200-UP

1шт.

2

120-43-33561

LEVER

SN: 45200-UP

1шт.

3

09305-11400

KNOB

SN: 45200-UP

1шт.

4

07020-00000

FITTING,GREASE

SN: 45200-UP

2шт.

5

06120-03520

BEARING

SN: 45200-UP

1шт.

6

06122-03504

SEAL,BEARING

SN: 45200-UP

2шт.

7

06120-02520

BEARING

SN: 45200-UP

1шт.

8

06122-02504

SEAL,BEARING

SN: 45200-UP

2шт.

9

144-43-18411

LEVER

SN: 45200-UP

1шт.

10

04010-00732

KEY

SN: 45200-UP

1шт.

11

01010-51245

BOLT

SN: 45200-UP

1шт.

12

01602-21236

WASHER,SPRING

SN: 45200-UP

1шт.

13

04248-31233

ROD

SN: 45200-UP

1шт.

14

04250-41265

END

SN: 45200-UP

1шт.

15

04250-61265

END

SN: 45200-UP

1шт.

16

01582-11210

NUT

SN: 45200-UP

1шт.

17

01508-41207

NUT,L.H. THREAD

SN: 45200-UP

1шт.

18

01593-11210

NUT

SN: 45200-UP

2шт.

19

04050-13020

PIN,COTTER

SN: 45200-UP

2шт.

20

01010-51225

BOLT

SN: 45200-UP

3шт.

21

01602-21236

WASHER,SPRING

SN: 45200-UP

3шт.

22

01643-31232

WASHER

SN: 45200-UP

3шт.

23

141-43-33512

LEVER

SN: 45200-UP

1шт.

24

01010-80825

BOLT

SN: 45200-UP

1шт.

25

01602-20825

WASHER,SPRING

SN: 45200-UP

1шт.

26

141-43-33640

PLATE

SN: 45200-UP

2шт.

27

04205-11028

PIN

SN: 45200-UP

2шт.

28

04050-13015

PIN,COTTER

SN: 48555-UP

2шт.

28

04050-03015

PIN,COTTER

SN: 45200-48554

2шт.

29

141-43-33150

SPACER

SN: 45200-UP

1шт.

30

01640-22232

WASHER

SN: 45200-UP

1шт.

31

144-43-18470

BRACKET

SN: 45200-UP

1шт.

32

141-14-32462

GASKET

SN: 48555-UP

1шт.

32

0

GASKET

SN: 45200-48554

1шт.

33

01010-81025

BOLT

SN: 45200-UP

8шт.

34

01602-21030

WASHER,SPRING

SN: 45200-UP

8шт.

35

06120-02016

BEARING

SN: 45200-UP

2шт.

36

06122-02004

SEAL,BEARING

SN: 45200-UP

2шт.

37

07020-00900

FITTING,GREASE

SN: 45200-UP

1шт.

38

141-43-33542

LEVER

SN: 45200-UP

1шт.

39

01010-80825

BOLT

SN: 45200-UP

2шт.

40

01602-20825

WASHER,SPRING

SN: 45200-UP

2шт.

41

144-43-18480

SHAFT

SN: 45200-UP

1шт.

42

04010-00519

KEY

SN: 45200-UP

2шт.

43

141-43-33553

LEVER

SN: 45200-UP

1шт.

44

144-43-18460

HOLDER

SN: 45200-47950

1шт.

45

145-43-34320

PLUG

SN: 45200-47950

1шт.

46

141-43-15270

SPRING

SN: 45200-47950

1шт.

47

141-43-33160

PLATE

SN: 45200-47950

1шт.

48

01590-11215

NUT

SN: 45200-47950

1шт.

49

04050-13020

PIN,COTTER

SN: 45200-47950

1шт.

50

144-43-51410

ROD ASS'Y,LOOSE SPRING

SN: 47951-UP

1шт.

50

144-43-18450

ROD

SN: 45200-47950

1шт.

51

04245-41024

ROD

SN: 45200-47950

1шт.

52

04250-41056

END

SN: 45200-UP

2шт.

53

01582-11008

NUT

SN: 47951-UP

2шт.

53

01582-11008

NUT

SN: 45200-47950

3шт.

54

01593-11008

NUT

SN: 45200-UP

2шт.

55

04050-12018

PIN,COTTER

SN: 45200-UP

2шт.

56

144-43-18430

LEVER

SN: 45200-UP

1шт.

57

144-43-18420

LEVER

SN: 45200-UP

1шт.

58

01010-50830

BOLT

SN: 45200-UP

2шт.

59

01602-20825

WASHER,SPRING

SN: 45200-UP

2шт.

60

141-43-33660

PIN

SN: 45200-UP

1шт.

61

04050-13015

PIN,COTTER

SN: 45200-UP

1шт.

Выбрано товаров: 65