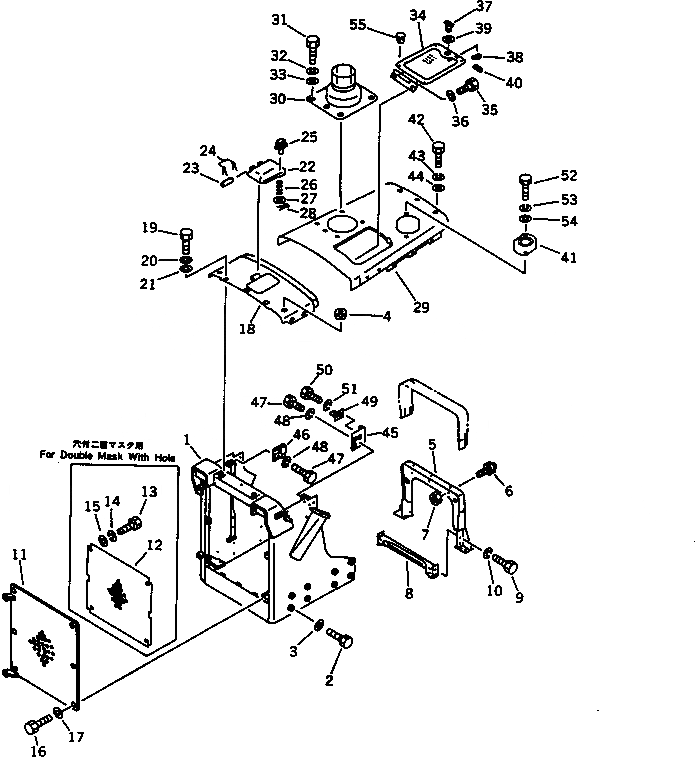
Запчасти Komatsu D70LE-8 КАПОТ И ЗАЩИТА РАДИАТОРА(№8-) ЧАСТИ КОРПУСА

Схема запчастей Komatsu D70LE-8 - КАПОТ И ЗАЩИТА РАДИАТОРА(№8-) ЧАСТИ КОРПУСА
FIT
1:1
100%

Артикул

Название

Примечание

Количество

1

144-54-55813

GUARD,RADIATOR

SN: 46438-UP

1шт.

2

01019-32015

BOLT

SN: 45200-UP

16шт.

3

01643-32060

WASHER

SN: 45200-UP

16шт.

4

08037-01610

GROMMET

SN: 45200-UP

2шт.

5

144-54-24212

FRAME

SN: 47951-UP

1шт.

5

144-54-24211

FRAME

SN: 45200-47950

1шт.

6

120-43-39361

DAMPER

SN: 45200-UP

2шт.

7

01580-11008

NUT

SN: 45200-UP

2шт.

8

144-54-51221

BAR

SN: 47951-UP

1шт.

8

144-54-51220

FRAME

SN: 45200-47950

1шт.

9

01010-51840

BOLT

SN: 47951-UP

2шт.

9

01010-51440

BOLT

SN: 45200-47950

4шт.

10

01643-31845

WASHER

SN: 47951-UP

2шт.

10

01602-21442

WASHER,SPRING

SN: 45200-47950

4шт.

11

144-54-51960

MASK,FRONT

SN: 46438-UP

1шт.

12

144-54-11933

MASK,REAR

SN: 45200-UP

1шт.

13

01010-51225

BOLT

SN: 45200-UP

4шт.

14

01602-21236

WASHER,SPRING

SN: 45200-UP

4шт.

15

01643-31232

WASHER

SN: 45200-UP

4шт.

16

01010-51635

BOLT

SN: 45200-UP

6шт.

17

01643-31645

WASHER

SN: 45200-UP

6шт.

18

144-54-51121

COVER

SN: 45200-UP

1шт.

19

01010-51225

BOLT

SN: 45200-UP

7шт.

20

01602-21236

WASHER,SPRING

SN: 45200-UP

7шт.

21

01643-31232

WASHER

SN: 45200-UP

7шт.

22

144-54-51140

COVER

SN: 45200-UP

1шт.

23

131-54-11270

PIN

SN: 45200-UP

1шт.

24

04050-11610

PIN,COTTER

SN: 45200-UP

2шт.

25

09459-11033

LOCK

SN: 45200-UP

1шт.

26

09459-01614

SPRING

SN: 45200-UP

1шт.

27

01642-21016

WASHER

SN: 45200-UP

1шт.

28

04050-13015

PIN,COTTER

SN: 45200-UP

1шт.

29

144-54-51111

HOOD

SN: 47951-UP

1шт.

29

144-54-51110

HOOD

SN: 45438-47950

1шт.

30

144-54-51131

COVER

SN: 47951-UP

1шт.

30

144-54-51130

COVER

SN: 45438-47950

1шт.

31

01010-51235

BOLT

SN: 47951-UP

4шт.

31

01010-51235

BOLT

SN: 45200-47950

5шт.

32

01602-21236

WASHER,SPRING

SN: 47951-UP

4шт.

32

01602-21236

WASHER,SPRING

SN: 45200-47950

5шт.

33

01643-31232

WASHER

SN: 47951-UP

4шт.

33

01643-31232

WASHER

SN: 45200-47950

5шт.

34

144-851-1750

COVER

SN: 46438-47950

1шт.

35

01010-51020

BOLT

SN: 45200-47950

2шт.

36

01602-21030

WASHER,SPRING

SN: 45200-47950

2шт.

37

135-54-31290

HANDLE

SN: 45200-UP

1шт.

38

135-54-31310

STOPPER

SN: 45200-UP

1шт.

39

01643-31032

WASHER

SN: 45200-UP

1шт.

40

04025-00316

PIN,SPRING

SN: 45200-UP

1шт.

41

144-54-51150

COVER

SN: 46438-47950

1шт.

42

01010-51235

BOLT

SN: 45200-UP

5шт.

43

01602-21236

WASHER,SPRING

SN: 45200-UP

5шт.

44

01643-31232

WASHER

SN: 45200-UP

5шт.

45

144-54-51180

CATCHER,R.H.

SN: 45200-UP

1шт.

46

144-54-51160

CATCHER,L.H.

SN: 45200-UP

1шт.

47

01010-51225

BOLT

SN: 45200-UP

6шт.

48

01602-21236

WASHER,SPRING

SN: 45200-UP

6шт.

49

144-54-51210

BRACKET

SN: 45200-UP

1шт.

50

01010-50820

BOLT

SN: 45200-UP

2шт.

51

01602-20825

WASHER,SPRING

SN: 45200-UP

2шт.

52

01010-51230

BOLT

SN: 46438-47950

2шт.

53

01602-21236

WASHER,SPRING

SN: 46438-47950

2шт.

54

01643-31232

WASHER

SN: 46438-47950

2шт.

55

07049-01215

PLUG

SN: 46438-47950

4шт.

Выбрано товаров: 64