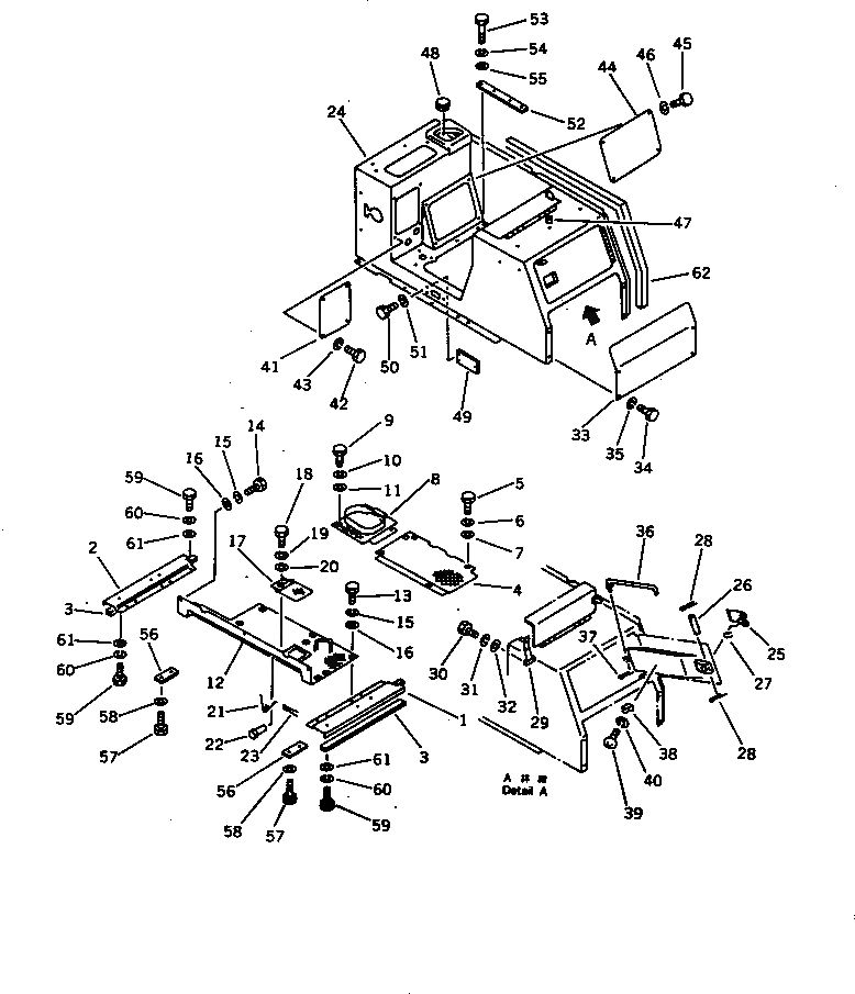
Запчасти Komatsu D70LE-8 КОРПУС И ПОЛ ЧАСТИ КОРПУСА

Схема запчастей Komatsu D70LE-8 - КОРПУС И ПОЛ ЧАСТИ КОРПУСА
FIT
1:1
100%

Артикул

Название

Примечание

Количество

1

130-54-72280

FLOOR,L.H.

SN: 45200-UP

1шт.

2

130-54-72270

FLOOR,R.H.

SN: 45200-UP

1шт.

3

144-A62-6860

SEAL

SN: 45200-UP

2шт.

4

144-54-26222

FLOOR

SN: 45200-UP

1шт.

5

01010-51225

BOLT

SN: 45200-UP

5шт.

6

01602-21236

WASHER,SPRING

SN: 45200-UP

5шт.

7

01643-31232

WASHER

SN: 45200-UP

5шт.

8

144-54-26350

FLOOR

SN: 45200-UP

1шт.

9

01010-51225

BOLT

SN: 45200-UP

2шт.

10

01602-21236

WASHER,SPRING

SN: 45200-UP

2шт.

11

01643-31232

WASHER

SN: 45200-UP

2шт.

12

144-54-26310

FLOOR

SN: 45200-UP

1шт.

13

01010-51225

BOLT

SN: 45200-UP

7шт.

14

01010-51230

BOLT

SN: 45200-UP

3шт.

15

01602-21236

WASHER,SPRING

SN: 45200-UP

10шт.

16

01643-31232

WASHER

SN: 45200-UP

10шт.

17

144-54-26320

COVER

SN: 45200-UP

1шт.

18

01010-51025

BOLT

SN: 45200-UP

2шт.

19

01602-21030

WASHER,SPRING

SN: 45200-UP

2шт.

20

01643-31032

WASHER

SN: 45200-UP

2шт.

21

141-54-12290

SPRING

SN: 45200-UP

1шт.

22

04205-10616

PIN

SN: 45200-UP

2шт.

23

04050-11610

PIN,COTTER

SN: 45200-UP

2шт.

24

130-54-72411

BOX

SN: 45200-UP

1шт.

24

120-54-32121

BOX

SN: 45200-UP

1шт.

25

09461-00021

LEVER

SN: 45200-UP

1шт.

26

09461-00022

PIN

SN: 45200-UP

1шт.

27

09461-00023

SPRING

SN: 45200-UP

1шт.

28

04050-13018

PIN,COTTER

SN: 45200-UP

2шт.

29

124-54-21710

SPRING

SN: 45200-UP

1шт.

30

01010-50816

BOLT

SN: 45200-UP

2шт.

31

01602-20825

WASHER,SPRING

SN: 45200-UP

2шт.

32

01640-20816

WASHER

SN: 45200-UP

2шт.

33

120-54-32141

COVER

SN: 45200-UP

1шт.

34

01010-51225

BOLT

SN: 45200-UP

4шт.

35

01602-21236

WASHER,SPRING

SN: 45200-UP

4шт.

36

120-54-32431

ROD

SN: 45200-UP

1шт.

37

04050-13022

PIN,COTTER

SN: 45200-UP

1шт.

38

20R-54-11460

SPRING

SN: 45200-UP

1шт.

39

01220-40512

SCREW

SN: 45200-UP

1шт.

40

01601-00513

WASHER,SPRING

SN: 45200-UP

1шт.

41

120-54-32151

COVER

SN: 45200-UP

1шт.

42

01010-51225

BOLT

SN: 45200-UP

4шт.

43

01602-21236

WASHER,SPRING

SN: 45200-UP

4шт.

44

120-54-32161

COVER

SN: 45200-UP

1шт.

45

01010-51225

BOLT

SN: 45200-UP

4шт.

46

01602-21236

WASHER,SPRING

SN: 45200-UP

4шт.

47

07049-01215

PLUG

SN: 45200-UP

5шт.

48

09415-03614

CAP

SN: 45200-UP

1шт.

49

120-54-32341

PLATE

SN: 45200-UP

1шт.

50

01010-51230

BOLT

SN: 45200-UP

3шт.

51

01602-21236

WASHER,SPRING

SN: 45200-UP

3шт.

52

120-54-32331

SPACER

SN: 45200-UP

1шт.

53

01010-51270

BOLT

SN: 45200-UP

4шт.

54

01602-21236

WASHER,SPRING

SN: 45200-UP

4шт.

55

01643-31232

WASHER

SN: 45200-UP

4шт.

56

120-54-35240

PLATE

SN: 45200-UP

2шт.

57

01010-51645

BOLT

SN: 45200-UP

4шт.

58

01643-31645

WASHER

SN: 45200-UP

4шт.

59

01010-51230

BOLT

SN: 47951-UP

8шт.

59

01010-51235

BOLT

SN: 45200-47950

8шт.

60

01602-21236

WASHER,SPRING

SN: 45200-UP

8шт.

61

01643-31232

WASHER

SN: 45200-UP

8шт.

62

144-A62-6820

SEAL

SN: 45200-UP

1шт.

Выбрано товаров: 64