Запчасти Komatsu D75A-1 ГИДР. БАК. (/) (ПРЯМ. ОТВАЛ С ПЕРЕКОСОМ И РЫХЛИТЕЛЬ) УПРАВЛ-Е РАБОЧИМ ОБОРУДОВАНИЕМ

Схема запчастей Komatsu D75A-1 - ГИДР. БАК. (/) (ПРЯМ. ОТВАЛ С ПЕРЕКОСОМ И РЫХЛИТЕЛЬ) УПРАВЛ-Е РАБОЧИМ ОБОРУДОВАНИЕМ
FIT
1:1
100%

Артикул

Название

Примечание

Количество

|$0

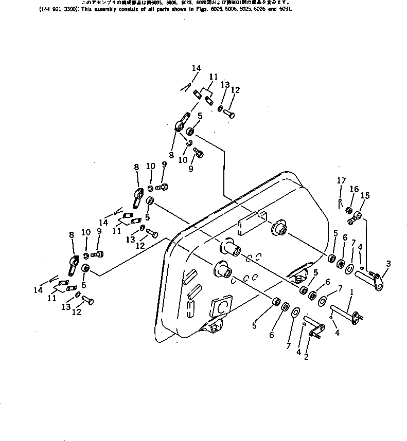
144-921-3300

HYDRAULIC TANK ASS'Y

SN: 50001-UP

1шт.

1

144-60-21140

LEVER

SN: 50001-UP

1шт.

2

144-Z20-6121

LEVER

SN: 50001-UP

1шт.

3

144-78-14310

LEVER

SN: 50001-UP

1шт.

4

04010-00519

KEY

SN: 50001-UP

3шт.

5

06120-02016

BEARING,NEEDLE

SN: 50001-UP

6шт.

6

130-09-11450

SEAL,OIL

SN: 50001-UP

3шт.

7

130-60-43150

PLATE

SN: 50001-UP

3шт.

8

141-60-33270

LEVER

SN: 50001-UP

3шт.

9

01010-30830

BOLT

SN: 50001-UP

3шт.

10

01602-00825

WASHER,SPRING

SN: 50001-UP

3шт.

11

141-60-32170

YOKE

SN: 50001-UP

6шт.

12

04205-01028

PIN

SN: 50001-UP

6шт.

13

01641-01016

WASHER

SN: 50001-UP

6шт.

14

04050-03015

PIN,COTTER

SN: 50001-UP

6шт.

15

04250-41056

END,ROD

SN: 50001-UP

1шт.

16

01593-11008

NUT

SN: 50001-UP

1шт.

17

04050-12018

PIN,COTTER

SN: 50001-UP

1шт.

Выбрано товаров: 18