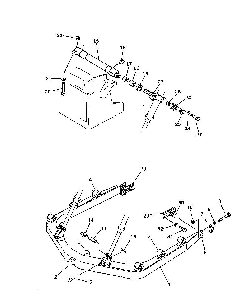
Запчасти Komatsu D75A-1 С-ОБРАЗН. РАМА РАБОЧЕЕ ОБОРУДОВАНИЕ

Схема запчастей Komatsu D75A-1 - С-ОБРАЗН. РАМА РАБОЧЕЕ ОБОРУДОВАНИЕ
FIT
1:1
100%

Артикул

Название

Примечание

Количество

|$0

144-70-00210

FRAME ASS'Y

SN: 50001-UP

1шт.

1

0

FRAME

SN: 50001-UP

1шт.

2

144-854-2870

SHAFT (WELDED)

SN: 50001-UP

1шт.

3

140-70-13130

COLLAR (WELDED)

SN: 50001-UP

1шт.

4

144-70-13210

BRACKET,L.H. (WELDED)

SN: 50001-UP

3шт.

4

144-70-13220

BRACKET,R.H. (WELDED)

SN: 50001-UP

3шт.

6

0

PIVOT,(WELDED) (KIT)

SN: 50001-UP

2шт.

7

140-70-13151

CAP (KIT)

SN: 50001-UP

2шт.

8

01011-82430

BOLT (KIT)

SN: 50001-UP

4шт.

9

01643-32460

WASHER (KIT)

SN: 50001-UP

4шт.

10

130-70-13241

NUT (KIT)

SN: 50001-UP

4шт.

11

144-817-4110

SHAFT

SN: 50001-UP

2шт.

12

140-70-14230

PIN

SN: 50001-UP

2шт.

13

04050-03015

PIN,COTTER

SN: 50001-UP

2шт.

14

07020-00000

FITTING,GREASE

SN: 50001-UP

2шт.

|$15

144-70-00111

CYLINDER STAY ASS'Y

SN: 50001-UP

1шт.

15

0

STAY

SN: 50001-UP

1шт.

16

144-70-15181

BUSHING

SN: 50001-UP

2шт.

17

144-70-15171

BUSHING

SN: 50001-UP

2шт.

18

07020-00675

FITTING,GREASE

SN: 50001-UP

2шт.

19

130-09-12370

SEAL,OIL

SN: 50001-UP

2шт.

20

01051-61830

BOLT

SN: 50001-UP

8шт.

21

01643-31845

WASHER

SN: 50001-UP

8шт.

22

01582-01815

NUT

SN: 50001-UP

8шт.

|$24

144-70-00051

YOKE ASS'Y

SN: 50001-UP

2шт.

23

0

YOKE

SN: 50001-UP

1шт.

24

144-70-15260

CAP

SN: 50001-UP

2шт.

25

07020-00000

FITTING,GREASE

SN: 50001-UP

2шт.

26

144-70-15251

PIN,SPRING

SN: 50001-UP

2шт.

27

01010-51470

BOLT

SN: 50001-UP

4шт.

28

01602-21442

WASHER,SPRING

SN: 50001-UP

4шт.

29

144-70-61151

TRUNNION

SN: 50001-UP

2шт.

30

144-70-61161

SHAFT

SN: 50001-UP

1шт.

31

01010-52045

BOLT

SN: 50001-UP

16шт.

32

01643-32060

WASHER

SN: 50001-UP

16шт.

|$$36

SERVICE KIT

-1шт.

6

140-70-00032

PIVOT ASS'Y

SN: 50001-UP

2шт.

6

0

PIVOT

SN: 50001-UP

1шт.

7

140-70-13151

CAP

SN: 50001-UP

1шт.

8

01011-82430

BOLT

SN: 50001-UP

2шт.

9

01643-32460

WASHER

SN: 50001-UP

2шт.

10

130-70-13241

NUT

SN: 50001-UP

2шт.

Выбрано товаров: 42