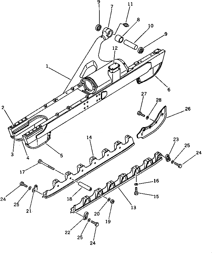
Запчасти Komatsu D75A-1 ГУСЕНИЧНАЯ РАМА (С GUMПОДУШКА) ГУСЕНИЦЫ

Схема запчастей Komatsu D75A-1 - ГУСЕНИЧНАЯ РАМА (С GUMПОДУШКА) ГУСЕНИЦЫ
FIT
1:1
100%

Артикул

Название

Примечание

Количество

|$0

144-30-00240

TRACK FRAME ASS'Y,L.H.

SN: 50001-UP

1шт.

|$1

144-30-00250

TRACK FRAME ASS'Y,R.H.

SN: 50001-UP

1шт.

1

144-30-61710

TRACK FRAME ASS'Y,L.H.

SN: 50001-UP

1шт.

1

144-30-61720

TRACK FRAME ASS'Y,R.H.

SN: 50001-UP

1шт.

2

144-30-51150

PLATE (WELDED)

SN: 50001-UP

2шт.

3

141-30-31262

PLATE (WELDED)

SN: 50001-UP

2шт.

4

144-871-5361

GUARD,L.H. (WELDED)

SN: 50001-UP

1шт.

4

144-871-5351

GUARD,R.H. (WELDED)

SN: 50001-UP

1шт.

5

144-871-5351

GUARD,L.H (WELDED)

SN: 50001-UP

1шт.

5

144-871-5361

GUARD,R.H. (WELDED)

SN: 50001-UP

1шт.

6

144-871-5351

GUARD,REAR, L.H. (WELDED)

SN: 50001-UP

1шт.

6

144-871-5361

GUARD,REAR, R.H. (WELDED)

SN: 50001-UP

1шт.

7

145-30-31241

HEAD (WELDED)

SN: 50001-UP

1шт.

8

145-30-31250

BUSHING

SN: 50001-UP

1шт.

9

145-30-31320

SEAL,DUST

SN: 50001-UP

2шт.

10

141-30-31350

PIN

SN: 50001-UP

1шт.

11

07020-00000

FITTING,GREASE

SN: 50001-UP

1шт.

12

144-871-5170

SPACER,GUMPAD

SN: 50001-UP

2шт.

13

144-30-61310

GUARD,OUTER, L.H.

SN: 50001-UP

1шт.

13

144-30-61320

GUARD,OUTER, R.H.

SN: 50001-UP

1шт.

14

144-30-61350

GUARD,INNER, L.H.

SN: 50001-UP

1шт.

14

144-30-61360

GUARD,INNER, R.H.

SN: 50001-UP

1шт.

15

01010-51840

BOLT

SN: 50001-UP

28шт.

16

01643-31845

WASHER

SN: 50001-UP

28шт.

17

09205-18310

BOLT

SN: 50001-UP

12шт.

18

141-30-32181

COLLAR

SN: 50001-UP

12шт.

19

01580-11815

NUT

SN: 50001-UP

12шт.

20

01643-31845

WASHER

SN: 50001-UP

12шт.

21

130-30-12170

PLATE,L.H.

SN: 50001-UP

1шт.

21

130-30-12180

PLATE,R.H.

SN: 50001-UP

1шт.

22

130-30-12180

PLATE,L.H.

SN: 50001-UP

1шт.

22

130-30-12170

PLATE,R.H.

SN: 50001-UP

1шт.

23

130-30-12170

PLATE,L.H.

SN: 50001-UP

1шт.

23

130-30-12180

PLATE,R.H.

SN: 50001-UP

1шт.

24

01010-51430

BOLT

SN: 50001-UP

12шт.

25

01602-21442

WASHER,SPRING

SN: 50001-UP

12шт.

26

144-30-61270

GUARD,L.H.

SN: 50001-UP

1шт.

26

144-30-61280

GUARD,R.H.

SN: 50001-UP

1шт.

27

01010-52060

BOLT

SN: 50001-UP

8шт.

28

01643-32060

WASHER

SN: 50001-UP

8шт.

Выбрано товаров: 40