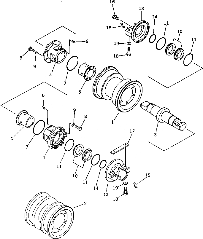
Запчасти Komatsu D75A-1 ОПОРНЫЙ КАТОК(№-8) ГУСЕНИЦЫ

Схема запчастей Komatsu D75A-1 - ОПОРНЫЙ КАТОК(№-8) ГУСЕНИЦЫ
FIT
1:1
100%

Артикул

Название

Примечание

Количество

|$0

14X-30-00080

TRACK ROLLER ASS'Y,SINGLE FLANGE

SN: 50329-@

8шт.

|$1

0

TRACK ROLLER ASS'Y,SINGLE FLANGE

SN: 50001-50328

8шт.

|$2

14X-30-00090

TRACK ROLLER ASS'Y,DOUBLE FLANGE

SN: 50329-@

6шт.

|$3

141-30-00587

TRACK ROLLER ASS'Y,DOUBLE FLANGE

SN: 50001-50328

6шт.

1

141-30-36111

ROLLER,SINGLE FLANGE

SN: 50235-50328

1шт.

1

0

ROLLER,SINGLE FLANGE

SN: 50001-50234

1шт.

2

141-30-36121

ROLLER,DOUBLE FLANGE

SN: 50235-50328

1шт.

2

0

ROLLER,DOUBLE FLANGE

SN: 50001-50234

1шт.

3

141-30-36130

SHAFT

SN: 50001-50328

1шт.

|$9

141-30-00592

BUSHING ASS'Y

SN: 50001-50328

2шт.

4

0

BUSHING

SN: 50001-50328

1шт.

5

141-30-36150

BUSHING

SN: 50001-50328

1шт.

6

141-30-36310

PIN

SN: 50001-50328

2шт.

7

07000-05105

O-RING (K9)

SN: 50001-50328

2шт.

8

01010-51030

BOLT

SN: 50001-50328

12шт.

9

01602-21030

WASHER,SPRING

SN: 50001-50328

12шт.

|$16

141-30-00616

FLOATING SEAL ASS'Y

SN: 50001-50328

2шт.

10

141-30-00623

SEAL RING ASS'Y

SN: 50001-50328

1шт.

10

0

RING

SN: 50001-50328

2шт.

11

141-30-00630

O-RING ASS'Y (K9)

SN: 50001-50328

1шт.

11

0

O-RING (K9)

SN: 50001-50328

2шт.

12

141-30-36334

COLLAR,INNER

SN: 50001-50328

1шт.

13

141-30-36344

COLLAR,OUTER

SN: 50001-50328

1шт.

14

07000-03052

O-RING (K9)

SN: 50001-50328

2шт.

15

141-30-36190

PIN

SN: 50001-50328

2шт.

16

07052-21624

PLUG

SN: 50001-50328

1шт.

17

141-30-36180

KEY

SN: 50001-50328

14шт.

18

01010-51865

BOLT

SN: 50001-@

56шт.

19

01602-21854

WASHER,SPRING

SN: 50001-50328

56шт.

Выбрано товаров: 29