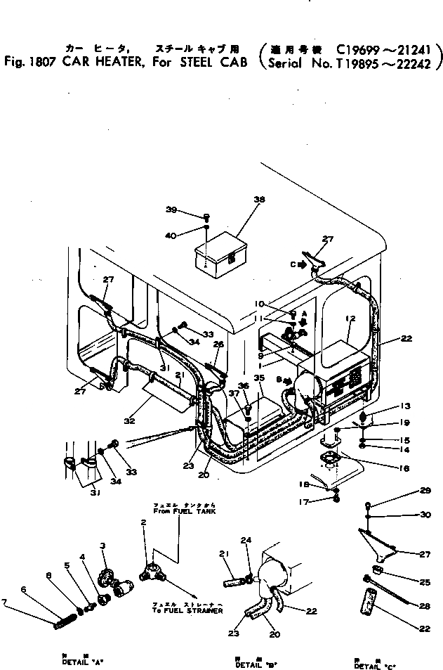
Запчасти Komatsu D80A-12 ОБОГРЕВАТЕЛЬ.¤ ДЛЯ СТАЛЬНАЯ КАБИНА(№999-) ОПЦИОННЫЕ КОМПОНЕНТЫ

Схема запчастей Komatsu D80A-12 - ОБОГРЕВАТЕЛЬ.¤ ДЛЯ СТАЛЬНАЯ КАБИНА(№999-) ОПЦИОННЫЕ КОМПОНЕНТЫ
FIT
1:1
100%

Артикул

Название

Примечание

Количество

1

154-55-16491

SUPPORT

SN: 15596-21241

1шт.

2

154-90-14150

JOINT

SN: 15596-21241

1шт.

3

07700-30504

VALVE

SN: 15596-21241

1шт.

4

175-822-3431

NIPPLE

SN: 15596-21241

1шт.

5

154-90-15760

NIPPLE

SN: 15596-21241

1шт.

6

154-90-15450

TUBE

SN: 15596-21241

1шт.

7

154-90-15460

WIRE

SN: 15596-21241

1шт.

8

140-999-9370

CLAMP

SN: 15596-21241

2шт.

9

08036-21414

CLIP

SN: 15596-21241

2шт.

10

01010-31016

BOLT

SN: 15596-21241

2шт.

11

01602-01030

WASHER

SN: 15596-21241

2шт.

12

154-90-14102

HEATER ASS'Y

SN: 15596-21241

1шт.

13

154-90-14160

CONNECTOR

SN: 15596-21241

4шт.

14

01580-00806

NUT

SN: 15596-21241

8шт.

15

01602-00825

WASHER,SPRING

SN: 15596-21241

8шт.

16

154-90-14141

GASKET

SN: 15596-21241

1шт.

17

01010-30825

BOLT

SN: 15596-21241

4шт.

18

01602-00825

WASHER

SN: 15596-21241

4шт.

19

01580-00806

NUT

SN: 15596-21241

4шт.

20

154-90-15630

TUBE

SN: 15596-21241

1шт.

21

154-90-15640

TUBE

SN: 15596-21241

1шт.

22

154-90-15650

TUBE

SN: 15596-21241

1шт.

23

154-90-15660

TUBE

SN: 15596-21241

1шт.

24

07280-04426

CLAMP

SN: 15596-21241

4шт.

25

150-90-13340

RUBBER

SN: 15596-21241

1шт.

26

150-90-13320

NOZZLE

SN: 15596-21241

1шт.

27

150-90-13330

NOZZLE

SN: 15596-21241

3шт.

28

150-90-13370

CLAMP

SN: 15596-21241

4шт.

29

01220-30516

SCREW

SN: 15596-21241

8шт.

30

01601-00513

WASHER

SN: 15596-21241

8шт.

31

175-822-3550

CLAMP

SN: 15596-21241

10шт.

32

175-908-5141

CLAMP

SN: 19699-21241

2шт.

33

01010-30820

BOLT

SN: 15596-21241

8шт.

34

01602-00825

WASHER

SN: 15596-21241

8шт.

35

154-90-14111

GUARD

SN: 15596-21241

1шт.

36

01010-30820

BOLT

SN: 15596-21241

4шт.

37

01602-00825

WASHER

SN: 15596-21241

4шт.

38

150-98-98690

BOX,TOOL

SN: 19699-21241

1шт.

39

01010-31225

BOLT

SN: 19699-21241

4шт.

40

01602-01236

WASHER

SN: 19689-21241

4шт.

Выбрано товаров: 40