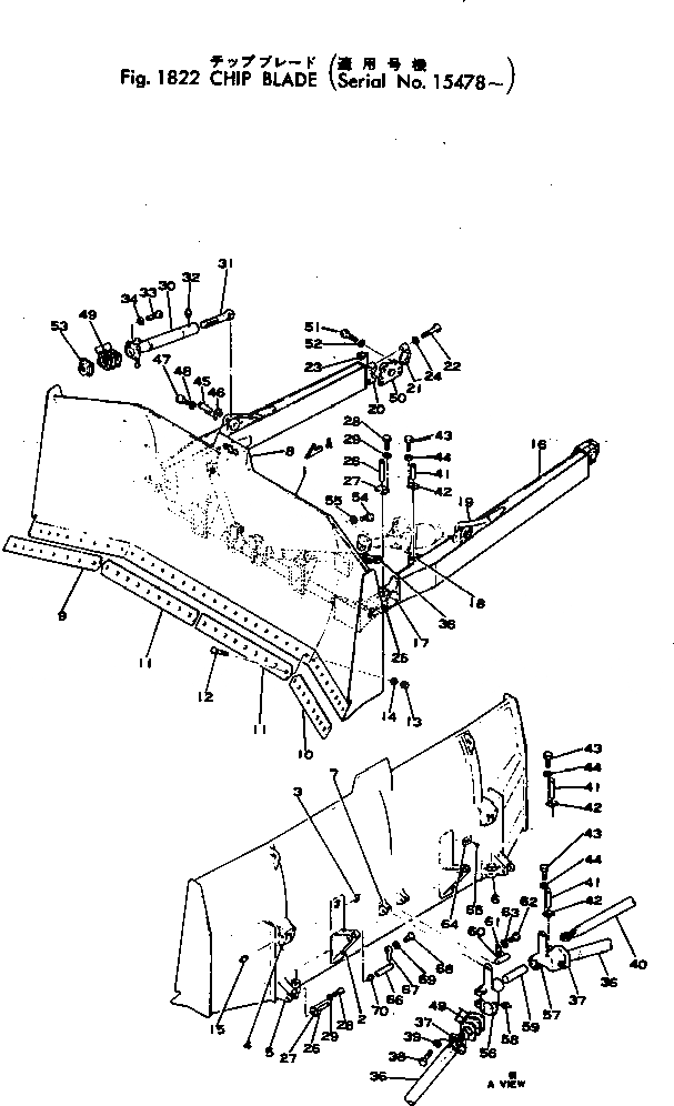
Запчасти Komatsu D80A-12 CHIP ОТВАЛ(№78-) ОПЦИОННЫЕ КОМПОНЕНТЫ

Схема запчастей Komatsu D80A-12 - CHIP ОТВАЛ(№78-) ОПЦИОННЫЕ КОМПОНЕНТЫ
FIT
1:1
100%

Артикул

Название

Примечание

Количество

|$0

154-925-0011

CHIP DOZER ASS'Y

SN: 19498-UP

1шт.

|$1

154-925-0010

CHIP DOZER ASS'Y

SN: 15478-19497

1шт.

|$2

154-925-0021

CHIP BLADE ASS'Y

SN: 19498-UP

1шт.

|$3

154-925-0020

CHIP BLADE ASS'Y

SN: 15478-19497

1шт.

1

154-925-1111

BLADE

SN: 19499-UP

1шт.

1

0

BLADE

SN: 15478-19498

1шт.

2

154-71-22160

BRACKET (WELDED)

SN: 15478-UP

2шт.

3

154-81-18531

CLAMP (WELDED)

SN: 15478-UP

2шт.

4

154-71-22140

PIVOT (WELDED)

SN: 15478-UP

2шт.

5

154-71-22120

BRACKET,L.H. (WELDED)

SN: 15478-UP

1шт.

6

154-71-22130

BRACKET,R.H. (WELDED)

SN: 15478-UP

1шт.

7

154-71-22150

BRACKET (WELDED)

SN: 15478-UP

2шт.

8

175-70-23242

MARK (WELDED)

SN: 21301-UP

1шт.

8

0

MARK

SN: 15478-21300

1шт.

9

175-905-2131

EDGE,CUTTING

SN: 15478-UP

1шт.

10

175-905-2141

EDGE,CUTTING

SN: 15478-UP

1шт.

11

175-905-2121

EDGE,CUTTING

SN: 15478-UP

2шт.

12

154-70-11140

BOLT

SN: 15478-UP

34шт.

13

01602-01957

WASHER

SN: 15478-UP

34шт.

14

02290-11219

NUT

SN: 15478-UP

34шт.

15

07020-00000

FITTING

SN: 15478-UP

2шт.

|$21

154-81-00043

FRAME ASS'Y,L.H.

SN: 15478-UP

1шт.

|$22

154-81-00033

FRAME ASS'Y,R.H.

SN: 15478-UP

1шт.

16

154-71-22210

FRAME,L.H.

SN: 15478-UP

1шт.

16

154-71-22220

FRAME,R.H.

SN: 15478-UP

1шт.

17

154-71-22230

BRACKET (WELDED)

SN: 15478-UP

1шт.

18

154-71-22240

BRACKET (WELDED)

SN: 15478-UP

1шт.

19

154-71-22250

BRACKET (WELDED)

SN: 15478-UP

1шт.

|$28

154-71-00121

COVER ASS'Y

SN: 15727-UP

1шт.

|$29

154-71-00120

COVER ASS'Y

SN: 15478-15726

1шт.

20

0

BRACKET

SN: 15727-24999

1шт.

20

0

BRACKET

SN: 15478-15726

1шт.

21

0

COVER

SN: 15727-24999

1шт.

21

0

COVER

SN: 15478-15726

1шт.

22

01011-62760

BOLT

SN: 15478-24999

2шт.

23

170-70-13141

NUT

SN: 15478-24999

2шт.

24

01602-02783

WASHER

SN: 15478-24999

2шт.

25

154-71-22260

JOINT

SN: 15478-24999

2шт.

|$38

154-81-00170

PIN ASS'Y

SN: 15478-24999

4шт.

26

154-71-22470

PIN

SN: 15478-24999

1шт.

27

175-71-21330

PLATE

SN: 15478-24999

1шт.

28

01010-31440

BOLT

SN: 15478-24999

4шт.

29

01602-01442

WASHER

SN: 15478-24999

4шт.

|$43

154-81-00053

BRACE ASS'Y

SN: 15478-24999

1шт.

30

154-71-22370

BRACE

SN: 15478-24999

1шт.

31

154-71-21530

SCREW

SN: 15478-24999

1шт.

32

07020-00000

FITTING

SN: 15478-24999

1шт.

33

01011-32410

BOLT

SN: 15478-24999

4шт.

34

01602-02472

WASHER

SN: 15478-24999

4шт.

|$49

154-81-00065

ARM ASS'Y

SN: 15478-24999

2шт.

36

154-71-22310

ARM

SN: 15478-24999

1шт.

36

154-71-22330

STUD (WELDED)

SN: 15478-24999

1шт.

36

154-72-22340

CAP

SN: 15478-24999

1шт.

36

154-71-22350

JOINT (WELDED)

SN: 15478-24999

1шт.

36

154-71-22360

JOINT (WELDED)

SN: 15478-24999

1шт.

37

154-71-22380

CAP

SN: 15478-24999

1шт.

38

01011-32420

BOLT

SN: 15478-24999

4шт.

39

01602-02472

WASHER,SPRING

SN: 15478-24999

4шт.

40

154-71-22320

ARM

SN: 15478-24999

2шт.

40

154-71-22360

JOINT (WELDED)

SN: 15478-24999

2шт.

|$60

154-81-00150

PIN ASS'Y

SN: 15478-24999

6шт.

41

154-71-22480

PIN

SN: 15478-24999

1шт.

42

154-71-22490

PLATE

SN: 15478-24999

1шт.

43

01010-31440

BOLT

SN: 15478-24999

4шт.

44

01602-01442

WASHER

SN: 15478-24999

4шт.

|$65

154-81-00072

PIN ASS'Y

SN: 15478-24999

2шт.

45

154-71-21290

PIN

SN: 15478-24999

1шт.

46

175-71-21330

PLATE

SN: 15478-24999

1шт.

47

01010-31440

BOLT

SN: 15478-24999

4шт.

48

01602-01442

WASHER

SN: 15478-24999

4шт.

49

150-71-00017

SHIM ASS'Y

SN: 15478-24999

6шт.

49

0

SHIM, 2.3MM

SN: 15478-24999

2шт.

49

0

SHIM, 1.0MM

SN: 15478-24999

4шт.

49

0

SHIM, 0.5MM

SN: 15478-24999

2шт.

|$74

154-70-00114

TRUNNION ASS'Y

SN: 15478-24999

2шт.

50

154-70-13212

TRUNNION

SN: 15478-24999

1шт.

51

01010-32245

BOLT

SN: 15478-24999

6шт.

52

01602-02268

WASHER

SN: 15478-24999

6шт.

50

154-81-00160

CAP ASS'Y

SN: 15478-24999

1шт.

53

154-71-22380

CAP

SN: 15478-24999

1шт.

54

01011-32410

BOLT

SN: 15478-24999

4шт.

55

01602-02472

WASHER

SN: 15478-24999

4шт.

56

154-71-22430

BRACKET,L.H.

SN: 15478-24999

1шт.

57

154-71-22440

BRACKET,R.H.

SN: 15478-24999

1шт.

58

07020-00000

FITTING

SN: 15478-24999

2шт.

59

154-71-22450

PIN

SN: 15478-24999

1шт.

|$86

154-81-00180

SHAFT ASS'Y

SN: 15478-24999

2шт.

60

154-71-22460

SHAFT

SN: 15478-24999

1шт.

61

04082-00509

LOCK

SN: 15478-24999

1шт.

62

01010-31420

BOLT

SN: 15478-24999

2шт.

63

01602-01442

WASHER

SN: 15478-24999

2шт.

64

09601-00835

PLATE, NAME

SN: 15478-24999

1шт.

65

04418-03060

SCREW

SN: 15478-24999

4шт.

|$93

154-81-00190

SHAFT ASS'Y

SN: 15478-24999

2шт.

66

154-71-22510

SHAFT

SN: 15478-24999

1шт.

67

195-71-11520

PIN

SN: 15478-24999

1шт.

68

01010-31435

BOLT

SN: 15478-24999

1шт.

69

01602-01442

WASHER

SN: 15478-24999

1шт.

70

07020-00000

FITTING

SN: 15478-24999

1шт.

Выбрано товаров: 99