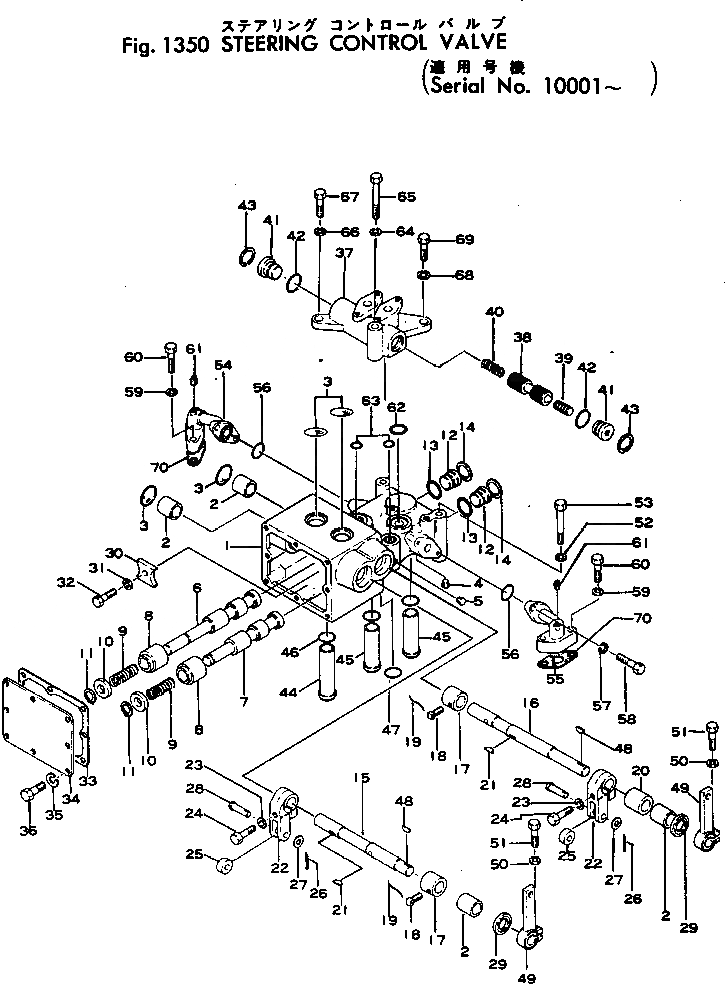
Запчасти Komatsu D80A-12 КЛАПАН УПРАВЛЕНИЯ ПОВОРОТОМ КОНЕЧНАЯ ПЕРЕДАЧА И СИСТЕМАУПРАВЛЕНИЯ ПОВОРОТОМ

Схема запчастей Komatsu D80A-12 - КЛАПАН УПРАВЛЕНИЯ ПОВОРОТОМ КОНЕЧНАЯ ПЕРЕДАЧА И СИСТЕМАУПРАВЛЕНИЯ ПОВОРОТОМ
FIT
1:1
100%

Артикул

Название

Примечание

Количество

|$0

154-21-01014

CONTROL VALVE ASS'Y

SN: 15596-UP

1шт.

|$1

154-21-01013

CONTROL VALVE ASS'Y

SN: 14660-15595

1шт.

|$2

0

CONTROL VALVE ASS'Y

SN: 10803-14659

1шт.

|$3

0

CONTROL VALVE ASS'Y

SN: 10001-10802

1шт.

|$4

154-21-01030

HOUSING ASS'Y

SN: 10001-UP

1шт.

1

0

HOUSING

SN: 10001-UP

1шт.

2

170-43-12360

BUSHING

SN: 10001-UP

4шт.

3

07046-04520

PLUG

SN: 10001-UP

4шт.

4

07043-00415

PLUG

SN: 10001-UP

1шт.

5

07043-00108

PLUG

SN: 10001-UP

1шт.

6

0

SPOOL

SN: 10001-UP

1шт.

7

0

SPOOL

SN: 10001-UP

1шт.

8

175-43-12180

BUSHING

SN: 10001-UP

2шт.

9

170-43-22240

SPRING

SN: 10001-UP

2шт.

10

175-43-12190

WASHER

SN: 10001-UP

2шт.

11

04064-02012

RING

SN: 10001-UP

2шт.

12

170-33-13530

STOPPER

SN: 10001-UP

2шт.

13

07000-03025

O-RING (KIT)

SN: 10001-UP

2шт.

14

04065-03515

RING

SN: 10001-UP

2шт.

15

154-21-15111

SHAFT

SN: 15596-UP

1шт.

15

154-21-15110

SHAFT

SN: 10001-15595

1шт.

16

154-21-15121

SHAFT

SN: 15596-UP

1шт.

16

154-21-15120

SHAFT

SN: 10001-15595

1шт.

17

170-43-12380

COLLAR

SN: 10001-UP

2шт.

18

01302-00812

SCREW

SN: 10001-UP

2шт.

19

04059-01012

WIRE

SN: 10001-UP

2шт.

20

175-43-12240

COLLAR

SN: 10001-UP

1шт.

21

04010-00522

KEY

SN: 10001-UP

2шт.

22

170-43-12321

LEVER

SN: 10001-UP

2шт.

23

01602-01236

WASHER

SN: 10001-UP

2шт.

24

01010-31250

BOLT

SN: 10001-UP

2шт.

25

170-43-12330

ROLLER

SN: 10001-UP

2шт.

26

04050-03020

PIN

SN: 10001-UP

2шт.

27

01641-21220

WASHER

SN: 10001-10802

2шт.

28

04205-01238

PIN

SN: 10001-UP

2шт.

29

07011-00025

SEAL (KIT)

SN: 10001-UP

2шт.

30

175-43-12210

PLATE

SN: 10001-UP

1шт.

31

01602-01030

WASHER

SN: 10001-UP

1шт.

32

01010-31030

BOLT

SN: 10001-UP

1шт.

33

175-43-12150

GASKET (KIT)

SN: 10001-UP

1шт.

34

175-43-12140

COVER

SN: 10001-UP

1шт.

35

01602-01030

WASHER

SN: 10001-@

8шт.

36

01010-31025

BOLT

SN: 10001-@

8шт.

|$43

154-21-01051

VALVE ASS'Y

SN: 10001-24999

1шт.

|$44

154-21-01070

HOUSING ASS'Y

SN: 10001-24999

1шт.

37

0

HOUSING

SN: 10001-24999

1шт.

38

0

VALVE

SN: 10001-24999

1шт.

39

145-14-23720

PISTON

SN: 10001-@

1шт.

40

154-21-15220

SPRING

SN: 10001-24999

1шт.

41

170-33-13530

STOPPER

SN: 10001-24999

2шт.

42

07000-03025

O-RING (KIT)

SN: 10001-24999

2шт.

43

04065-03515

RING

SN: 10001-24999

2шт.

44

170-43-12120

TUBE

SN: 10001-@

1шт.

45

175-43-12120

TUBE

SN: 10001-24999

2шт.

46

07000-03028

O-RING (KIT)

SN: 10001-24999

3шт.

47

07000-03028

O-RING (KIT)

SN: 10001-24999

2шт.

48

04010-00519

KEY

SN: 10001-@

2шт.

49

154-21-15131

LEVER

SN: 21301-24999

2шт.

49

0

LEVER

SN: 10001-21300

2шт.

50

01602-00825

WASHER

SN: 10001-@

2шт.

51

01010-30825

BOLT

SN: 14660-24999

2шт.

51

01000-30825

BOLT

SN: 10001-14659

2шт.

52

01602-01236

WASHER

SN: 10001-24999

2шт.

53

01011-31200

BOLT

SN: 10001-24999

2шт.

54

154-21-15141

TUBE

SN: 15879-24999

1шт.

54

154-21-15140

TUBE

SN: 10001-15878

1шт.

55

154-21-15161

TUBE

SN: 15879-24999

1шт.

55

154-21-15160

TUBE

SN: 10001-15878

1шт.

56

07000-03030

O-RING (KIT)

SN: 10001-24999

2шт.

57

01602-01030

WASHER

SN: 10001-@

4шт.

58

01010-31030

BOLT

SN: 10001-@

4шт.

59

01602-01030

WASHER

SN: 10001-24999

4шт.

60

01010-31045

BOLT

SN: 10001-UP

4шт.

61

07042-00108

PLUG

SN: 10001-UP

2шт.

62

07000-03028

O-RING (KIT)

SN: 10001-UP

1шт.

63

07000-03020

O-RING (KIT)

SN: 10001-UP

2шт.

64

01602-01236

WASHER

SN: 10001-UP

1шт.

65

175-43-12331

BOLT

SN: 10001-UP

1шт.

66

01602-01236

WASHER

SN: 10001-UP

1шт.

67

01011-31225

BOLT

SN: 10683-UP

1шт.

67

01011-31220

BOLT

SN: 10001-10682

1шт.

68

01602-01236

WASHER

SN: 10001-UP

2шт.

69

01010-31230

BOLT

SN: 10001-UP

2шт.

70

154-21-15190

GASKET (KIT)

SN: 10001-UP

2шт.

Выбрано товаров: 84