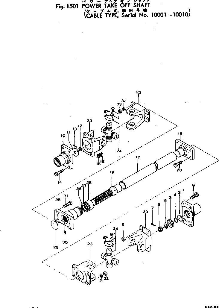
Запчасти Komatsu D80A-12 МЕХ-М ОТБОРА МОЩНОСТИ ВАЛ (КАБЕЛЬ ТИП)(№-) РАБОЧЕЕ ОБОРУДОВАНИЕ И ITS СИСТЕМА УПРАВЛЕНИЯ

Схема запчастей Komatsu D80A-12 - МЕХ-М ОТБОРА МОЩНОСТИ ВАЛ (КАБЕЛЬ ТИП)(№-) РАБОЧЕЕ ОБОРУДОВАНИЕ И ITS СИСТЕМА УПРАВЛЕНИЯ
FIT
1:1
100%

Артикул

Название

Примечание

Количество

|$0

154-65-00020

JOINT ASS'Y

SN: M10001-10010

1шт.

1

150-67-11120

JOINT

SN: M4001-10010

1шт.

2

170-65-11120

WASHER

SN: M4001-10010

1шт.

3

07000-03040

O-RING (KIT)

SN: M4001-@

1шт.

4

07000-03022

O-RING (KIT)

SN: M4001-@

1шт.

5

01640-21829

WASHER

SN: M4001-10010

1шт.

6

01511-31813

NUT

SN: M4001-10010

1шт.

7

04050-04035

PIN

SN: M4001-10010

1шт.

8

01080-01240

BOLT

SN: M4001-10010

4шт.

9

01500-31210

NUT

SN: M4001-10010

4шт.

9

01602-01236

WASHER

SN: M4001-10010

4шт.

|$11

154-65-00030

JOINT ASS'Y

SN: M10001-10010

1шт.

10

154-67-11141

JOINT

SN: M10001-10010

1шт.

11

150-67-11150

PLATE

SN: M6001-@

1шт.

12

01511-31813

NUT

SN: M6001-@

1шт.

13

04050-04035

PIN

SN: M6001-10010

1шт.

14

01080-01240

BOLT

SN: M6001-10010

4шт.

15

01602-01236

WASHER

SN: M6001-10010

4шт.

16

01500-31210

NUT

SN: M6001-10010

4шт.

|$19

154-65-00410

P.T.O. SHAFT ASS'Y

SN: M10001-10010

1шт.

|$20

154-67-11300

P.T.O. SHAFT ASS'Y

SN: M10001-10010

1шт.

17

0

PIPE

SN: M10001-10010

1шт.

18

0

COLLAR

SN: M4001-10010

1шт.

19

0

SHAFT

SN: M4001-10010

1шт.

20

01080-01240

BOLT

SN: M4001-10010

4шт.

21

01602-01236

WASHER

SN: M4001-10010

4шт.

22

01500-31210

NUT

SN: M4001-10010

4шт.

|$27

154-65-00420

UNIVERSAL JOINT A.

SN: M10001-10010

2шт.

23

154-67-11310

FLANGE

SN: M10001-10010

2шт.

24

154-65-16440

PIN

SN: M10001-10010

1шт.

|$30

150-65-00345

PTO COUPLING ASS'Y

SN: M4001-10010

1шт.

|$31

150-65-11010

PTO COUPLING ASS'Y

SN: M4001-10010

1шт.

25

0

COUPLING

SN: M4001-@

1шт.

26

170-65-11221

GASKET (KIT)

SN: M4001-10010

1шт.

27

0

RETAINER

SN: M4001-10010

1шт.

28

0

NUT

SN: M4001-@

1шт.

29

07046-06020

PLUG

SN: M4001-10010

1шт.

30

07020-00675

FITTING

SN: M4001-10010

1шт.

31

01080-01240

BOLT

SN: M4001-10010

4шт.

32

01602-01236

WASHER

SN: M4001-10010

4шт.

33

01500-31210

NUT

SN: M4001-10010

4шт.

Выбрано товаров: 41