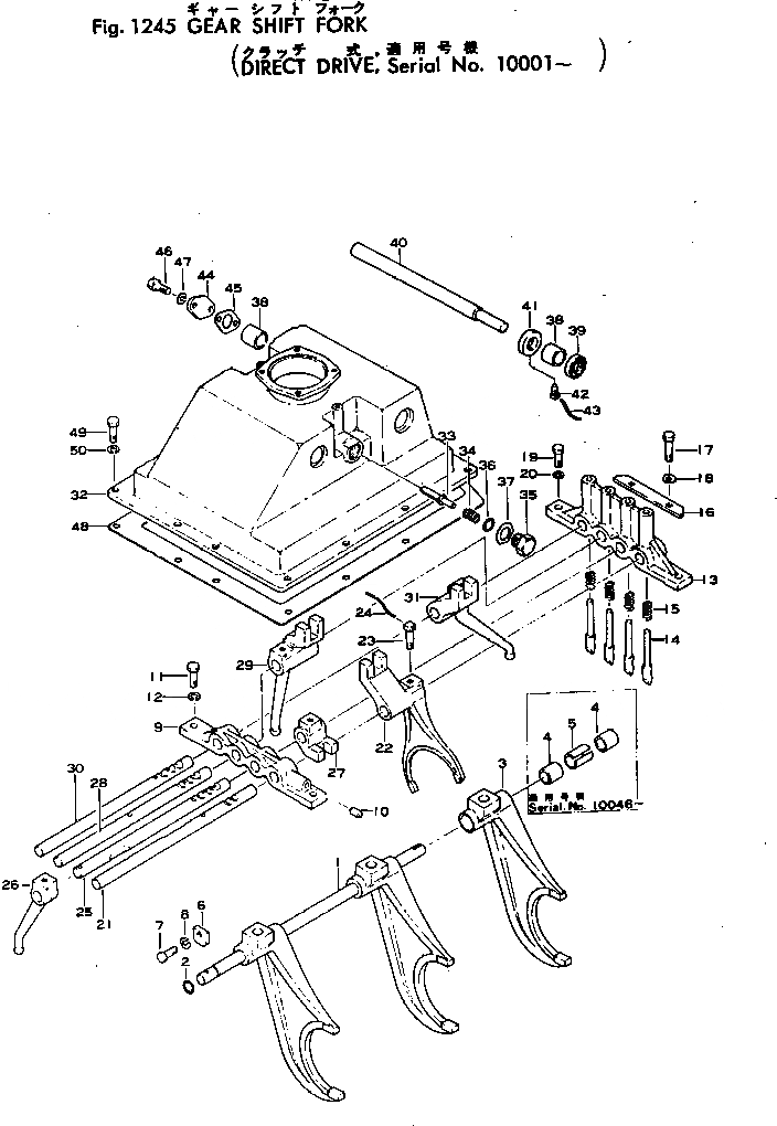
Запчасти Komatsu D80A-12 ПЕРЕКЛЮЧ-Е ПЕРЕДАЧ ВИЛЫ ОСНОВН. МУФТА¤ ГИДРОТРАНСФОРМАТОР И ТРАНСМИССИЯ

Схема запчастей Komatsu D80A-12 - ПЕРЕКЛЮЧ-Е ПЕРЕДАЧ ВИЛЫ ОСНОВН. МУФТА¤ ГИДРОТРАНСФОРМАТОР И ТРАНСМИССИЯ
FIT
1:1
100%

Артикул

Название

Примечание

Количество

|1

150-15-01004

TRANSMISSION ASS'Y

SN: 14660-24999

1шт.

|1

0

TRANSMISSION ASS'Y

SN: 14058-14659

1шт.

|1

0

TRANSMISSION ASS'Y

SN: 10011-14057

1шт.

|1

0

TRANSMISSION ASS'Y

SN: (10011-10045)

1шт.

|1

150-15-01000

TRANSMISSION ASS'Y

SN: 10001-10010

1шт.

|1

150-15-00503

FORK ASS'Y

SN: 14660-24999

1шт.

|1

150-15-00502

FORK ASS'Y

SN: 10046-14659

1шт.

|1

150-15-00501

FORK ASS'Y

SN: 10011-10045

1шт.

|1

150-15-00500

FORK ASS'Y

SN: 10001-10010

1шт.

1

150-15-13110

SHAFT

SN: 10001-24999

1шт.

2

07000-02018

O-RING (KIT)

SN: 10001-24999

1шт.

3

150-15-13100

FORK ASS'Y

SN: 10046-24999

3шт.

|3

0

FORK

SN: 10001-10045

3шт.

|3

0

FORK

SN: 10046-24999

1шт.

4

150-15-13140

BUSHING

SN: 10046-24999

2шт.

5

150-15-13150

SPACER

SN: 10046-24999

1шт.

6

150-15-13130

PLATE

SN: 10001-24999

1шт.

7

01010-31225

BOLT

SN: 10001-24999

1шт.

8

01602-01236

WASHER

SN: 10001-24999

1шт.

|9

0

LEVER ASS'Y

SN: 14660-24999

1шт.

|9

150-15-00600

LEVER ASS'Y

SN: 10001-14659

1шт.

9

170-14-13110

BRACKET

SN: 10001-24999

1шт.

10

170-14-13120

PIN

SN: 10001-24999

1шт.

11

01010-31235

BOLT

SN: 10001-24999

2шт.

12

01602-01236

WASHER

SN: 10001-24999

2шт.

13

170-14-13130

BRACKET

SN: 10001-24999

1шт.

14

170-14-13140

PLUNGER

SN: 10001-24999

4шт.

15

170-14-13150

SPRING

SN: 10001-24999

4шт.

16

170-14-13160

PLATE

SN: 10001-24999

1шт.

17

01010-30820

BOLT

SN: 14660-24999

2шт.

|17

01000-30820

BOLT

SN: 10001-14659

2шт.

18

170-14-13180

LOCK

SN: 10001-24999

2шт.

19

01010-31235

BOLT

SN: 10001-24999

2шт.

20

01602-01236

WASHER

SN: 10001-24999

2шт.

21

150-15-13210

SHAFT

SN: 10001-24999

1шт.

22

150-15-13220

FORK

SN: 10001-24999

1шт.

23

170-14-13222

SCREW

SN: 10001-24999

5шт.

24

04059-01610

WIRE

SN: 10001-24999

5шт.

25

150-15-13230

SHAFT

SN: 10001-24999

1шт.

26

150-15-13240

LEVER

SN: 10001-24999

1шт.

27

150-15-13250

BOSS

SN: 10001-24999

1шт.

28

150-15-13261

SHAFT

SN: 10011-24999

1шт.

|28

150-15-13260

SHAFT

SN: 10001-10010

1шт.

29

150-15-13271

LEVER

SN: 10011-24999

1шт.

|29

150-15-13270

LEVER

SN: 10001-10010

1шт.

30

150-15-13280

SHAFT

SN: 10001-24999

1шт.

31

150-15-13290

LEVER

SN: 10001-24999

1шт.

|32

150-15-00700

CASE ASS'Y

SN: 10001-24999

1шт.

32

150-15-13310

CASE

SN: 10001-24999

1шт.

33

170-14-12270

STOPPER

SN: 10001-24999

2шт.

34

170-14-12280

SPRING

SN: 10001-24999

2шт.

35

150-15-13320

NUT

SN: 10001-24999

2шт.

36

07000-03028

O-RING (KIT)

SN: 10001-24999

2шт.

37

150-15-13330

LOCK

SN: 10001-24999

2шт.

38

170-14-12440

BUSHING

SN: 10001-24999

2шт.

39

07012-00032

SEAL (KIT)

SN: 10001-24999

1шт.

40

150-15-13350

SHAFT

SN: 10001-24999

1шт.

41

175-14-12180

COLLAR

SN: 10001-24999

1шт.

42

01302-10612

SCREW

SN: 10001-24999

1шт.

43

04059-01020

WIRE

SN: 10001-24999

1шт.

44

150-15-13360

COVER

SN: 10001-24999

1шт.

45

150-15-13370

GASKET (KIT)

SN: 10001-24999

1шт.

46

01010-31225

BOLT

SN: 10001-24999

2шт.

47

01602-01236

WASHER

SN: 10001-24999

2шт.

48

150-15-13510

GASKET (KIT)

SN: 10001-24999

1шт.

49

01010-31230

BOLT

SN: 10001-24999

12шт.

50

01602-01236

WASHER

SN: 10001-24999

12шт.

Выбрано товаров: 67